Prosauce's profile picture. You can find me on Twitch streaming a variety of games from Pokemon to Elden Ring and everything in between.

For business, DM me or email prosauceee@gmail.com

Prosauce

@Prosauce

You can find me on Twitch streaming a variety of games from Pokemon to Elden Ring and everything in between. For business, DM me or email [email protected]

Prosauce reposted

Charmeleon is happy ~

SeviYummy's tweet image. Charmeleon is happy ~

Prosauce reposted
messedupfoods's tweet image.

Prosauce reposted

WE'RE ALMOST THERE!!!!!!!!! if you haven't pledged yet, go go go!!! PLEDGE HERE ✦ uwumarket.us/products/sailo…

sailorbeeee's tweet image. WE'RE ALMOST THERE!!!!!!!!! if you haven't pledged yet, go go go!!!

PLEDGE HERE ✦ uwumarket.us/products/sailo…

Prosauce reposted

‧ ˚ ✧ [YCH] MEOW ᓚ₍ ^. ̫ .^₎ Did you know today is Internation Cat day? Celebrate with a meow! ₍^ >⩊< ^₎Ⳋ ⟡ Any pet/animal OK! ⟡ Can transform your character into a cat! ⟡ Open for 24 hours! (will be closing tomorrow~) ✿ link below⇣


Prosauce reposted
WholesomeMeme's tweet image.

Prosauce reposted

︎ ︎ ︎ ︎

messedupfoods's tweet image. ︎ ︎ ︎ ︎

Prosauce reposted

"Say Drake"

ShaunBolen's tweet image. &quot;Say Drake&quot;

Prosauce reposted

Had to make some expenses due to vet bills, so I'm taking the chance to update some of my commission info and prices!! Retweets are HIGHLY appreciated so I can reach more homies!

DezzMalone's tweet image. Had to make some expenses due to vet bills, so I&apos;m taking the chance to update some of my commission info and prices!! 

Retweets are HIGHLY appreciated so I can reach more homies!
DezzMalone's tweet image. Had to make some expenses due to vet bills, so I&apos;m taking the chance to update some of my commission info and prices!! 

Retweets are HIGHLY appreciated so I can reach more homies!

Prosauce reposted

Trying to smile through the pain.

GFuelEnergy's tweet image. Trying to smile through the pain.

Prosauce reposted

Grand Theft Auto VI is now set to release on May 26, 2026. rockstargames.com/newswire

RockstarGames's tweet image. Grand Theft Auto VI is now set to release on May 26, 2026. 

rockstargames.com/newswire

Prosauce reposted

︎ ︎ ︎ ︎ ︎ ︎ ︎ ︎ ︎ ︎ ︎ ︎ ︎ ︎ ︎ ︎ ︎ ︎ ︎ ︎ ︎ ︎ ︎ ︎

messedupfoods's tweet image. ︎ ︎ ︎ ︎ ︎ ︎ ︎ ︎ ︎ ︎ ︎ ︎ ︎ ︎ ︎ ︎ ︎ ︎ ︎ ︎ ︎ ︎ ︎ ︎

Prosauce reposted

Still bored at work lol

DMcIntyreWWE's tweet image. Still bored at work lol

Prosauce reposted

1 month until the Nintendo Switch 2 is fully revealed.

thegameawards's tweet image. 1 month until the Nintendo Switch 2 is fully revealed.

Prosauce reposted

Kendrick Lamar's Super Bowl halftime show was the most-watched halftime show in history with 133.5M viewers

Dexerto's tweet image. Kendrick Lamar&apos;s Super Bowl halftime show was the most-watched halftime show in history with 133.5M viewers
Dexerto's tweet image. Kendrick Lamar&apos;s Super Bowl halftime show was the most-watched halftime show in history with 133.5M viewers

Prosauce reposted

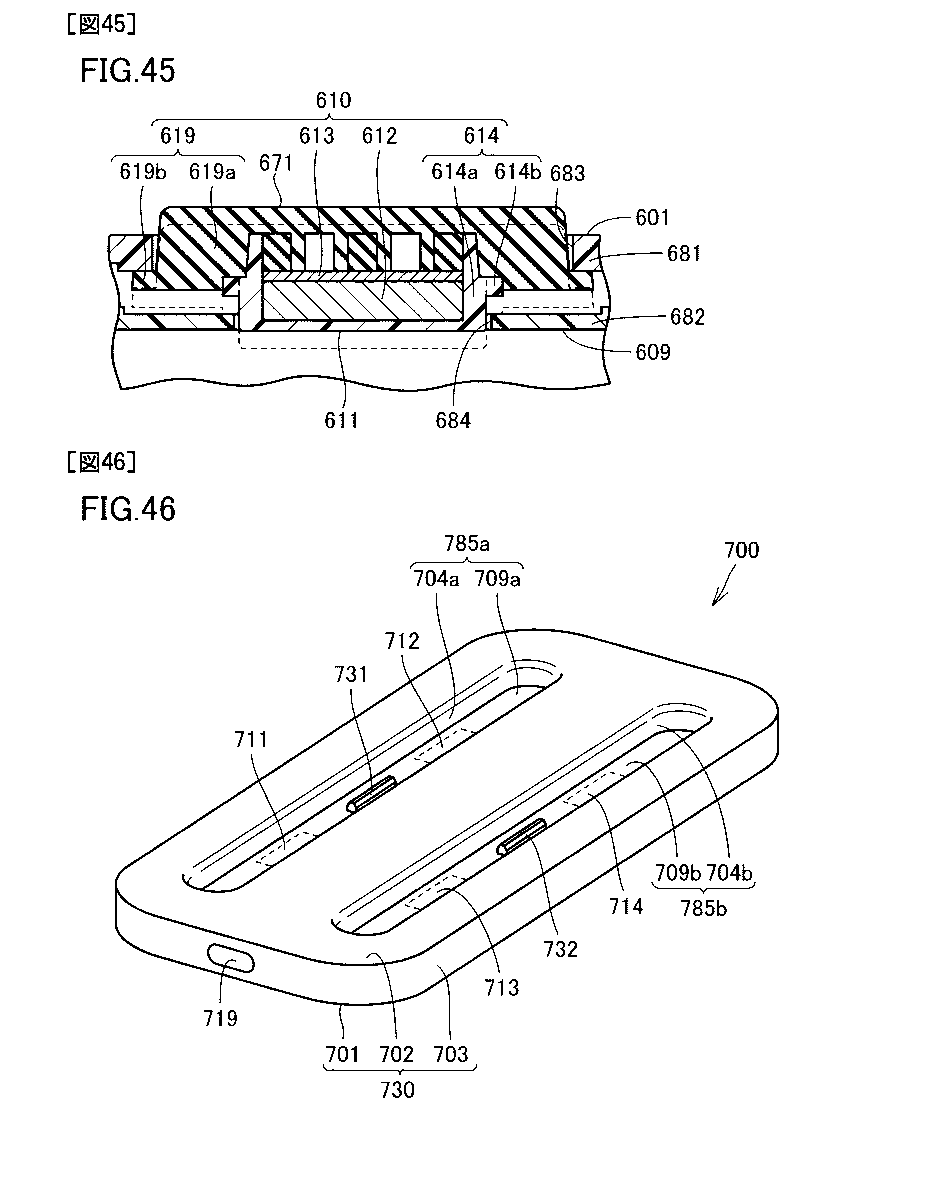
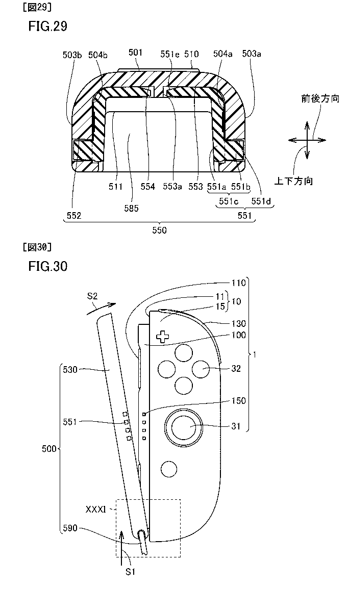
Patent reveals a look at the Switch 2 Joy-Con strap and what looks like a charging dock (more images in the link) patentscope.wipo.int/search/en/deta…

Wario64's tweet image. Patent reveals a look at the Switch 2 Joy-Con strap and what looks like a charging dock (more images in the link) patentscope.wipo.int/search/en/deta…
Wario64's tweet image. Patent reveals a look at the Switch 2 Joy-Con strap and what looks like a charging dock (more images in the link) patentscope.wipo.int/search/en/deta…
Wario64's tweet image. Patent reveals a look at the Switch 2 Joy-Con strap and what looks like a charging dock (more images in the link) patentscope.wipo.int/search/en/deta…
Wario64's tweet image. Patent reveals a look at the Switch 2 Joy-Con strap and what looks like a charging dock (more images in the link) patentscope.wipo.int/search/en/deta…

Prosauce reposted
messedupfoods's tweet image.

Prosauce reposted
WholesomeMeme's tweet image.

Prosauce reposted

one stream apart LOL #FF7Rebirth

sailorbeeee's tweet image. one stream apart LOL #FF7Rebirth

Loading...

Something went wrong.


Something went wrong.