BoostWatchFaces's profile picture. Smart. Bold. Boosted. Unique collection of customizable interactive watch faces. https://goo.gl/3kL3UK

BOOST! Watch Faces

@BoostWatchFaces

Smart. Bold. Boosted. Unique collection of customizable interactive watch faces. https://goo.gl/3kL3UK

Wow, awesome!😮

[Deal Alert] Fossil Q Gen 3 watches are as low as $150 on Amazon androidpolice.com/2018/05/06/dea…

AndroidPolice's tweet image. [Deal Alert] Fossil Q Gen 3 watches are as low as $150 on Amazon androidpolice.com/2018/05/06/dea…


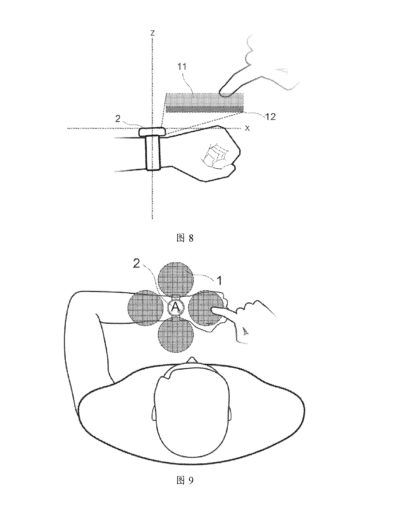
Now, this is a really incredible breakthrough in #wearables - Self-containing #projection tech, right on your wrist 😱 wareable.com/smartwatches/l…


When you don't want to spend a fortune on a #smartwatch – a short guide to help your search 😊 goo.gl/sDSZrp


That's probably the most cinematic #smartwatch ad ever 😱 And it's not even from Google. The company is literally called "#What?" 😄 youtube.com/watch?v=4agjMB…


£3700 limited edition #Hublot #smartwatch is out ⌚ Shown during #Baselworld2018, runs #WearOS, rocks 400 x 400 AMOLED display. If you're into collecting rare #watches, you may be interested. goo.gl/KBNKBf


#WearOS is now the official new name for #AndroidWear! No info on the new features yet, but here's a new loading screen, take a look 😊 Btw, there is already a list of watches getting the #AndroidOreo update - goo.gl/Q8S83A


An #AndroidP notification indicates #AndroidWear may undergo a name change to become "#WearOS"—and it could get a new logo. - goo.gl/7eeKtJ New name, new logo... new features? 🤔 Would be sweet @Google 😌


"The #Hæsh #WatchFace is like the Swiss Army knife of watch faces." - Android Police 👉 goo.gl/Ghf3fv Hæsh makes it back into the limelight again! 😍 + Awesome lineup of 20 other great #watchfaces for @AndroidWear👍


Controlling your #smartwatch with gestures in the air? 😯 Now we only need #holograms, then it will be truly #futuristic 😅 Way to go, @Huawei! - goo.gl/RDmzeu

BoostWatchFaces's tweet image. Controlling your #smartwatch with gestures in the air? 😯
Now we only need #holograms, then it will be truly #futuristic 😅

Way to go, @Huawei! - goo.gl/RDmzeu

#Snapdragon Wear 2100 chip is already 2 years old! 😕 Is #Qualcomm really "directly preventing the #AndroidWear ecosystem from growing and maturing"? 🤔 ⭐Read more in the article: goo.gl/QzTaWC


Indeed, #AndroidWear is not getting much love from #Google lately. Seems like it's kinda a side project now, and this article tries to explain why 🤔 Do you think it's a balanced view on the subject? - goo.gl/qC338s

BoostWatchFaces's tweet image. Indeed, #AndroidWear is not getting much love from #Google lately. Seems like it's kinda a side project now, and this article tries to explain why 🤔

Do you think it's a balanced view on the subject? - goo.gl/qC338s

"Can you find out the current #Bitcoin price in 3 seconds?" 🤔 A popular website on #cryptocurrencies, #KryptoMoney, writes about #Hæsh, our new modular #watchface and world's first to provide full-fledged cryptocurrency tracking 🙂 🚀 Read more here: goo.gl/v1o9Fy

BoostWatchFaces's tweet image. "Can you find out the current #Bitcoin price in 3 seconds?" 🤔

A popular website on #cryptocurrencies, #KryptoMoney, writes about #Hæsh, our new modular #watchface and world's first to provide full-fledged cryptocurrency tracking 🙂

🚀 Read more here: goo.gl/v1o9Fy

Look what we have just stumbled upon! 😯 That's the most unusual and weird #smartwatch... probably ever 😄 And you can even put your own #AppleWatch / #Moto / #SamsungGear or #LGWatch in it. Just watch it, this is simply incredible 😂 - goo.gl/Dw1HsG

BoostWatchFaces's tweet image. Look what we have just stumbled upon! 😯
That's the most unusual and weird #smartwatch... probably ever 😄

And you can even put your own #AppleWatch / #Moto / #SamsungGear or #LGWatch in it.

Just watch it, this is simply incredible 😂 -  goo.gl/Dw1HsG

#AndroidWear finally gets an all-dark theme! 😍 And it just so happens that we also got a #HuaweiWatch2 last week, so we'r looking forward to the 2.8 update ourselves🤩 Btw, Huawei Watch 2 is a very decent smartwatch. Check our review of it here - goo.gl/sSu2rF

BoostWatchFaces's tweet image. #AndroidWear finally gets an all-dark theme! 😍
And it just so happens that we also got a #HuaweiWatch2 last week, so we'r looking forward to the 2.8 update ourselves🤩

Btw, Huawei Watch 2 is a very decent smartwatch. Check our review of it here - goo.gl/sSu2rF

🚀Shout-out to all of the bloggers from our beloved #wearables community! Ready to meet the first modular watch face with #cryptocurrency tracking? Our brand new #Hæsh watch face is here, get it for free! - goo.gl/V6uHM4 Let us know if you're interested 😉

BoostWatchFaces's tweet image. 🚀Shout-out to all of the bloggers from our beloved #wearables community! Ready to meet the first modular watch face with #cryptocurrency tracking? Our brand new #Hæsh watch face is here, get it for free! - goo.gl/V6uHM4 
Let us know if you're interested 😉

#BlackFriday #Sale! All of our holiday watch faces for $0.99 each!🤩 #HolidaySpirit, Happy #NewYear and Spin the Bottle are now available with a 50% discount. Get your #smartwatch ready for the season 😉 Enter here - boostwatch.style/black-friday-2…

BoostWatchFaces's tweet image. #BlackFriday #Sale! All of our holiday watch faces for $0.99 each!🤩

#HolidaySpirit, Happy #NewYear and Spin the Bottle are now available with a 50% discount. Get your #smartwatch ready for the season 😉

Enter here - boostwatch.style/black-friday-2…

Loading...

Something went wrong.


Something went wrong.