You might like
The Vital Role of High-Quality Patent Drawings in Intellectual Property Protection inventiapatent.com/2024/03/13/hig…
inventiapatent.com
The Vital Role of High-Quality Patent Drawings in Intellectual Property Protection - Inventia...
In the world of innovation and intellectual property, securing a patent is often the culmination of years of hard work, research, and development. However,
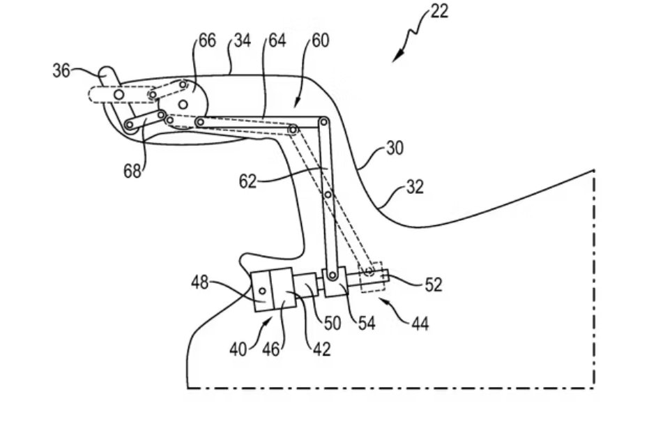
992 GT3 RS DRS patent. The active aero rear spoiler mechanism is a work of art.
2015 911 GT3 RS Rumored To Lap Ring' In 7:20 | TeamSpeed teamspeed.com/articles/2015-…
teamspeed.com
2015 911 GT3 RS Rumored To Lap Ring' In 7:20 - TeamSpeed
The web is abuzz with reports (or shall we say rumors) this week that the soon to be revealed Porsche 911 GT3 RS has clocked in a 7 minute...
All smiles. You don't need a 650 HP 500k rally car to have a blast. youtube.com/watch?v=euUqs3… fb.me/1ZuTKoUfn
youtube.com
YouTube
ken block & ford escort mk2 drift
Aircraft grade alloy yoyo, with full with a full ball bearing hub. As innovative and cool as a yoyo can get!... fb.me/U4DFTdBF
United States Trends
- 1. Sesko N/A
- 2. West Ham N/A
- 3. Amad N/A
- 4. Leeds N/A
- 5. Palmer N/A
- 6. Alaska N/A
- 7. Carrick N/A
- 8. Caicedo N/A
- 9. Real ID N/A
- 10. #WHUMUN N/A
- 11. Manchester United N/A
- 12. LAILA EDWARDS N/A
- 13. Courtney Love N/A
- 14. Man U N/A
- 15. Murkowski N/A
- 16. Nancy Guthrie N/A
- 17. Thomas Frank N/A
- 18. Dalot N/A
- 19. $HOOD N/A
- 20. Baby Keem N/A
You might like
Something went wrong.
Something went wrong.