ShlapAngry's profile picture. 21, Male, Aroace, & Furry Artist;
FX maker for @ChapterRewrite;
Has Mew/Gieeg brainrot;
Is Libertarian;
Pedos, Proship, Zoos DNI.
pfp by @Wizenheimer3

@wobbachu.bsky.social (Migration Phase)

@ShlapAngry

21, Male, Aroace, & Furry Artist; FX maker for @ChapterRewrite; Has Mew/Gieeg brainrot; Is Libertarian; Pedos, Proship, Zoos DNI. pfp by @Wizenheimer3

Pinned

I will no longer be accepting DMs from Twitter. Of course, since there are some platforms that choose to not have DMs, or don't have them yet... Here are my off-site DMs, so you can keep in touch with me! 🧵(1/2) Signal (preferred): signal.me/#eu/XRgf+/Smbz…


@wobbachu.bsky.social (Migration Phase) reposted

docs.google.com/document/d/1oS… this is the most in depth source i can find, seems to be getting actively updated


@wobbachu.bsky.social (Migration Phase) reposted

Now is a good time to donate to Godot <fund.godotengine.org>

SteinMakesGames's tweet image. Now is a good time to donate to Godot
&amp;lt;fund.godotengine.org&amp;gt;

"Go woke, go broke" in terms of actual numbers #Godot #Wokot #GodotEngine

SteinMakesGames's tweet image. &quot;Go woke, go broke&quot; in terms of actual numbers
#Godot #Wokot #GodotEngine


Notch not being a bigoted person challenge (instantly failed)

They actually godoubled down? That's not godood. Write your own engine. It'll make the game feel more unique, and you will have all the control. It's not that difficult. If you can make a game, you can make an engine.



@wobbachu.bsky.social (Migration Phase) reposted

oh my god. guys. general guideline: COPYRIGHTS cover WORKS PATENTS cover CONCEPTS these are NOT THE SAME THING


@wobbachu.bsky.social (Migration Phase) reposted

Nintendo fan justifying and defending Nintendo’s Patent Lawsuit against Palworld be like

GiveMeBanHammer's tweet image. Nintendo fan justifying and defending  Nintendo’s Patent Lawsuit against Palworld be like

@wobbachu.bsky.social (Migration Phase) reposted

Anyone else kinda scared that Nintendo is suing over GAME MECHANICS and not designs? Like... This sets a bad precedent, no?

Nintendo w/ The Pokemon Company have filed a patent infringement lawsuit in the Tokyo District Court against Pocketpair Inc. This lawsuit seeks an injunction against infringement and compensation for damages on the grounds that Palworld, a game developed and released by the…

Wario64's tweet image. Nintendo w/ The Pokemon Company have filed a patent infringement lawsuit in the Tokyo District Court against Pocketpair Inc.

This lawsuit seeks an injunction against infringement and compensation for damages on the grounds that Palworld, a game developed and released by the…


@wobbachu.bsky.social (Migration Phase) reposted

Regardless of how you feel about Palworld, this lawsuit is going to be one of the most important lawsuits in gaming. If someone like Nintendo can come in to claim that Palworld committed patent infringement with no basis, that means they can go after any other pocket monster…

Regarding the Lawsuit Yesterday, a lawsuit was filed against our company for patent infringement. We have received notice of this lawsuit and will begin the appropriate legal proceedings and investigations into the claims of patent infringement. At this moment, we are unaware…



@wobbachu.bsky.social (Migration Phase) reposted

This is exactly why I hate the practice of patenting mechanics in games. Truly absurd to read through this considering how many games use these methods.

Regarding the Lawsuit Yesterday, a lawsuit was filed against our company for patent infringement. We have received notice of this lawsuit and will begin the appropriate legal proceedings and investigations into the claims of patent infringement. At this moment, we are unaware…



@wobbachu.bsky.social (Migration Phase) reposted

“We are unaware of the specific patents we are accused of infringing”: Pocketpair responds to Pokémon lawsuit 🔗: videogamer.com/news/pocketpai…


@wobbachu.bsky.social (Migration Phase) reposted

Palworld developer Pocketpair says it will fight Nintendo's lawsuit to ensure that indie game developers are not hindered or discouraged from pursuing their creative ideas". vgc.news/news/palworld-…

VGC_News's tweet image. Palworld developer Pocketpair says it will fight Nintendo&apos;s lawsuit to ensure that indie game developers are not hindered or discouraged from pursuing their creative ideas&quot;.

vgc.news/news/palworld-…

@wobbachu.bsky.social (Migration Phase) reposted

Just a heads up, we're about to see some absolutely dog shit takes from the worst bootlickers out there. To clarify, patent infringement is not the same as copyright - this would allege that palworld somehow stole patented game mechanics. (They didn't.)

Nintendo and The Pokémon Company have filed suit against the creators of Palworld claiming patent infringement. Nintendo Release: nintendo.co.jp/corporate/rele…

geoffkeighley's tweet image. Nintendo and The Pokémon Company have filed suit against the creators of Palworld claiming patent infringement. 

Nintendo Release: nintendo.co.jp/corporate/rele…


@wobbachu.bsky.social (Migration Phase) reposted

For people crying that Nintendo copied Pokemon's designs. It's not about the designs (which btw Pokemon has been ripping off from others for years anyway). The abuse of patents for game mechanics has wide reaching consequences for all gaming. If you support Nintendo here…

If you're wondering why Nintendo are suing Pocketpair for "patent infringement" and not copyright, this is in interesting snippet from Bloomberg: #Palworld

Jenbox360's tweet image. If you&apos;re wondering why Nintendo are suing Pocketpair for &quot;patent infringement&quot; and not copyright, this is in interesting snippet from Bloomberg:

#Palworld


@wobbachu.bsky.social (Migration Phase) reposted

Nintendo is not trying to "protect the Pokémon IP" by suing Palworld, they are merely trying to shut down competitors via patent trolling and abuse

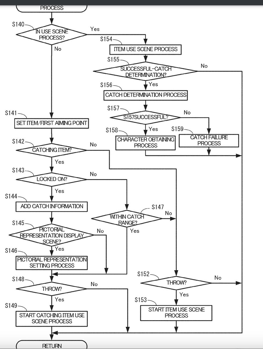
If I'm reading this correctly, here is a Nintendo patent from 2021 for a video game character throwing an item to catch a monster while out in the field ppubs.uspto.gov/dirsearch-publ…

stephentotilo's tweet image. If I&apos;m reading this correctly, here is a Nintendo patent from 2021 for a video game character throwing an item to catch a monster while out in the field ppubs.uspto.gov/dirsearch-publ…
stephentotilo's tweet image. If I&apos;m reading this correctly, here is a Nintendo patent from 2021 for a video game character throwing an item to catch a monster while out in the field ppubs.uspto.gov/dirsearch-publ…
stephentotilo's tweet image. If I&apos;m reading this correctly, here is a Nintendo patent from 2021 for a video game character throwing an item to catch a monster while out in the field ppubs.uspto.gov/dirsearch-publ…
stephentotilo's tweet image. If I&apos;m reading this correctly, here is a Nintendo patent from 2021 for a video game character throwing an item to catch a monster while out in the field ppubs.uspto.gov/dirsearch-publ…


Loading...

Something went wrong.


Something went wrong.