aaditya_prakash's profile picture. Foundation Models for drug discovery. Staff Machine Learning Scientist at Spring Science (ex: PathAI, Philips Research, Microsoft Research). PhD ML.

Aaditya 'Adi' Prakash

@aaditya_prakash

Foundation Models for drug discovery. Staff Machine Learning Scientist at Spring Science (ex: PathAI, Philips Research, Microsoft Research). PhD ML.

Fijado

We are releasing a benchmarking dataset that will enable better representation learning for high-content imaging. We also show the impact of various normalization on embeddings.

We are releasing the Spring Inflammasome Benchmark Dataset, along with our poster at #SLAS2023! github.com/spring-discove… Details in thread

francesco_rubbo's tweet image. We are releasing the Spring Inflammasome Benchmark Dataset, along with our poster at #SLAS2023!
github.com/spring-discove…

Details in thread


I am always amazed with the inference speed of @GroqInc . Given Kimi K2 is a super big model, the results come almost instantaneously. 👏

*YOLO Launch* Kimi K2 is now in preview on GroqCloud at 185 tokens/sec. Build fast. Link in comments.



Aaditya 'Adi' Prakash reposteó

As many of you know, over the past few months I have been sharing Prompt Engineering resources in different forms. I have now compiled them all into a cohesive publication and uploaded to arxiv: arxiv.org/abs/2401.14423

xamat's tweet image. As many of you know, over the past few months I have been sharing Prompt Engineering resources in different forms. I have now compiled them all into a cohesive publication and uploaded to arxiv: arxiv.org/abs/2401.14423

Aaditya 'Adi' Prakash reposteó

This is just wild! Nov 9: @wtgowers, Green, Manners, and Tao prove the polynomial Freiman-Ruzsa conjecture in char 2. arxiv.org/abs/2311.05762 Nov 18: Tao announces that he wants to formalize it in Lean, building on Mathlib. terrytao.wordpress.com/2023/11/18/for… Dec 4: One little theorem…

AlexKontorovich's tweet image. This is just wild!

Nov 9: @wtgowers, Green, Manners, and Tao prove the polynomial Freiman-Ruzsa conjecture in char 2. arxiv.org/abs/2311.05762

Nov 18: Tao announces that he wants to formalize it in Lean, building on Mathlib. terrytao.wordpress.com/2023/11/18/for…

Dec 4: One little theorem…

Evaluation of #llava. Seems very poor - I think it might not be trained well enough. #LLM

aaditya_prakash's tweet image. Evaluation of #llava. Seems very poor - I think it might not be trained well enough. #LLM
aaditya_prakash's tweet image. Evaluation of #llava. Seems very poor - I think it might not be trained well enough. #LLM

Aaditya 'Adi' Prakash reposteó

Come get live, 1:1 demos of AI software that gives scientists superpowers @ #SLAS2023, and also check out our posters: springdiscovery.com/slas Learn all about using AI to go beyond traditional image analysis, check out our new public benchmark dataset, and more...


If you want to explore an amazing Cell Painting dataset - JUMP-CP : 3M images, 75M single-cells, 5 channels, 306 compounds, and 6 genetic perturbations (ORF & CRISPR). Any feedback is welcome.

Yep! Cell Painting fits the bill. You can grab images from here springdiscovery.com/jump-cp though generally if people are looking for random markers cellimagelibrary.org



Aaditya 'Adi' Prakash reposteó

Stop using the elbow criterion for k-means and how to choose the number of clusters instead. (arXiv:2212.12189v1 [stat.ML]) ift.tt/TJaIE2X


Aaditya 'Adi' Prakash reposteó

#SABCS22 | Poster | Prognostic & Predictive Factors Quantitative analysis of fiber-level collagen features in H&E whole-slide images predicts neoadjuvant therapy response in patients with HER2+ #breastcancer @EMittendorfMD @aaditya_prakash @BusemBKurt @SchnittStuart @stolaney1

DFCI_BreastOnc's tweet image. #SABCS22 | Poster | Prognostic & Predictive Factors
Quantitative analysis of fiber-level collagen features in H&E whole-slide images predicts neoadjuvant therapy response in patients with HER2+ #breastcancer
@EMittendorfMD @aaditya_prakash @BusemBKurt @SchnittStuart @stolaney1

Aaditya 'Adi' Prakash reposteó

Visual introduction to optimal transport. My first Manim video (best seen in full screen)! Special thanks to @gabrielpeyre for his suggestions.


Our awesome Lead Scientist - Rachel Jacobson, explains how we use machine learning to harness the complexities of inflammasome biology for novel drug discovery youtube.com/watch?v=7LN4mT…

aaditya_prakash's tweet card. Using machine learning to harness the complexities of inflammasome...

youtube.com

YouTube

Using machine learning to harness the complexities of inflammasome...


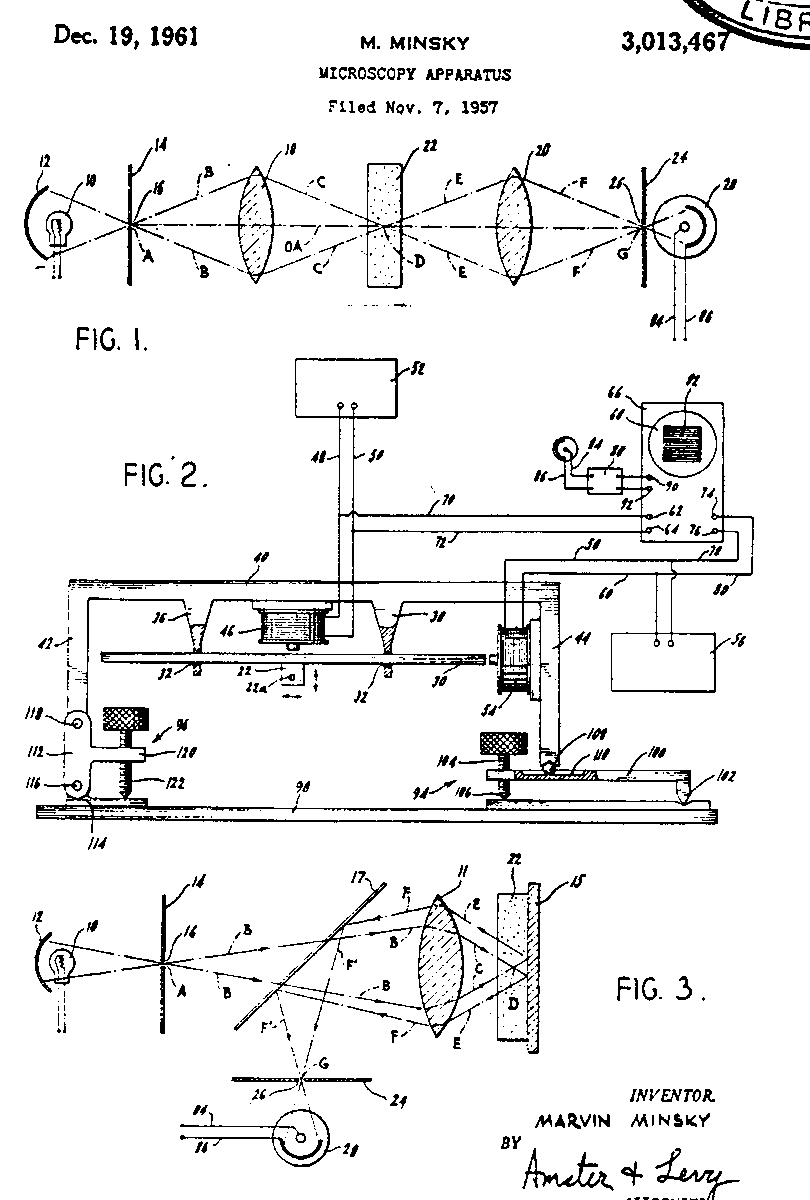
The inventor of Confocal Microscopy is none other than Marvin Minsky, inventor of Artificial Intelligence web.media.mit.edu/~minsky/papers…

aaditya_prakash's tweet image. The inventor of Confocal Microscopy is none other than Marvin Minsky, inventor of Artificial Intelligence
web.media.mit.edu/~minsky/papers…

Today I learned that there is a board that certified medical illustrators. You can find some of the awesome illustrations (including the famous Coronavirus image) here: ami.org/medical-illust…


Interpretability of Machine Learning in Medicine is very important. However, Multiple Instance Learning (used with large images like Pathology) is not interpretable. We propose Additive MIL (similar to SHAP), which solves this problem: arxiv.org/abs/2206.01794 Feedbacks welcome.

Yep! Cell Painting fits the bill. You can grab images from here springdiscovery.com/jump-cp though generally if people are looking for random markers cellimagelibrary.org



Loading...

Something went wrong.


Something went wrong.