interactbv's profile picture.

IN-TER-ACT

@interactbv

You might like

Take a look at this project

Glad to announce the collaborations.More partners, stronger community. @gcashofficial @1inch

playbuxco's tweet image. Glad to announce the collaborations.More partners, stronger community. @gcashofficial @1inch


Join the Playbux Prototype

Join the new prototype test quest. You'll get a reward for being a pioneer and get exclusive NFTs. Register for the airdrop event at playbux.co/quest. #airdropevent #BinanceLabs #binance #bnbchain #Playbux #Shoptoearn #Metaverse #NFTs #NFTsDROP

playbuxco's tweet image. Join the new prototype test quest. You'll get a reward for being a pioneer and get exclusive NFTs.

Register for the airdrop event at playbux.co/quest.

#airdropevent
#BinanceLabs #binance
#bnbchain #Playbux 
#Shoptoearn #Metaverse 
#NFTs #NFTsDROP


Best extruder ever!!

#Giveaway time! Retweet for a chance to win a Bondtech drive gear kit! Closes 16 jan! #3Dprinting #Bondtech #Extruder

BondtechAB's tweet image. #Giveaway time! Retweet for a chance to win a Bondtech drive gear kit!

Closes 16 jan!

#3Dprinting #Bondtech #Extruder


IN-TER-ACT reposted

I love this machine. Could watch it forever.


IN-TER-ACT reposted

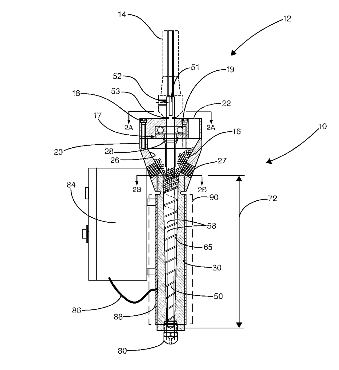
New micro extruder concept replaces filament in 3D printing, improving cost effectiveness. goo.gl/FeiBgB #3Dprinting

DougSmock71's tweet image. New micro extruder concept replaces filament in 3D printing, improving cost effectiveness.  goo.gl/FeiBgB #3Dprinting

Op de #RapidPro17 hebben wij onze pellet driven 3D printer gepresenteerd! Bekijk de foto's

interactbv's tweet image. Op de #RapidPro17 hebben wij onze pellet  driven 3D printer gepresenteerd!
Bekijk de foto's
interactbv's tweet image. Op de #RapidPro17 hebben wij onze pellet  driven 3D printer gepresenteerd!
Bekijk de foto's

A new 3D printer. With Eding cnc control software

interactbv's tweet image. A new 3D printer. With Eding cnc control software

Wij zijn op zoek naar een ervaren collega leerplichtconsulent die ons team tijdelijk (een jaar) komt versterken. Heb…lnkd.in/ekzDH-4


Thank you for the follow @shaperjet


Eerste echte print. 450 mm * 90 mm * 450 mm

interactbv's tweet image. Eerste echte print. 450 mm * 90 mm * 450 mm

3D printing on a Bridgeport mill

interactbv's tweet image. 3D printing on a Bridgeport mill

hi followers... alles ok daar?


Oh ik zie dat ik ook vanaf mijn iPhone kan twitteren.


@jlcdebeerTwitter jij vanaf je blackberry?


Loading...

Something went wrong.


Something went wrong.