#displaydevice search results

New patent application #US20250151483A1 by #LGDisplay reveals an innovative #DisplayDevice. It features a substrate with light-emitting elements in transfer areas, and a black matrix with transmissive holes of varying sizes. This design optimizes light emission and display…

PatentPulse's tweet image. New patent application #US20250151483A1 by #LGDisplay reveals an innovative #DisplayDevice. 

It features a substrate with light-emitting elements in transfer areas, and a black matrix with transmissive holes of varying sizes. 

This design optimizes light emission and display…
PatentPulse's tweet image. New patent application #US20250151483A1 by #LGDisplay reveals an innovative #DisplayDevice. 

It features a substrate with light-emitting elements in transfer areas, and a black matrix with transmissive holes of varying sizes. 

This design optimizes light emission and display…
PatentPulse's tweet image. New patent application #US20250151483A1 by #LGDisplay reveals an innovative #DisplayDevice. 

It features a substrate with light-emitting elements in transfer areas, and a black matrix with transmissive holes of varying sizes. 

This design optimizes light emission and display…
PatentPulse's tweet image. New patent application #US20250151483A1 by #LGDisplay reveals an innovative #DisplayDevice. 

It features a substrate with light-emitting elements in transfer areas, and a black matrix with transmissive holes of varying sizes. 

This design optimizes light emission and display…

New patent application #US20250148992A1 from #SamsungDisplay reveals a cutting-edge #DisplayDevice and fabrication method for head-mounted displays. It features a semiconductor substrate, light-emitting elements, and a lens array with convex lenses for enhanced visuals.…

PatentPulse's tweet image. New patent application #US20250148992A1 from #SamsungDisplay reveals a cutting-edge #DisplayDevice and fabrication method for head-mounted displays. 

It features a semiconductor substrate, light-emitting elements, and a lens array with convex lenses for enhanced visuals.…
PatentPulse's tweet image. New patent application #US20250148992A1 from #SamsungDisplay reveals a cutting-edge #DisplayDevice and fabrication method for head-mounted displays. 

It features a semiconductor substrate, light-emitting elements, and a lens array with convex lenses for enhanced visuals.…
PatentPulse's tweet image. New patent application #US20250148992A1 from #SamsungDisplay reveals a cutting-edge #DisplayDevice and fabrication method for head-mounted displays. 

It features a semiconductor substrate, light-emitting elements, and a lens array with convex lenses for enhanced visuals.…

#Samsung Display's patent appl. #US20240310952A1 reveals a #DisplayDevice with unit pixels combining display & light sensing pixels. Features include touch electrodes for fingerprint sensing & open areas for improved touch response. #SamsungDisplay $SSNLF #TechPatent #Innovation

PatentPulse's tweet image. #Samsung Display's patent appl. #US20240310952A1 reveals a #DisplayDevice with unit pixels combining display & light sensing pixels. Features include touch electrodes for fingerprint sensing & open areas for improved touch response. #SamsungDisplay $SSNLF #TechPatent #Innovation
PatentPulse's tweet image. #Samsung Display's patent appl. #US20240310952A1 reveals a #DisplayDevice with unit pixels combining display & light sensing pixels. Features include touch electrodes for fingerprint sensing & open areas for improved touch response. #SamsungDisplay $SSNLF #TechPatent #Innovation
PatentPulse's tweet image. #Samsung Display's patent appl. #US20240310952A1 reveals a #DisplayDevice with unit pixels combining display & light sensing pixels. Features include touch electrodes for fingerprint sensing & open areas for improved touch response. #SamsungDisplay $SSNLF #TechPatent #Innovation
PatentPulse's tweet image. #Samsung Display's patent appl. #US20240310952A1 reveals a #DisplayDevice with unit pixels combining display & light sensing pixels. Features include touch electrodes for fingerprint sensing & open areas for improved touch response. #SamsungDisplay $SSNLF #TechPatent #Innovation

New patent appl. #US20240358257A1 by #SamsungDisplay reveals a #DisplayDevice with integrated light sensing pixels for real-time biometric data collection and user guidance. A step forward in #BiometricTech! #Innovation $SSNLF #PatentApplication

PatentPulse's tweet image. New patent appl. #US20240358257A1 by #SamsungDisplay reveals a #DisplayDevice with integrated light sensing pixels for real-time biometric data collection and user guidance. A step forward in #BiometricTech! #Innovation $SSNLF #PatentApplication
PatentPulse's tweet image. New patent appl. #US20240358257A1 by #SamsungDisplay reveals a #DisplayDevice with integrated light sensing pixels for real-time biometric data collection and user guidance. A step forward in #BiometricTech! #Innovation $SSNLF #PatentApplication
PatentPulse's tweet image. New patent appl. #US20240358257A1 by #SamsungDisplay reveals a #DisplayDevice with integrated light sensing pixels for real-time biometric data collection and user guidance. A step forward in #BiometricTech! #Innovation $SSNLF #PatentApplication
PatentPulse's tweet image. New patent appl. #US20240358257A1 by #SamsungDisplay reveals a #DisplayDevice with integrated light sensing pixels for real-time biometric data collection and user guidance. A step forward in #BiometricTech! #Innovation $SSNLF #PatentApplication

New patent appl. #US20240358330A1 by #SamsungDisplay reveals a #DisplayDevice with integrated #LightSensing pixels. It measures biometric info using pulse wave signals for high accuracy. Innovative tech for enhanced user interaction! $SSNLF #PatentApplication #BiometricTech

PatentPulse's tweet image. New patent appl. #US20240358330A1 by #SamsungDisplay reveals a #DisplayDevice with integrated #LightSensing pixels. It measures biometric info using pulse wave signals for high accuracy. Innovative tech for enhanced user interaction! $SSNLF #PatentApplication #BiometricTech
PatentPulse's tweet image. New patent appl. #US20240358330A1 by #SamsungDisplay reveals a #DisplayDevice with integrated #LightSensing pixels. It measures biometric info using pulse wave signals for high accuracy. Innovative tech for enhanced user interaction! $SSNLF #PatentApplication #BiometricTech
PatentPulse's tweet image. New patent appl. #US20240358330A1 by #SamsungDisplay reveals a #DisplayDevice with integrated #LightSensing pixels. It measures biometric info using pulse wave signals for high accuracy. Innovative tech for enhanced user interaction! $SSNLF #PatentApplication #BiometricTech
PatentPulse's tweet image. New patent appl. #US20240358330A1 by #SamsungDisplay reveals a #DisplayDevice with integrated #LightSensing pixels. It measures biometric info using pulse wave signals for high accuracy. Innovative tech for enhanced user interaction! $SSNLF #PatentApplication #BiometricTech

#Samsung's latest patent application #US20240370122A1 unveils a #DisplayDevice with integrated #LightSensing pixels. It measures biometric data from touch points, guiding users via an app screen. A step forward in #BiometricTech! #SamsungDisplay $SSNLF #PatentApplication

PatentPulse's tweet image. #Samsung's latest patent application #US20240370122A1 unveils a #DisplayDevice with integrated #LightSensing pixels. It measures biometric data from touch points, guiding users via an app screen. A step forward in #BiometricTech! #SamsungDisplay $SSNLF #PatentApplication
PatentPulse's tweet image. #Samsung's latest patent application #US20240370122A1 unveils a #DisplayDevice with integrated #LightSensing pixels. It measures biometric data from touch points, guiding users via an app screen. A step forward in #BiometricTech! #SamsungDisplay $SSNLF #PatentApplication
PatentPulse's tweet image. #Samsung's latest patent application #US20240370122A1 unveils a #DisplayDevice with integrated #LightSensing pixels. It measures biometric data from touch points, guiding users via an app screen. A step forward in #BiometricTech! #SamsungDisplay $SSNLF #PatentApplication
PatentPulse's tweet image. #Samsung's latest patent application #US20240370122A1 unveils a #DisplayDevice with integrated #LightSensing pixels. It measures biometric data from touch points, guiding users via an app screen. A step forward in #BiometricTech! #SamsungDisplay $SSNLF #PatentApplication

📢 New patent application alert! #US20250245943A1 by #Samsung unveils a #DisplayDevice with advanced #AugmentedReality capabilities. Key features: - Integrates a camera, communication interface, and processor - Captures images, identifies devices/users, and displays AR avatars…

PatentPulse's tweet image. 📢 New patent application alert! #US20250245943A1 by #Samsung unveils a #DisplayDevice with advanced #AugmentedReality capabilities. 

Key features:
- Integrates a camera, communication interface, and processor
- Captures images, identifies devices/users, and displays AR avatars…
PatentPulse's tweet image. 📢 New patent application alert! #US20250245943A1 by #Samsung unveils a #DisplayDevice with advanced #AugmentedReality capabilities. 

Key features:
- Integrates a camera, communication interface, and processor
- Captures images, identifies devices/users, and displays AR avatars…
PatentPulse's tweet image. 📢 New patent application alert! #US20250245943A1 by #Samsung unveils a #DisplayDevice with advanced #AugmentedReality capabilities. 

Key features:
- Integrates a camera, communication interface, and processor
- Captures images, identifies devices/users, and displays AR avatars…

New patent application #US20240411128A1 by #JiaxingUphoton introduces a #DisplayDevice & #Glasses with optical waveguide tech. It features dual projectors, optical sensing, and feedback tracking to align visuals with your line of sight. #Optoelectronics

PatentPulse's tweet image. New patent application #US20240411128A1 by #JiaxingUphoton introduces a #DisplayDevice & #Glasses with optical waveguide tech. It features dual projectors, optical sensing, and feedback tracking to align visuals with your line of sight. #Optoelectronics
PatentPulse's tweet image. New patent application #US20240411128A1 by #JiaxingUphoton introduces a #DisplayDevice & #Glasses with optical waveguide tech. It features dual projectors, optical sensing, and feedback tracking to align visuals with your line of sight. #Optoelectronics
PatentPulse's tweet image. New patent application #US20240411128A1 by #JiaxingUphoton introduces a #DisplayDevice & #Glasses with optical waveguide tech. It features dual projectors, optical sensing, and feedback tracking to align visuals with your line of sight. #Optoelectronics

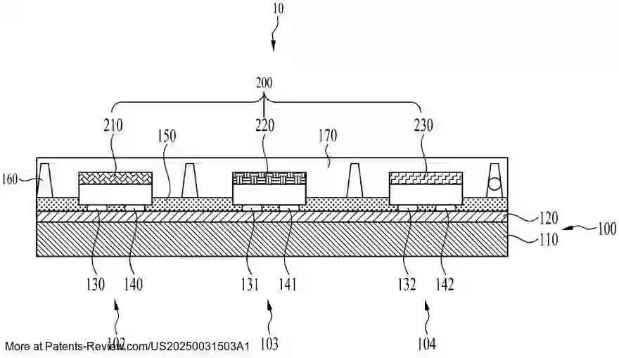
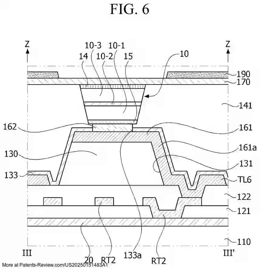
New patent application #US20250031503A1 by #LGElectronics reveals a #DisplayDevice using micro #LED tech. It features a wiring substrate with unit pixel areas, integrating light-emitting elements symmetrically arranged for enhanced performance. #Semiconductor $LPL

PatentPulse's tweet image. New patent application #US20250031503A1 by #LGElectronics reveals a #DisplayDevice using micro #LED tech. It features a wiring substrate with unit pixel areas, integrating light-emitting elements symmetrically arranged for enhanced performance. #Semiconductor $LPL
PatentPulse's tweet image. New patent application #US20250031503A1 by #LGElectronics reveals a #DisplayDevice using micro #LED tech. It features a wiring substrate with unit pixel areas, integrating light-emitting elements symmetrically arranged for enhanced performance. #Semiconductor $LPL
PatentPulse's tweet image. New patent application #US20250031503A1 by #LGElectronics reveals a #DisplayDevice using micro #LED tech. It features a wiring substrate with unit pixel areas, integrating light-emitting elements symmetrically arranged for enhanced performance. #Semiconductor $LPL

New patent application #US20250126973A1 by #SamsungDisplay reveals a #DisplayDevice with a display panel featuring both display & non-display areas. It includes pixels with light-emitting elements & driving transistors, plus a common circuit in the non-display area. $SSNLF

PatentPulse's tweet image. New patent application #US20250126973A1 by #SamsungDisplay reveals a #DisplayDevice with a display panel featuring both display & non-display areas. It includes pixels with light-emitting elements & driving transistors, plus a common circuit in the non-display area. $SSNLF
PatentPulse's tweet image. New patent application #US20250126973A1 by #SamsungDisplay reveals a #DisplayDevice with a display panel featuring both display & non-display areas. It includes pixels with light-emitting elements & driving transistors, plus a common circuit in the non-display area. $SSNLF

📢 New patent application alert! #US20250245943A1 by #Samsung unveils a #DisplayDevice with advanced #AugmentedReality capabilities. Key features: - Integrates a camera, communication interface, and processor - Captures images, identifies devices/users, and displays AR avatars…

PatentPulse's tweet image. 📢 New patent application alert! #US20250245943A1 by #Samsung unveils a #DisplayDevice with advanced #AugmentedReality capabilities. 

Key features:
- Integrates a camera, communication interface, and processor
- Captures images, identifies devices/users, and displays AR avatars…
PatentPulse's tweet image. 📢 New patent application alert! #US20250245943A1 by #Samsung unveils a #DisplayDevice with advanced #AugmentedReality capabilities. 

Key features:
- Integrates a camera, communication interface, and processor
- Captures images, identifies devices/users, and displays AR avatars…
PatentPulse's tweet image. 📢 New patent application alert! #US20250245943A1 by #Samsung unveils a #DisplayDevice with advanced #AugmentedReality capabilities. 

Key features:
- Integrates a camera, communication interface, and processor
- Captures images, identifies devices/users, and displays AR avatars…

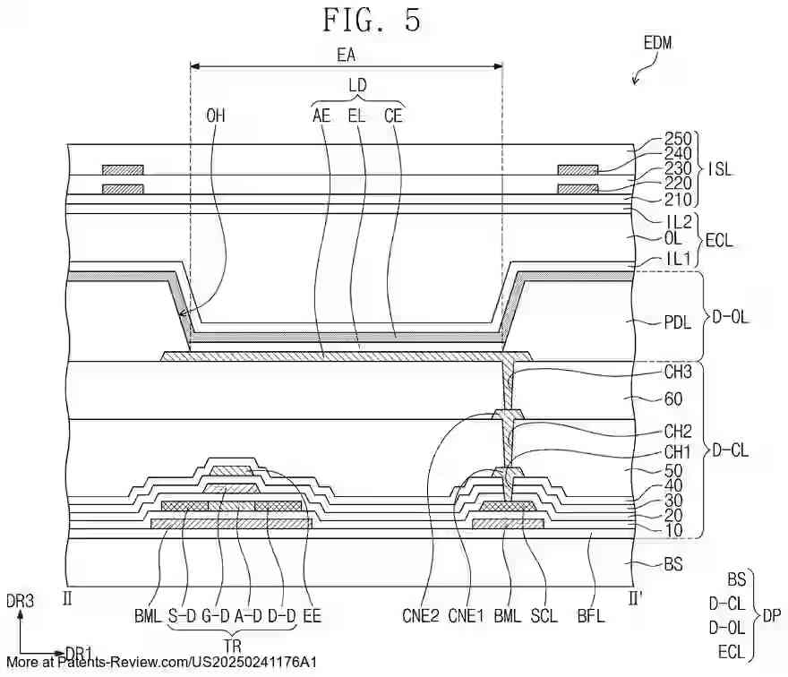
New patent application #US20250241176A1 by #SamsungDisplay reveals a novel #DisplayDevice and manufacturing method. Features include a base layer with a module hole, light-emitting elements, and an anti-deposition pattern for enhanced reliability. Key components: pixel…

PatentPulse's tweet image. New patent application #US20250241176A1 by #SamsungDisplay reveals a novel #DisplayDevice and manufacturing method. 

Features include a base layer with a module hole, light-emitting elements, and an anti-deposition pattern for enhanced reliability. 

Key components: pixel…
PatentPulse's tweet image. New patent application #US20250241176A1 by #SamsungDisplay reveals a novel #DisplayDevice and manufacturing method. 

Features include a base layer with a module hole, light-emitting elements, and an anti-deposition pattern for enhanced reliability. 

Key components: pixel…
PatentPulse's tweet image. New patent application #US20250241176A1 by #SamsungDisplay reveals a novel #DisplayDevice and manufacturing method. 

Features include a base layer with a module hole, light-emitting elements, and an anti-deposition pattern for enhanced reliability. 

Key components: pixel…

New patent application #US20250155985A1 from #ETRI explores a #DisplayDevice and #WearableTech that uses XR to enhance user interaction. It senses body movements, calculates emotional & physical empathy degrees, and generates a final empathy score between users.…

PatentPulse's tweet image. New patent application #US20250155985A1 from #ETRI explores a #DisplayDevice and #WearableTech that uses XR to enhance user interaction. 

It senses body movements, calculates emotional & physical empathy degrees, and generates a final empathy score between users.…
PatentPulse's tweet image. New patent application #US20250155985A1 from #ETRI explores a #DisplayDevice and #WearableTech that uses XR to enhance user interaction. 

It senses body movements, calculates emotional & physical empathy degrees, and generates a final empathy score between users.…

New patent application #US20250151483A1 by #LGDisplay reveals an innovative #DisplayDevice. It features a substrate with light-emitting elements in transfer areas, and a black matrix with transmissive holes of varying sizes. This design optimizes light emission and display…

PatentPulse's tweet image. New patent application #US20250151483A1 by #LGDisplay reveals an innovative #DisplayDevice. 

It features a substrate with light-emitting elements in transfer areas, and a black matrix with transmissive holes of varying sizes. 

This design optimizes light emission and display…
PatentPulse's tweet image. New patent application #US20250151483A1 by #LGDisplay reveals an innovative #DisplayDevice. 

It features a substrate with light-emitting elements in transfer areas, and a black matrix with transmissive holes of varying sizes. 

This design optimizes light emission and display…
PatentPulse's tweet image. New patent application #US20250151483A1 by #LGDisplay reveals an innovative #DisplayDevice. 

It features a substrate with light-emitting elements in transfer areas, and a black matrix with transmissive holes of varying sizes. 

This design optimizes light emission and display…
PatentPulse's tweet image. New patent application #US20250151483A1 by #LGDisplay reveals an innovative #DisplayDevice. 

It features a substrate with light-emitting elements in transfer areas, and a black matrix with transmissive holes of varying sizes. 

This design optimizes light emission and display…

New patent application #US20250148992A1 from #SamsungDisplay reveals a cutting-edge #DisplayDevice and fabrication method for head-mounted displays. It features a semiconductor substrate, light-emitting elements, and a lens array with convex lenses for enhanced visuals.…

PatentPulse's tweet image. New patent application #US20250148992A1 from #SamsungDisplay reveals a cutting-edge #DisplayDevice and fabrication method for head-mounted displays. 

It features a semiconductor substrate, light-emitting elements, and a lens array with convex lenses for enhanced visuals.…
PatentPulse's tweet image. New patent application #US20250148992A1 from #SamsungDisplay reveals a cutting-edge #DisplayDevice and fabrication method for head-mounted displays. 

It features a semiconductor substrate, light-emitting elements, and a lens array with convex lenses for enhanced visuals.…
PatentPulse's tweet image. New patent application #US20250148992A1 from #SamsungDisplay reveals a cutting-edge #DisplayDevice and fabrication method for head-mounted displays. 

It features a semiconductor substrate, light-emitting elements, and a lens array with convex lenses for enhanced visuals.…

New patent application #US20250126973A1 by #SamsungDisplay reveals a #DisplayDevice with a display panel featuring both display & non-display areas. It includes pixels with light-emitting elements & driving transistors, plus a common circuit in the non-display area. $SSNLF

PatentPulse's tweet image. New patent application #US20250126973A1 by #SamsungDisplay reveals a #DisplayDevice with a display panel featuring both display & non-display areas. It includes pixels with light-emitting elements & driving transistors, plus a common circuit in the non-display area. $SSNLF
PatentPulse's tweet image. New patent application #US20250126973A1 by #SamsungDisplay reveals a #DisplayDevice with a display panel featuring both display & non-display areas. It includes pixels with light-emitting elements & driving transistors, plus a common circuit in the non-display area. $SSNLF

New patent application #US20250031503A1 by #LGElectronics reveals a #DisplayDevice using micro #LED tech. It features a wiring substrate with unit pixel areas, integrating light-emitting elements symmetrically arranged for enhanced performance. #Semiconductor $LPL

PatentPulse's tweet image. New patent application #US20250031503A1 by #LGElectronics reveals a #DisplayDevice using micro #LED tech. It features a wiring substrate with unit pixel areas, integrating light-emitting elements symmetrically arranged for enhanced performance. #Semiconductor $LPL
PatentPulse's tweet image. New patent application #US20250031503A1 by #LGElectronics reveals a #DisplayDevice using micro #LED tech. It features a wiring substrate with unit pixel areas, integrating light-emitting elements symmetrically arranged for enhanced performance. #Semiconductor $LPL
PatentPulse's tweet image. New patent application #US20250031503A1 by #LGElectronics reveals a #DisplayDevice using micro #LED tech. It features a wiring substrate with unit pixel areas, integrating light-emitting elements symmetrically arranged for enhanced performance. #Semiconductor $LPL

New patent application #US20240411128A1 by #JiaxingUphoton introduces a #DisplayDevice & #Glasses with optical waveguide tech. It features dual projectors, optical sensing, and feedback tracking to align visuals with your line of sight. #Optoelectronics

PatentPulse's tweet image. New patent application #US20240411128A1 by #JiaxingUphoton introduces a #DisplayDevice & #Glasses with optical waveguide tech. It features dual projectors, optical sensing, and feedback tracking to align visuals with your line of sight. #Optoelectronics
PatentPulse's tweet image. New patent application #US20240411128A1 by #JiaxingUphoton introduces a #DisplayDevice & #Glasses with optical waveguide tech. It features dual projectors, optical sensing, and feedback tracking to align visuals with your line of sight. #Optoelectronics
PatentPulse's tweet image. New patent application #US20240411128A1 by #JiaxingUphoton introduces a #DisplayDevice & #Glasses with optical waveguide tech. It features dual projectors, optical sensing, and feedback tracking to align visuals with your line of sight. #Optoelectronics

#Samsung's latest patent application #US20240370122A1 unveils a #DisplayDevice with integrated #LightSensing pixels. It measures biometric data from touch points, guiding users via an app screen. A step forward in #BiometricTech! #SamsungDisplay $SSNLF #PatentApplication

PatentPulse's tweet image. #Samsung's latest patent application #US20240370122A1 unveils a #DisplayDevice with integrated #LightSensing pixels. It measures biometric data from touch points, guiding users via an app screen. A step forward in #BiometricTech! #SamsungDisplay $SSNLF #PatentApplication
PatentPulse's tweet image. #Samsung's latest patent application #US20240370122A1 unveils a #DisplayDevice with integrated #LightSensing pixels. It measures biometric data from touch points, guiding users via an app screen. A step forward in #BiometricTech! #SamsungDisplay $SSNLF #PatentApplication
PatentPulse's tweet image. #Samsung's latest patent application #US20240370122A1 unveils a #DisplayDevice with integrated #LightSensing pixels. It measures biometric data from touch points, guiding users via an app screen. A step forward in #BiometricTech! #SamsungDisplay $SSNLF #PatentApplication
PatentPulse's tweet image. #Samsung's latest patent application #US20240370122A1 unveils a #DisplayDevice with integrated #LightSensing pixels. It measures biometric data from touch points, guiding users via an app screen. A step forward in #BiometricTech! #SamsungDisplay $SSNLF #PatentApplication

New patent appl. #US20240358330A1 by #SamsungDisplay reveals a #DisplayDevice with integrated #LightSensing pixels. It measures biometric info using pulse wave signals for high accuracy. Innovative tech for enhanced user interaction! $SSNLF #PatentApplication #BiometricTech

PatentPulse's tweet image. New patent appl. #US20240358330A1 by #SamsungDisplay reveals a #DisplayDevice with integrated #LightSensing pixels. It measures biometric info using pulse wave signals for high accuracy. Innovative tech for enhanced user interaction! $SSNLF #PatentApplication #BiometricTech
PatentPulse's tweet image. New patent appl. #US20240358330A1 by #SamsungDisplay reveals a #DisplayDevice with integrated #LightSensing pixels. It measures biometric info using pulse wave signals for high accuracy. Innovative tech for enhanced user interaction! $SSNLF #PatentApplication #BiometricTech
PatentPulse's tweet image. New patent appl. #US20240358330A1 by #SamsungDisplay reveals a #DisplayDevice with integrated #LightSensing pixels. It measures biometric info using pulse wave signals for high accuracy. Innovative tech for enhanced user interaction! $SSNLF #PatentApplication #BiometricTech
PatentPulse's tweet image. New patent appl. #US20240358330A1 by #SamsungDisplay reveals a #DisplayDevice with integrated #LightSensing pixels. It measures biometric info using pulse wave signals for high accuracy. Innovative tech for enhanced user interaction! $SSNLF #PatentApplication #BiometricTech

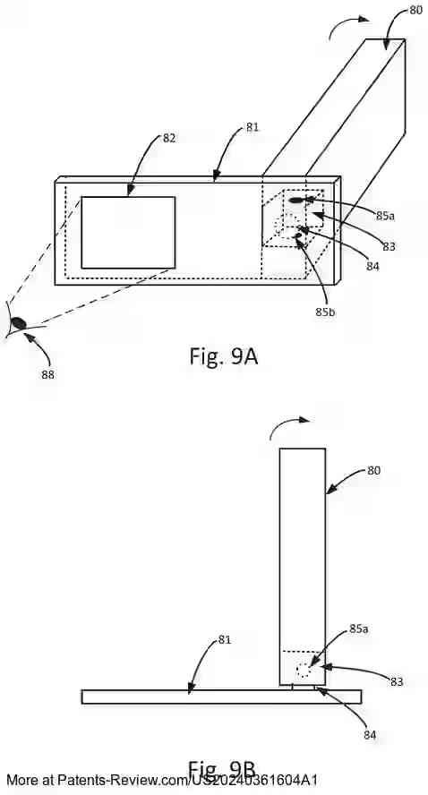
#Snap's patent appl. #US20240361604A1 reveals a #DisplayDevice with an #OpticalWaveguide & #Projector for #AR/#VR. The projector, linked to the waveguide, can shift to either block or reveal real-world views. Innovative tech from $SNAP! #PatentApplication #AugmentedReality

PatentPulse's tweet image. #Snap's patent appl. #US20240361604A1 reveals a #DisplayDevice with an #OpticalWaveguide & #Projector for #AR/#VR. The projector, linked to the waveguide, can shift to either block or reveal real-world views. Innovative tech from $SNAP! #PatentApplication #AugmentedReality
PatentPulse's tweet image. #Snap's patent appl. #US20240361604A1 reveals a #DisplayDevice with an #OpticalWaveguide & #Projector for #AR/#VR. The projector, linked to the waveguide, can shift to either block or reveal real-world views. Innovative tech from $SNAP! #PatentApplication #AugmentedReality
PatentPulse's tweet image. #Snap's patent appl. #US20240361604A1 reveals a #DisplayDevice with an #OpticalWaveguide & #Projector for #AR/#VR. The projector, linked to the waveguide, can shift to either block or reveal real-world views. Innovative tech from $SNAP! #PatentApplication #AugmentedReality

New patent appl. #US20240358257A1 by #SamsungDisplay reveals a #DisplayDevice with integrated light sensing pixels for real-time biometric data collection and user guidance. A step forward in #BiometricTech! #Innovation $SSNLF #PatentApplication

PatentPulse's tweet image. New patent appl. #US20240358257A1 by #SamsungDisplay reveals a #DisplayDevice with integrated light sensing pixels for real-time biometric data collection and user guidance. A step forward in #BiometricTech! #Innovation $SSNLF #PatentApplication
PatentPulse's tweet image. New patent appl. #US20240358257A1 by #SamsungDisplay reveals a #DisplayDevice with integrated light sensing pixels for real-time biometric data collection and user guidance. A step forward in #BiometricTech! #Innovation $SSNLF #PatentApplication
PatentPulse's tweet image. New patent appl. #US20240358257A1 by #SamsungDisplay reveals a #DisplayDevice with integrated light sensing pixels for real-time biometric data collection and user guidance. A step forward in #BiometricTech! #Innovation $SSNLF #PatentApplication
PatentPulse's tweet image. New patent appl. #US20240358257A1 by #SamsungDisplay reveals a #DisplayDevice with integrated light sensing pixels for real-time biometric data collection and user guidance. A step forward in #BiometricTech! #Innovation $SSNLF #PatentApplication

#Samsung Display's patent appl. #US20240310952A1 reveals a #DisplayDevice with unit pixels combining display & light sensing pixels. Features include touch electrodes for fingerprint sensing & open areas for improved touch response. #SamsungDisplay $SSNLF #TechPatent #Innovation

PatentPulse's tweet image. #Samsung Display's patent appl. #US20240310952A1 reveals a #DisplayDevice with unit pixels combining display & light sensing pixels. Features include touch electrodes for fingerprint sensing & open areas for improved touch response. #SamsungDisplay $SSNLF #TechPatent #Innovation
PatentPulse's tweet image. #Samsung Display's patent appl. #US20240310952A1 reveals a #DisplayDevice with unit pixels combining display & light sensing pixels. Features include touch electrodes for fingerprint sensing & open areas for improved touch response. #SamsungDisplay $SSNLF #TechPatent #Innovation
PatentPulse's tweet image. #Samsung Display's patent appl. #US20240310952A1 reveals a #DisplayDevice with unit pixels combining display & light sensing pixels. Features include touch electrodes for fingerprint sensing & open areas for improved touch response. #SamsungDisplay $SSNLF #TechPatent #Innovation
PatentPulse's tweet image. #Samsung Display's patent appl. #US20240310952A1 reveals a #DisplayDevice with unit pixels combining display & light sensing pixels. Features include touch electrodes for fingerprint sensing & open areas for improved touch response. #SamsungDisplay $SSNLF #TechPatent #Innovation

No results for "#displaydevice"

New patent application #US20250151483A1 by #LGDisplay reveals an innovative #DisplayDevice. It features a substrate with light-emitting elements in transfer areas, and a black matrix with transmissive holes of varying sizes. This design optimizes light emission and display…

PatentPulse's tweet image. New patent application #US20250151483A1 by #LGDisplay reveals an innovative #DisplayDevice. 

It features a substrate with light-emitting elements in transfer areas, and a black matrix with transmissive holes of varying sizes. 

This design optimizes light emission and display…
PatentPulse's tweet image. New patent application #US20250151483A1 by #LGDisplay reveals an innovative #DisplayDevice. 

It features a substrate with light-emitting elements in transfer areas, and a black matrix with transmissive holes of varying sizes. 

This design optimizes light emission and display…
PatentPulse's tweet image. New patent application #US20250151483A1 by #LGDisplay reveals an innovative #DisplayDevice. 

It features a substrate with light-emitting elements in transfer areas, and a black matrix with transmissive holes of varying sizes. 

This design optimizes light emission and display…
PatentPulse's tweet image. New patent application #US20250151483A1 by #LGDisplay reveals an innovative #DisplayDevice. 

It features a substrate with light-emitting elements in transfer areas, and a black matrix with transmissive holes of varying sizes. 

This design optimizes light emission and display…

New patent appl. #US20240358257A1 by #SamsungDisplay reveals a #DisplayDevice with integrated light sensing pixels for real-time biometric data collection and user guidance. A step forward in #BiometricTech! #Innovation $SSNLF #PatentApplication

PatentPulse's tweet image. New patent appl. #US20240358257A1 by #SamsungDisplay reveals a #DisplayDevice with integrated light sensing pixels for real-time biometric data collection and user guidance. A step forward in #BiometricTech! #Innovation $SSNLF #PatentApplication
PatentPulse's tweet image. New patent appl. #US20240358257A1 by #SamsungDisplay reveals a #DisplayDevice with integrated light sensing pixels for real-time biometric data collection and user guidance. A step forward in #BiometricTech! #Innovation $SSNLF #PatentApplication
PatentPulse's tweet image. New patent appl. #US20240358257A1 by #SamsungDisplay reveals a #DisplayDevice with integrated light sensing pixels for real-time biometric data collection and user guidance. A step forward in #BiometricTech! #Innovation $SSNLF #PatentApplication
PatentPulse's tweet image. New patent appl. #US20240358257A1 by #SamsungDisplay reveals a #DisplayDevice with integrated light sensing pixels for real-time biometric data collection and user guidance. A step forward in #BiometricTech! #Innovation $SSNLF #PatentApplication

#Samsung Display's patent appl. #US20240310952A1 reveals a #DisplayDevice with unit pixels combining display & light sensing pixels. Features include touch electrodes for fingerprint sensing & open areas for improved touch response. #SamsungDisplay $SSNLF #TechPatent #Innovation

PatentPulse's tweet image. #Samsung Display's patent appl. #US20240310952A1 reveals a #DisplayDevice with unit pixels combining display & light sensing pixels. Features include touch electrodes for fingerprint sensing & open areas for improved touch response. #SamsungDisplay $SSNLF #TechPatent #Innovation
PatentPulse's tweet image. #Samsung Display's patent appl. #US20240310952A1 reveals a #DisplayDevice with unit pixels combining display & light sensing pixels. Features include touch electrodes for fingerprint sensing & open areas for improved touch response. #SamsungDisplay $SSNLF #TechPatent #Innovation
PatentPulse's tweet image. #Samsung Display's patent appl. #US20240310952A1 reveals a #DisplayDevice with unit pixels combining display & light sensing pixels. Features include touch electrodes for fingerprint sensing & open areas for improved touch response. #SamsungDisplay $SSNLF #TechPatent #Innovation
PatentPulse's tweet image. #Samsung Display's patent appl. #US20240310952A1 reveals a #DisplayDevice with unit pixels combining display & light sensing pixels. Features include touch electrodes for fingerprint sensing & open areas for improved touch response. #SamsungDisplay $SSNLF #TechPatent #Innovation

New patent appl. #US20240358330A1 by #SamsungDisplay reveals a #DisplayDevice with integrated #LightSensing pixels. It measures biometric info using pulse wave signals for high accuracy. Innovative tech for enhanced user interaction! $SSNLF #PatentApplication #BiometricTech

PatentPulse's tweet image. New patent appl. #US20240358330A1 by #SamsungDisplay reveals a #DisplayDevice with integrated #LightSensing pixels. It measures biometric info using pulse wave signals for high accuracy. Innovative tech for enhanced user interaction! $SSNLF #PatentApplication #BiometricTech
PatentPulse's tweet image. New patent appl. #US20240358330A1 by #SamsungDisplay reveals a #DisplayDevice with integrated #LightSensing pixels. It measures biometric info using pulse wave signals for high accuracy. Innovative tech for enhanced user interaction! $SSNLF #PatentApplication #BiometricTech
PatentPulse's tweet image. New patent appl. #US20240358330A1 by #SamsungDisplay reveals a #DisplayDevice with integrated #LightSensing pixels. It measures biometric info using pulse wave signals for high accuracy. Innovative tech for enhanced user interaction! $SSNLF #PatentApplication #BiometricTech
PatentPulse's tweet image. New patent appl. #US20240358330A1 by #SamsungDisplay reveals a #DisplayDevice with integrated #LightSensing pixels. It measures biometric info using pulse wave signals for high accuracy. Innovative tech for enhanced user interaction! $SSNLF #PatentApplication #BiometricTech

New patent application #US20240411128A1 by #JiaxingUphoton introduces a #DisplayDevice & #Glasses with optical waveguide tech. It features dual projectors, optical sensing, and feedback tracking to align visuals with your line of sight. #Optoelectronics

PatentPulse's tweet image. New patent application #US20240411128A1 by #JiaxingUphoton introduces a #DisplayDevice & #Glasses with optical waveguide tech. It features dual projectors, optical sensing, and feedback tracking to align visuals with your line of sight. #Optoelectronics
PatentPulse's tweet image. New patent application #US20240411128A1 by #JiaxingUphoton introduces a #DisplayDevice & #Glasses with optical waveguide tech. It features dual projectors, optical sensing, and feedback tracking to align visuals with your line of sight. #Optoelectronics
PatentPulse's tweet image. New patent application #US20240411128A1 by #JiaxingUphoton introduces a #DisplayDevice & #Glasses with optical waveguide tech. It features dual projectors, optical sensing, and feedback tracking to align visuals with your line of sight. #Optoelectronics

Loading...

Something went wrong.


Something went wrong.


United States Trends