#flipbudspro 검색 결과

غدا الإعلان الرسمي عن سماعة شاومي البلوتوث اللاسلكية Xiaomi FlipBuds Pro بميزة عزل الضوضاء المتطور Mi Noise Cancelling Headphone Pro و ميزة تمرير الصوت transparent mode باستخدام معالج Qualcomm aptX. #Xiaomi #FlipBudsPro

drbeel_techno's tweet image. غدا الإعلان الرسمي عن سماعة شاومي البلوتوث اللاسلكية Xiaomi FlipBuds Pro بميزة عزل الضوضاء المتطور Mi Noise Cancelling Headphone Pro و ميزة تمرير الصوت transparent mode باستخدام معالج Qualcomm aptX.
#Xiaomi #FlipBudsPro
drbeel_techno's tweet image. غدا الإعلان الرسمي عن سماعة شاومي البلوتوث اللاسلكية Xiaomi FlipBuds Pro بميزة عزل الضوضاء المتطور Mi Noise Cancelling Headphone Pro و ميزة تمرير الصوت transparent mode باستخدام معالج Qualcomm aptX.
#Xiaomi #FlipBudsPro
drbeel_techno's tweet image. غدا الإعلان الرسمي عن سماعة شاومي البلوتوث اللاسلكية Xiaomi FlipBuds Pro بميزة عزل الضوضاء المتطور Mi Noise Cancelling Headphone Pro و ميزة تمرير الصوت transparent mode باستخدام معالج Qualcomm aptX.
#Xiaomi #FlipBudsPro
drbeel_techno's tweet image. غدا الإعلان الرسمي عن سماعة شاومي البلوتوث اللاسلكية Xiaomi FlipBuds Pro بميزة عزل الضوضاء المتطور Mi Noise Cancelling Headphone Pro و ميزة تمرير الصوت transparent mode باستخدام معالج Qualcomm aptX.
#Xiaomi #FlipBudsPro

Can't wait to review it. #FlipbudsPro #TWS

Xiaomi Flipbuds Pro unboxing. Pre-order it here: giztop.com/xiaomi-flipbud… #FlipbudsPro

giztopshop's tweet image. Xiaomi Flipbuds Pro unboxing. Pre-order it here: giztop.com/xiaomi-flipbud… #FlipbudsPro


Xiaomi FlipBuds Pro is the world’s first to feature Qualcomm Snapdragon Sound gizmochina.com/2021/07/28/xia… #Xiaomi #FlipBudsPro #Qualcomm #SnapdragonSound

gizmochina's tweet image. Xiaomi FlipBuds Pro is the world’s first to feature Qualcomm Snapdragon Sound

gizmochina.com/2021/07/28/xia…

#Xiaomi #FlipBudsPro #Qualcomm #SnapdragonSound

Xiaomi launches FlipBuds Pro with Active Noise Cancellation in China gizmochina.com/2021/05/13/xia… #Tech #Xiaomi #FlipbudsPro #ANC

gizmochina's tweet image. Xiaomi launches FlipBuds Pro with Active Noise Cancellation in China 

gizmochina.com/2021/05/13/xia… 

#Tech #Xiaomi #FlipbudsPro #ANC

Xiaomi FlipBudsPro 購入しました! 超反射するカッコいいボディー⤴⤴ 音は低音が深く高音は薄く抜ける感じです! Mi Air2Proより確実に進化してます! #Xiaomi #ゴキブリブラック #FlipBudsPro #はぁ〜また買っちゃった 1mmぐらい #いきりっち

my_xfn's tweet image. Xiaomi FlipBudsPro 購入しました!
超反射するカッコいいボディー⤴⤴
音は低音が深く高音は薄く抜ける感じです!
Mi Air2Proより確実に進化してます!
#Xiaomi
#ゴキブリブラック
#FlipBudsPro 
#はぁ〜また買っちゃった
1mmぐらい #いきりっち
my_xfn's tweet image. Xiaomi FlipBudsPro 購入しました!
超反射するカッコいいボディー⤴⤴
音は低音が深く高音は薄く抜ける感じです!
Mi Air2Proより確実に進化してます!
#Xiaomi
#ゴキブリブラック
#FlipBudsPro 
#はぁ〜また買っちゃった
1mmぐらい #いきりっち
my_xfn's tweet image. Xiaomi FlipBudsPro 購入しました!
超反射するカッコいいボディー⤴⤴
音は低音が深く高音は薄く抜ける感じです!
Mi Air2Proより確実に進化してます!
#Xiaomi
#ゴキブリブラック
#FlipBudsPro 
#はぁ〜また買っちゃった
1mmぐらい #いきりっち

Xiaomi FlipBuds Pro Review: Is the new ANC Earbuds any Good? gizmochina.com/2021/05/25/xia… #Xiaomi #FlipbudsPro #Tech #ANC

gizmochina's tweet image. Xiaomi FlipBuds Pro Review: Is the new ANC Earbuds any Good? 
gizmochina.com/2021/05/25/xia… 
#Xiaomi #FlipbudsPro #Tech #ANC

Brand New Xiaomi FlipBuds Pro earbuds are now available at AliExpress for $152 gizmochina.com/2021/05/18/bra… #Xiaomi #FlipbudsPro #earbuds #deal


Xiaomi Exec reveals more details of FlipBuds Pro prior to May 13 launch gizmochina.com/2021/05/12/xia… #Xiaomi #Mi #FlipBudsPro

gizmochina's tweet image. Xiaomi Exec reveals more details of FlipBuds Pro prior to May 13 launch

gizmochina.com/2021/05/12/xia…

#Xiaomi #Mi #FlipBudsPro

Xiaomi Flipbuds Pro launched in China. Noise reduction depth of 40dB -Three levels of ANC support travel, daily, office. -Gesture Support -Earplug Fit & Wearing detection support -aptX Adaptive/AAC/SBC three audio coding 🤑¥799/₹9,118/$123/€102 #XiaomiFlipbudsPro #FlipbudsPro

TechyPreacher's tweet image. Xiaomi Flipbuds Pro launched in China.

Noise reduction depth of 40dB
-Three levels of ANC support travel, daily, office.
-Gesture Support
-Earplug Fit & Wearing detection support
-aptX Adaptive/AAC/SBC three audio coding

🤑¥799/₹9,118/$123/€102
#XiaomiFlipbudsPro #FlipbudsPro
TechyPreacher's tweet image. Xiaomi Flipbuds Pro launched in China.

Noise reduction depth of 40dB
-Three levels of ANC support travel, daily, office.
-Gesture Support
-Earplug Fit & Wearing detection support
-aptX Adaptive/AAC/SBC three audio coding

🤑¥799/₹9,118/$123/€102
#XiaomiFlipbudsPro #FlipbudsPro
TechyPreacher's tweet image. Xiaomi Flipbuds Pro launched in China.

Noise reduction depth of 40dB
-Three levels of ANC support travel, daily, office.
-Gesture Support
-Earplug Fit & Wearing detection support
-aptX Adaptive/AAC/SBC three audio coding

🤑¥799/₹9,118/$123/€102
#XiaomiFlipbudsPro #FlipbudsPro
TechyPreacher's tweet image. Xiaomi Flipbuds Pro launched in China.

Noise reduction depth of 40dB
-Three levels of ANC support travel, daily, office.
-Gesture Support
-Earplug Fit & Wearing detection support
-aptX Adaptive/AAC/SBC three audio coding

🤑¥799/₹9,118/$123/€102
#XiaomiFlipbudsPro #FlipbudsPro

Xiaomi FlipBuds Pro retail Box Live Image & Price Leaked Price : ¥799/₹9,100/$124 launching on May 13, 2021 in China 🔴11mm super linear dynamic coil + upto 40dB noise reduction 🔴11W USB Type-C Fast Charge 🔴Support Intelligent Low Latency 🔴Support Channel Mode

TechyPreacher's tweet image. Xiaomi FlipBuds Pro retail Box Live  Image & Price Leaked

Price : ¥799/₹9,100/$124

launching on May 13, 2021 in China

🔴11mm super linear dynamic coil + upto 40dB noise reduction
🔴11W USB Type-C Fast Charge
🔴Support Intelligent Low Latency
🔴Support Channel Mode
TechyPreacher's tweet image. Xiaomi FlipBuds Pro retail Box Live  Image & Price Leaked

Price : ¥799/₹9,100/$124

launching on May 13, 2021 in China

🔴11mm super linear dynamic coil + upto 40dB noise reduction
🔴11W USB Type-C Fast Charge
🔴Support Intelligent Low Latency
🔴Support Channel Mode
TechyPreacher's tweet image. Xiaomi FlipBuds Pro retail Box Live  Image & Price Leaked

Price : ¥799/₹9,100/$124

launching on May 13, 2021 in China

🔴11mm super linear dynamic coil + upto 40dB noise reduction
🔴11W USB Type-C Fast Charge
🔴Support Intelligent Low Latency
🔴Support Channel Mode
TechyPreacher's tweet image. Xiaomi FlipBuds Pro retail Box Live  Image & Price Leaked

Price : ¥799/₹9,100/$124

launching on May 13, 2021 in China

🔴11mm super linear dynamic coil + upto 40dB noise reduction
🔴11W USB Type-C Fast Charge
🔴Support Intelligent Low Latency
🔴Support Channel Mode


Xiaomi FlipBuds Pro receive the Bluetooth SIG certification, global launch imminent. #Xiaomi #FlipBudsPro

C4Tech2's tweet image. Xiaomi FlipBuds Pro receive the Bluetooth SIG certification, global launch imminent.
#Xiaomi #FlipBudsPro

Xiaomi FlipBuds Pro TWS earphones now available in China for 799 yuan ($124) gizmochina.com/2021/05/21/xia… #Xiaomi #FlipBudsPro #XiaomiFlipBudsPro #TWS #Earphones #ANC #China

gizmochina's tweet image. Xiaomi FlipBuds Pro TWS earphones now available in China for 799 yuan ($124)

gizmochina.com/2021/05/21/xia…

#Xiaomi #FlipBudsPro #XiaomiFlipBudsPro #TWS #Earphones #ANC #China

FlipBuds Pro é o novo fone da Xiaomi com cancelamento de ruído gabge.com.br/noticias/28055… #Gadgets #FlipBudsPro #Xiaomi


Xiaomi #FlipBudsPro Key Features Revealed Online, Confirmed to Launch on May 13 Read here: mysmartprice.com/gear/xiaomi-fl…

mysmartprice's tweet image. Xiaomi #FlipBudsPro Key Features Revealed Online, Confirmed to Launch on May 13

Read here: mysmartprice.com/gear/xiaomi-fl…

1David_Miller: RT @1David_Miller: The next episode of Tech UnRaveled is live: Best of the Best True Wireless Earbuds - Battle of The Pro's 2021 @1MoreGlobal #ComfobudsPro @Huawei #FreeBudsPro @Xiaomi #FlipBudsPro @Razer #HammerHeadPro @Apple #AirPodsPro

wirelesswizard's tweet image. 1David_Miller: RT @1David_Miller: The next episode of Tech UnRaveled is live: Best of the Best True Wireless Earbuds - Battle of The Pro's 2021

@1MoreGlobal #ComfobudsPro @Huawei #FreeBudsPro @Xiaomi #FlipBudsPro @Razer #HammerHeadPro @Apple #AirPodsPro…

Xiaomi FlipBuds Pro Launched in China For - ¥799 (₹9,100) #Xiaomi #XiaomiFlipBudsPro #FlipBudsPro

technowaqar_12's tweet image. Xiaomi FlipBuds Pro Launched in China For - ¥799 (₹9,100)

#Xiaomi #XiaomiFlipBudsPro #FlipBudsPro
technowaqar_12's tweet image. Xiaomi FlipBuds Pro Launched in China For - ¥799 (₹9,100)

#Xiaomi #XiaomiFlipBudsPro #FlipBudsPro
technowaqar_12's tweet image. Xiaomi FlipBuds Pro Launched in China For - ¥799 (₹9,100)

#Xiaomi #XiaomiFlipBudsPro #FlipBudsPro
technowaqar_12's tweet image. Xiaomi FlipBuds Pro Launched in China For - ¥799 (₹9,100)

#Xiaomi #XiaomiFlipBudsPro #FlipBudsPro

Η Xiaomi ανακοίνωσε τα νέα ακουστικά TWS που ονομάζονται FlipBuds Pro, τα οποία είναι και τα πρώτα της εταιρείας που διαθέτουν ANC (ενεργή ακύρωση θορύβου). #FlipBudsPro #Gadgets #TWS #wearables #xiaomi #ακουστικά bit.ly/3fdObTu

Miuigr's tweet image. Η Xiaomi ανακοίνωσε τα νέα ακουστικά TWS που ονομάζονται FlipBuds Pro, τα οποία είναι και τα πρώτα της εταιρείας που διαθέτουν ANC (ενεργή ακύρωση θορύβου).
 #FlipBudsPro #Gadgets #TWS #wearables #xiaomi #ακουστικά

bit.ly/3fdObTu

Xiaomi FlipBuds Pro Review: Are the new ANC Earbuds any Good? gizmochina.com/2021/05/25/xia… #FlipbudsPro #Xiaomi #earbuds #Tws #ANC

gizmochina's tweet image. Xiaomi FlipBuds Pro Review: Are the new ANC Earbuds any Good? 

gizmochina.com/2021/05/25/xia… 

#FlipbudsPro #Xiaomi #earbuds #Tws #ANC

Los #FlipBudsPro de Xiaomi son una pasada. Tiene algunos peros, evidentemente, pero los micros están a un nivel correcto (sin destacar), el sonido es rotundo, con matices, llegas a apreciar casi cada nota y aunque son muy sucios, son bastante bonitos y cómodos.

geekdegafas's tweet image. Los #FlipBudsPro de Xiaomi son una pasada. Tiene algunos peros, evidentemente, pero los micros están a un nivel correcto (sin destacar), el sonido es rotundo, con matices, llegas a apreciar casi cada nota y aunque son muy sucios, son bastante bonitos y cómodos.

@XiaomiMexico estoy muy decepcionado porque mis #FlipBudsPro dejaron de funcionar porque no los cargué en dos semanas porqué e salí de viaje. Ya hice de todo pero no cargan. El estuche sirve y carga pero no transfiere carga a ningún audífono. Tengo con ellos apenas unos meses.


Xiaomi u svojoj ponudi ima bogatu selekciju TWS-a, ali se njihove FlipBuds Pro izdvajaju u moru ovakvih modela činjenicom da ih pokreće Qualcomm platforma sa brojnim tehnologijama ove kompanije vezanim za zvuk 👇 #Xiaomi #FlipBudsPro 🎧 #Qualcomm #TWS benchmark.rs/vesti/slusalic…


💥 ¡OFERTA ESPECIAL! 💥 Adquiere aquí: 👉 bit.ly/3KcEoeq Los Xiaomi FlipBuds Pro en color Obsidian Black nuestra tienda de @LinioMexico a un increíble precio 😃 #FlipBudsPro #Xiaomi #Linio @XiaomiMexico

xiaomistoremex's tweet image. 💥 ¡OFERTA ESPECIAL! 💥 Adquiere aquí: 👉 bit.ly/3KcEoeq Los Xiaomi FlipBuds Pro en color Obsidian Black nuestra tienda de @LinioMexico a un increíble precio 😃 #FlipBudsPro #Xiaomi #Linio @XiaomiMexico

Xiaomi FlipBudsPro 購入しました! 超反射するカッコいいボディー⤴⤴ 音は低音が深く高音は薄く抜ける感じです! Mi Air2Proより確実に進化してます! #Xiaomi #ゴキブリブラック #FlipBudsPro #はぁ〜また買っちゃった 1mmぐらい #いきりっち

my_xfn's tweet image. Xiaomi FlipBudsPro 購入しました!
超反射するカッコいいボディー⤴⤴
音は低音が深く高音は薄く抜ける感じです!
Mi Air2Proより確実に進化してます!
#Xiaomi
#ゴキブリブラック
#FlipBudsPro 
#はぁ〜また買っちゃった
1mmぐらい #いきりっち
my_xfn's tweet image. Xiaomi FlipBudsPro 購入しました!
超反射するカッコいいボディー⤴⤴
音は低音が深く高音は薄く抜ける感じです!
Mi Air2Proより確実に進化してます!
#Xiaomi
#ゴキブリブラック
#FlipBudsPro 
#はぁ〜また買っちゃった
1mmぐらい #いきりっち
my_xfn's tweet image. Xiaomi FlipBudsPro 購入しました!
超反射するカッコいいボディー⤴⤴
音は低音が深く高音は薄く抜ける感じです!
Mi Air2Proより確実に進化してます!
#Xiaomi
#ゴキブリブラック
#FlipBudsPro 
#はぁ〜また買っちゃった
1mmぐらい #いきりっち

Imagínate vivir la experiencia #Cinemagia del #Xiaomi11TPro más el sonido espectacular de los #FlipBudsPro 🤩 y un precio de lanzamiento especial 😉 Adquiérelos en nuestra web oficial aquí 👉 bit.ly/2ZPFlY4 y participa además del sorteo de una #MiTVQ1 de 75"

XiaomiPeru's tweet image. Imagínate vivir la experiencia #Cinemagia del #Xiaomi11TPro más el sonido espectacular de los #FlipBudsPro 🤩 y un precio de lanzamiento especial 😉 Adquiérelos en nuestra web oficial aquí 👉 bit.ly/2ZPFlY4 y participa además del sorteo de una #MiTVQ1 de 75"

一応、Snapdragon Sound に対応してる qcc5151 と qcc3056 チップを積んだやつの接続情報も比較として貼っとこう 勿論のように aptX Adaptive 96kHz/24bit で接続できて使えてる #FlipBudsPro #TED01m2

k56apps's tweet image. 一応、Snapdragon Sound に対応してる qcc5151 と qcc3056 チップを積んだやつの接続情報も比較として貼っとこう
勿論のように aptX Adaptive 96kHz/24bit で接続できて使えてる

#FlipBudsPro
#TED01m2
k56apps's tweet image. 一応、Snapdragon Sound に対応してる qcc5151 と qcc3056 チップを積んだやつの接続情報も比較として貼っとこう
勿論のように aptX Adaptive 96kHz/24bit で接続できて使えてる

#FlipBudsPro
#TED01m2

手元にある aptX Adaptive 対応イヤホン達 Snapdragon Sound 認定のないイヤホンでもチップが対応してれば、96kHz/24bit で問題なく再生できる コスパ的には 1more Color Buds2 はお得かもしれない #FlipBudsPro #TED01m2 #ColorBuds2

k56apps's tweet image. 手元にある aptX Adaptive 対応イヤホン達
Snapdragon Sound 認定のないイヤホンでもチップが対応してれば、96kHz/24bit で問題なく再生できる
コスパ的には 1more Color Buds2 はお得かもしれない

#FlipBudsPro
#TED01m2
#ColorBuds2

Xiaomi Flipbuds Pro ! Active Noise Cancellation l Supports Wireless Charging l Up to 28 Hours Battery Life #Xiaomi #FlipBudsPro #XiaomiFlipBudsPro

XiaomiGhana's tweet image. Xiaomi Flipbuds Pro !
Active Noise Cancellation l Supports Wireless Charging l Up to 28 Hours Battery Life
#Xiaomi #FlipBudsPro #XiaomiFlipBudsPro
XiaomiGhana's tweet image. Xiaomi Flipbuds Pro !
Active Noise Cancellation l Supports Wireless Charging l Up to 28 Hours Battery Life
#Xiaomi #FlipBudsPro #XiaomiFlipBudsPro
XiaomiGhana's tweet image. Xiaomi Flipbuds Pro !
Active Noise Cancellation l Supports Wireless Charging l Up to 28 Hours Battery Life
#Xiaomi #FlipBudsPro #XiaomiFlipBudsPro
XiaomiGhana's tweet image. Xiaomi Flipbuds Pro !
Active Noise Cancellation l Supports Wireless Charging l Up to 28 Hours Battery Life
#Xiaomi #FlipBudsPro #XiaomiFlipBudsPro

Meet #XiaomiFlipBudsPro. It supports up to 28 hours of battery life, supports wireless charging and dual device connection. #Xiaomi #FlipBudsPro #XiaomiFlipBudsPro

XiaomiGhana's tweet image. Meet #XiaomiFlipBudsPro. It supports up to 28 hours of battery life, supports wireless charging and dual device connection. #Xiaomi #FlipBudsPro #XiaomiFlipBudsPro

Xiaomi lanzó más productos de su línea IoT entre esos la Mi Electric Scooter 3, Mi Smart Speaker y los auriculares FlipBudsPro #Xiaomi #FlipBudsPro #MiElectricscooter3 #MiSmartSpeaker @XiaomiMexico tecnodivaoficial.blogspot.com/2021/11/Lanzam…

Tecnodiva's tweet image. Xiaomi lanzó más productos de su línea IoT entre esos la Mi Electric Scooter 3,  Mi Smart Speaker y los auriculares FlipBudsPro #Xiaomi #FlipBudsPro #MiElectricscooter3 #MiSmartSpeaker @XiaomiMexico  tecnodivaoficial.blogspot.com/2021/11/Lanzam…
Tecnodiva's tweet image. Xiaomi lanzó más productos de su línea IoT entre esos la Mi Electric Scooter 3,  Mi Smart Speaker y los auriculares FlipBudsPro #Xiaomi #FlipBudsPro #MiElectricscooter3 #MiSmartSpeaker @XiaomiMexico  tecnodivaoficial.blogspot.com/2021/11/Lanzam…
Tecnodiva's tweet image. Xiaomi lanzó más productos de su línea IoT entre esos la Mi Electric Scooter 3,  Mi Smart Speaker y los auriculares FlipBudsPro #Xiaomi #FlipBudsPro #MiElectricscooter3 #MiSmartSpeaker @XiaomiMexico  tecnodivaoficial.blogspot.com/2021/11/Lanzam…

Firmware updates are always welcome in town! Upgrading my Xiaomi Flipbuds Pro...🤩 #xiaomi #flipbudspro #mi11ultra

225mobiles's tweet image. Firmware updates are always welcome in town! Upgrading my Xiaomi Flipbuds Pro...🤩 #xiaomi #flipbudspro #mi11ultra

Los Xiaomi #FlipbudsPro cuentan con la emblemática cancelación de Ruido Activa Híbrida, que puede llegar hasta 40dB de cancelación de ruido. 28 horas de uso total, tecnología Qualcomm® y compatibles con carga inalámbrica.

TecnoMarketingN's tweet image. Los Xiaomi #FlipbudsPro cuentan con la emblemática cancelación de Ruido Activa Híbrida, que puede llegar hasta 40dB de cancelación de ruido. 28 horas de uso total, tecnología Qualcomm® y compatibles con carga inalámbrica.

Este audífonos viene con una de las características que más buscamos a la hora de escoger unos buenos audífonos y es su capacidad de cancelación de ruido. Los #FlipBudsPro cuentan con varios modos de cancelación de ruido: diario, oficina y avión.

TecnoMarketingN's tweet image. Este audífonos viene con una de las características que más buscamos a la hora de escoger unos buenos audífonos y es su capacidad de cancelación de ruido. Los #FlipBudsPro cuentan con varios modos de cancelación de ruido: diario, oficina y avión.

Y si pensaban que con eso cerraba Xiaomi, están muy equivocados. Ahora anuncian los #FlipBudsPro uno de los productos de ecosistema que más estaban esperando los amantes de esta marca.

TecnoMarketingN's tweet image. Y si pensaban que con eso cerraba Xiaomi, están muy equivocados. Ahora anuncian los #FlipBudsPro uno de los productos de ecosistema que más estaban esperando los amantes de esta marca.

Müzik severlerimiz için bir diğer kulaklığımız ise şık tasarımı, olağanüstü bir gürültü engelleme teknolojisi ve güçlü ses kalitesiyle hem kulağa hem göze hitap eden #FlipBudsPro! 🖤 Tarafını seç, müziğini durdurma. 🎼

XiaomiTurkiye's tweet image. Müzik severlerimiz için bir diğer kulaklığımız ise şık tasarımı, olağanüstü bir gürültü engelleme teknolojisi ve güçlü ses kalitesiyle hem kulağa hem göze hitap eden #FlipBudsPro! 🖤 Tarafını seç, müziğini durdurma. 🎼

Sadece kulağa değil, göze de hitap eden #FlipBudsPro ile olağanüstü bir ses deneyimine hazır mısınız? 👁️🎼 keşfetmek için hemen mi.com'u ziyaret et. 🖤

XiaomiTurkiye's tweet image. Sadece kulağa değil, göze de hitap eden #FlipBudsPro ile olağanüstü bir ses deneyimine hazır mısınız? 👁️🎼

keşfetmek için hemen mi.com'u ziyaret et. 🖤

#FlipBudsPro'nun gücüne bağlan! 🎼😎 Şık tasarımı, en yeni gürültü engelleme teknolojisi ve güçlü ses kalitesiyle en iyi ses deneyimini keşfetmek için hemen bağlantıya tıkla! 👉🏻 bit.ly/3BB8zYD

XiaomiTurkiye's tweet image. #FlipBudsPro'nun gücüne bağlan! 🎼😎 Şık tasarımı, en yeni gürültü engelleme teknolojisi ve güçlü ses kalitesiyle en iyi ses deneyimini keşfetmek için hemen bağlantıya tıkla! 👉🏻 bit.ly/3BB8zYD

รีวิว Xiaomi : FlipBuds Pro (ราคา 5,699 บาท) ⭐️⭐️⭐️⭐️⭐️ “หูฟังไร้สายที่ให้เสียงฟังสนุก เก็บทุกรายละเอียด ตัดเสียงรบกวนดี ฟีเจอร์แน่น” #Xiaomi #FlipBudsPro #ANC #TWS #AVTechGuide avtechguide.com/review-xiaomi-…


"#flipbudspro"에 대한 결과가 없습니다

Xiaomi FlipBuds Pro Review: Are the new ANC Earbuds any Good? gizmochina.com/2021/05/25/xia… #FlipbudsPro #Xiaomi #earbuds #Tws #ANC

gizmochina's tweet image. Xiaomi FlipBuds Pro Review: Are the new ANC Earbuds any Good? 

gizmochina.com/2021/05/25/xia… 

#FlipbudsPro #Xiaomi #earbuds #Tws #ANC

Esto se puso muy interesante... #FlipBudsPro #Xiaomi

geekdegafas's tweet image. Esto se puso muy interesante... #FlipBudsPro #Xiaomi

شاومي تعلن رسميا عن سماعة شاومي البلوتوث اللاسلكية Xiaomi FlipBuds Pro بسعر 125$ بميزة عزل الضوضاء المتطور Mi Noise Cancelling Headphone Pro و ميزة تمرير الصوت transparent mode باستخدام معالج Qualcomm aptX. #Xiaomi #FlipBudsPro

drbeel_techno's tweet image. شاومي تعلن رسميا عن سماعة شاومي البلوتوث اللاسلكية Xiaomi FlipBuds Pro بسعر 125$ بميزة عزل الضوضاء المتطور Mi Noise Cancelling Headphone Pro و ميزة تمرير الصوت transparent mode باستخدام معالج Qualcomm aptX.
#Xiaomi #FlipBudsPro
drbeel_techno's tweet image. شاومي تعلن رسميا عن سماعة شاومي البلوتوث اللاسلكية Xiaomi FlipBuds Pro بسعر 125$ بميزة عزل الضوضاء المتطور Mi Noise Cancelling Headphone Pro و ميزة تمرير الصوت transparent mode باستخدام معالج Qualcomm aptX.
#Xiaomi #FlipBudsPro
drbeel_techno's tweet image. شاومي تعلن رسميا عن سماعة شاومي البلوتوث اللاسلكية Xiaomi FlipBuds Pro بسعر 125$ بميزة عزل الضوضاء المتطور Mi Noise Cancelling Headphone Pro و ميزة تمرير الصوت transparent mode باستخدام معالج Qualcomm aptX.
#Xiaomi #FlipBudsPro
drbeel_techno's tweet image. شاومي تعلن رسميا عن سماعة شاومي البلوتوث اللاسلكية Xiaomi FlipBuds Pro بسعر 125$ بميزة عزل الضوضاء المتطور Mi Noise Cancelling Headphone Pro و ميزة تمرير الصوت transparent mode باستخدام معالج Qualcomm aptX.
#Xiaomi #FlipBudsPro

Xiaomi Flip Buds Pro launched at 799yuan/9100inr/$123 in china, pre booking from tomorrow and sale from May 21 #Xiaomi #FlipBudsPro

KaroulSahil's tweet image. Xiaomi Flip Buds Pro launched at 799yuan/9100inr/$123 in china, pre booking from tomorrow and sale from May 21
#Xiaomi #FlipBudsPro

Los #FlipBudsPro de Xiaomi son una pasada. Tiene algunos peros, evidentemente, pero los micros están a un nivel correcto (sin destacar), el sonido es rotundo, con matices, llegas a apreciar casi cada nota y aunque son muy sucios, son bastante bonitos y cómodos.

geekdegafas's tweet image. Los #FlipBudsPro de Xiaomi son una pasada. Tiene algunos peros, evidentemente, pero los micros están a un nivel correcto (sin destacar), el sonido es rotundo, con matices, llegas a apreciar casi cada nota y aunque son muy sucios, son bastante bonitos y cómodos.

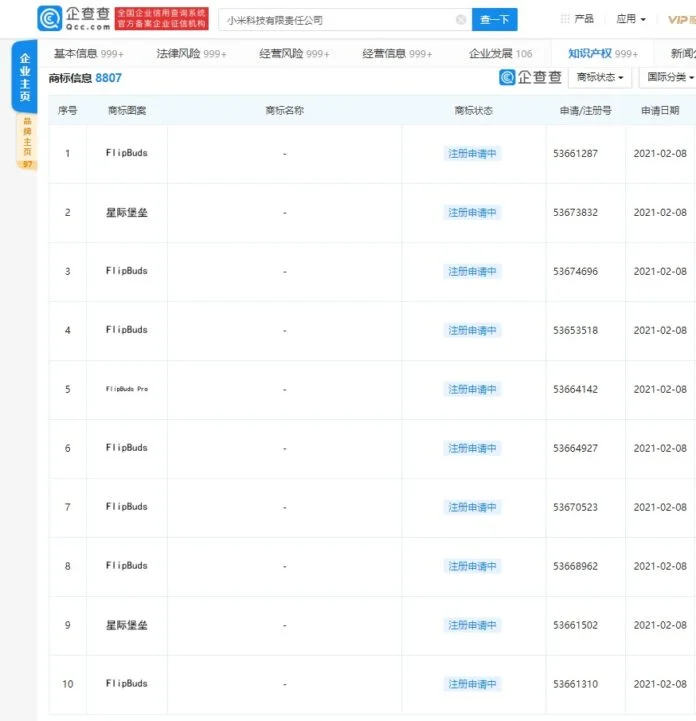
Xiaomi files the trademark for FlipBuds and FlipBuds Pro. #Xiaomi #FlipBuds #FlipBudsPro Via: gizmochina.com/2021/02/18/xia…

theprtech's tweet image. Xiaomi files the trademark for FlipBuds and FlipBuds Pro.
#Xiaomi #FlipBuds #FlipBudsPro 

Via: gizmochina.com/2021/02/18/xia…

#Xiaomi #QualcommSnapdragonSound #FlipBudsPro سماعة Xiaomi FlipBuds Pro البلوتوث اللاسلكية تصبح أول سماعة في العالم تحصل على دعم تقنية الصوت عالية الجودة Qualcomm Snapdragon Sound مع تحديث 7.6.2.9 الذي يرفع درجة جودة الصوت الى 48kHz و 96kHz بالإضافة الى رفع وقت الإستجابة إلى 89ms

drbeel_techno's tweet image. #Xiaomi #QualcommSnapdragonSound #FlipBudsPro
سماعة Xiaomi FlipBuds Pro البلوتوث اللاسلكية تصبح أول سماعة في العالم تحصل على دعم تقنية الصوت عالية الجودة Qualcomm Snapdragon Sound مع تحديث 7.6.2.9 الذي يرفع درجة جودة الصوت الى 48kHz و 96kHz بالإضافة الى رفع وقت الإستجابة إلى 89ms

Xiaomi FlipBuds Pro is the world’s first to feature Qualcomm Snapdragon Sound gizmochina.com/2021/07/28/xia… #Xiaomi #FlipBudsPro #Qualcomm #SnapdragonSound

gizmochina's tweet image. Xiaomi FlipBuds Pro is the world’s first to feature Qualcomm Snapdragon Sound

gizmochina.com/2021/07/28/xia…

#Xiaomi #FlipBudsPro #Qualcomm #SnapdragonSound

Xiaomi FlipBuds Pro TWS Launched. - 40dB Noise Cancellation - Price: 799 yuan ($124) (~₹9k) #TechSaala #Xiaomi #FlipBudsPro #Flipbuds #TWS

Tech_Saala's tweet image. Xiaomi FlipBuds Pro TWS Launched.
- 40dB Noise Cancellation
- Price: 799 yuan ($124) (~₹9k)
#TechSaala #Xiaomi #FlipBudsPro #Flipbuds #TWS

Xiaomi files the trademark for FlipBuds and FlipBuds Pro. #Xiaomi #FlipBuds #FlipBudsPro Via: gizmochina.com/2021/02/18/xia…

stufflistings's tweet image. Xiaomi files the trademark for FlipBuds and FlipBuds Pro.
#Xiaomi #FlipBuds #FlipBudsPro 

Via: gizmochina.com/2021/02/18/xia…

一応、Snapdragon Sound に対応してる qcc5151 と qcc3056 チップを積んだやつの接続情報も比較として貼っとこう 勿論のように aptX Adaptive 96kHz/24bit で接続できて使えてる #FlipBudsPro #TED01m2

k56apps's tweet image. 一応、Snapdragon Sound に対応してる qcc5151 と qcc3056 チップを積んだやつの接続情報も比較として貼っとこう
勿論のように aptX Adaptive 96kHz/24bit で接続できて使えてる

#FlipBudsPro
#TED01m2
k56apps's tweet image. 一応、Snapdragon Sound に対応してる qcc5151 と qcc3056 チップを積んだやつの接続情報も比較として貼っとこう
勿論のように aptX Adaptive 96kHz/24bit で接続できて使えてる

#FlipBudsPro
#TED01m2

Me pillé los Jabra Elite 75T (increíbles) y próximamente toca analizar estos #FlipbudsPro de #Xiaomi.

geekdegafas's tweet image. Me pillé los Jabra Elite 75T (increíbles) y próximamente toca analizar estos #FlipbudsPro de #Xiaomi.

Xiaomi FlipBuds Pro will Support Active Noise Cancellation upto 40dB. #Xiaomi #FlipBudsPro #XiaomiFlipBudsPro

KoushalTiwari12's tweet image. Xiaomi FlipBuds Pro will Support Active Noise Cancellation upto 40dB.
#Xiaomi #FlipBudsPro #XiaomiFlipBudsPro

Xiaomi FlipBuds Pro TWS earphones now available in China for 799 yuan ($124) gizmochina.com/2021/05/21/xia… #Xiaomi #FlipBudsPro #XiaomiFlipBudsPro #TWS #Earphones #ANC #China

gizmochina's tweet image. Xiaomi FlipBuds Pro TWS earphones now available in China for 799 yuan ($124)

gizmochina.com/2021/05/21/xia…

#Xiaomi #FlipBudsPro #XiaomiFlipBudsPro #TWS #Earphones #ANC #China

Upcoming Xiaomi wireless earbuds are called Mi FlipBuds Pro: Official gizmochina.com/2021/05/11/xia… #Xiaomi #Mi #FlipBudsPro #MiFlipBudsPro

gizmochina's tweet image. Upcoming Xiaomi wireless earbuds are called Mi FlipBuds Pro: Official

gizmochina.com/2021/05/11/xia…

#Xiaomi #Mi #FlipBudsPro #MiFlipBudsPro

手元にある aptX Adaptive 対応イヤホン達 Snapdragon Sound 認定のないイヤホンでもチップが対応してれば、96kHz/24bit で問題なく再生できる コスパ的には 1more Color Buds2 はお得かもしれない #FlipBudsPro #TED01m2 #ColorBuds2

k56apps's tweet image. 手元にある aptX Adaptive 対応イヤホン達
Snapdragon Sound 認定のないイヤホンでもチップが対応してれば、96kHz/24bit で問題なく再生できる
コスパ的には 1more Color Buds2 はお得かもしれない

#FlipBudsPro
#TED01m2
#ColorBuds2

Xiaomi Flipbuds Pro 👇😍 Noise reduction depth of 40dB -Three levels of ANC support travel, daily, office. -Gesture Support -Earplug Fit & Wearing detection support -aptX Adaptive/AAC/SBC three audio coding 🤑¥799/₹9,118/$123/€102 #XiaomiFlipbudsPro #FlipbudsPro

TechyPreacher's tweet image. Xiaomi Flipbuds Pro 👇😍

Noise reduction depth of 40dB
-Three levels of ANC support travel, daily, office.
-Gesture Support
-Earplug Fit & Wearing detection support
-aptX Adaptive/AAC/SBC three audio coding

🤑¥799/₹9,118/$123/€102

#XiaomiFlipbudsPro #FlipbudsPro
TechyPreacher's tweet image. Xiaomi Flipbuds Pro 👇😍

Noise reduction depth of 40dB
-Three levels of ANC support travel, daily, office.
-Gesture Support
-Earplug Fit & Wearing detection support
-aptX Adaptive/AAC/SBC three audio coding

🤑¥799/₹9,118/$123/€102

#XiaomiFlipbudsPro #FlipbudsPro
TechyPreacher's tweet image. Xiaomi Flipbuds Pro 👇😍

Noise reduction depth of 40dB
-Three levels of ANC support travel, daily, office.
-Gesture Support
-Earplug Fit & Wearing detection support
-aptX Adaptive/AAC/SBC three audio coding

🤑¥799/₹9,118/$123/€102

#XiaomiFlipbudsPro #FlipbudsPro
TechyPreacher's tweet image. Xiaomi Flipbuds Pro 👇😍

Noise reduction depth of 40dB
-Three levels of ANC support travel, daily, office.
-Gesture Support
-Earplug Fit & Wearing detection support
-aptX Adaptive/AAC/SBC three audio coding

🤑¥799/₹9,118/$123/€102

#XiaomiFlipbudsPro #FlipbudsPro

Xiaomi Flipbuds Pro launched in China. Noise reduction depth of 40dB -Three levels of ANC support travel, daily, office. -Gesture Support -Earplug Fit & Wearing detection support -aptX Adaptive/AAC/SBC three audio coding 🤑¥799/₹9,118/$123/€102 #XiaomiFlipbudsPro #FlipbudsPro

TechyPreacher's tweet image. Xiaomi Flipbuds Pro launched in China.

Noise reduction depth of 40dB
-Three levels of ANC support travel, daily, office.
-Gesture Support
-Earplug Fit & Wearing detection support
-aptX Adaptive/AAC/SBC three audio coding

🤑¥799/₹9,118/$123/€102
#XiaomiFlipbudsPro #FlipbudsPro
TechyPreacher's tweet image. Xiaomi Flipbuds Pro launched in China.

Noise reduction depth of 40dB
-Three levels of ANC support travel, daily, office.
-Gesture Support
-Earplug Fit & Wearing detection support
-aptX Adaptive/AAC/SBC three audio coding

🤑¥799/₹9,118/$123/€102
#XiaomiFlipbudsPro #FlipbudsPro
TechyPreacher's tweet image. Xiaomi Flipbuds Pro launched in China.

Noise reduction depth of 40dB
-Three levels of ANC support travel, daily, office.
-Gesture Support
-Earplug Fit & Wearing detection support
-aptX Adaptive/AAC/SBC three audio coding

🤑¥799/₹9,118/$123/€102
#XiaomiFlipbudsPro #FlipbudsPro
TechyPreacher's tweet image. Xiaomi Flipbuds Pro launched in China.

Noise reduction depth of 40dB
-Three levels of ANC support travel, daily, office.
-Gesture Support
-Earplug Fit & Wearing detection support
-aptX Adaptive/AAC/SBC three audio coding

🤑¥799/₹9,118/$123/€102
#XiaomiFlipbudsPro #FlipbudsPro


Xiaomi Exec reveals more details of FlipBuds Pro prior to May 13 launch gizmochina.com/2021/05/12/xia… #Xiaomi #Mi #FlipBudsPro

gizmochina's tweet image. Xiaomi Exec reveals more details of FlipBuds Pro prior to May 13 launch

gizmochina.com/2021/05/12/xia…

#Xiaomi #Mi #FlipBudsPro

Loading...

Something went wrong.


Something went wrong.