#interactivemedia search results

👀 The audience doesn’t just watch, they remix and respond. 🌐 At Catmicut Ltd, we design content as a loop, not a lecture. 🎯 Stories should invite participation. 💎 It’s not broadcast. It’s collaboration. #Catmicut #InteractiveMedia #AudienceDesign #ContentRemix

catmicut_ltd's tweet image. 👀 The audience doesn’t just watch, they remix and respond.
🌐 At Catmicut Ltd, we design content as a loop, not a lecture.
🎯 Stories should invite participation.
💎 It’s not broadcast. It’s collaboration.

#Catmicut #InteractiveMedia #AudienceDesign #ContentRemix

The future of fun is being pushed beyond boundaries where tech meets immersion, demanding deeper interaction rather than passive viewing. The next era of entertainment is being built at @_technotainment #InteractiveMedia #Innovation

worldislol's tweet image. The future of fun is being pushed beyond boundaries where tech meets immersion, demanding deeper interaction rather than passive viewing.

The next era of entertainment is being built at 
@_technotainment

#InteractiveMedia #Innovation

🎮 Join us to discuss The Future of Social Media and Gaming. MeWe & JSR unite to explore the future of our online social lives. If social media is the new arena, who’s designing the game and who’s playing? mewe.com/e/mewejsr-desi… #SocialDesign #InteractiveMedia #CreatorEconomy

mewe's tweet image. 🎮 Join us to discuss The Future of Social Media and Gaming. MeWe & JSR unite to explore the future of our online social lives. If social media is the new arena, who’s designing the game and who’s playing? 
mewe.com/e/mewejsr-desi…
#SocialDesign #InteractiveMedia #CreatorEconomy…

Creative tech meet @ Param Foundation -16th NOV AI, visuals, and interaction in motion. Live demos, creative exchange, real connections. 📍Param Office Jayanagar | 🕛 12–1:30 PM book here : luma.com/xw30lbkm #CreativeTech #InteractiveMedia #ParamFoundation


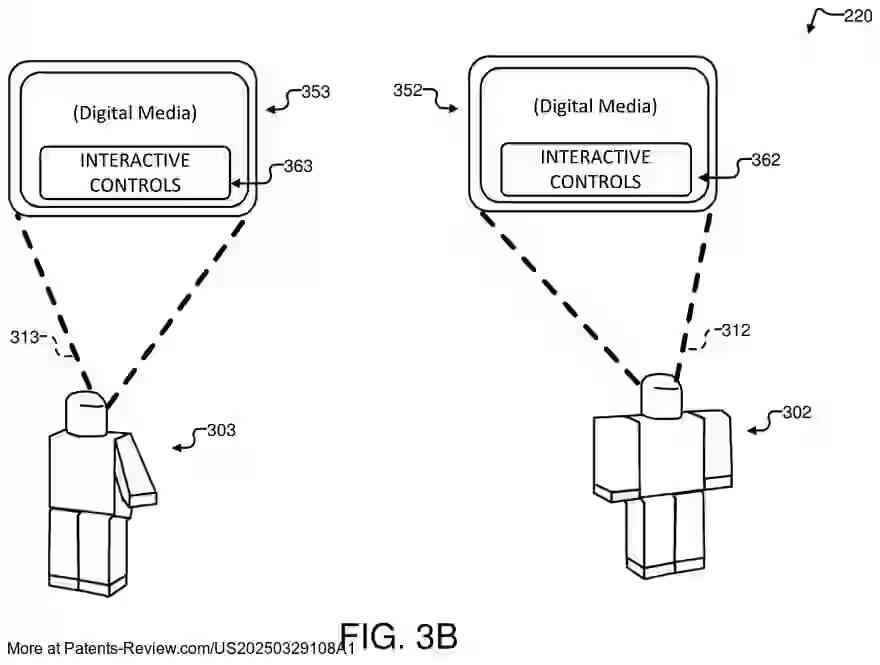
🚀 New patent application #US20250329108A1 by #Roblox explores #InteractiveMedia in virtual experiences. It involves methods for presenting media based on user interaction, using avatars to determine interest levels and viewability criteria. The system integrates video…

PatentPulse's tweet image. 🚀 New patent application #US20250329108A1 by #Roblox explores #InteractiveMedia in virtual experiences. It involves methods for presenting media based on user interaction, using avatars to determine interest levels and viewability criteria. 
  
The system integrates video…
PatentPulse's tweet image. 🚀 New patent application #US20250329108A1 by #Roblox explores #InteractiveMedia in virtual experiences. It involves methods for presenting media based on user interaction, using avatars to determine interest levels and viewability criteria. 
  
The system integrates video…
PatentPulse's tweet image. 🚀 New patent application #US20250329108A1 by #Roblox explores #InteractiveMedia in virtual experiences. It involves methods for presenting media based on user interaction, using avatars to determine interest levels and viewability criteria. 
  
The system integrates video…

Etkileşimli Ortam Tasarlamak Designing an Interactive Environment #interactivemedia #design

vcolak1's tweet image. Etkileşimli Ortam Tasarlamak
Designing an Interactive Environment

#interactivemedia #design
vcolak1's tweet image. Etkileşimli Ortam Tasarlamak
Designing an Interactive Environment

#interactivemedia #design
vcolak1's tweet image. Etkileşimli Ortam Tasarlamak
Designing an Interactive Environment

#interactivemedia #design
vcolak1's tweet image. Etkileşimli Ortam Tasarlamak
Designing an Interactive Environment

#interactivemedia #design

We're expanding into interactive storytelling, gaming, and immersive worlds! 📷📷If you're building or dreaming about extending your IP into interactive media, we want to hear from you. Let's create the future together. #EscapeAI #InteractiveMedia #GameDev

escapeaimedia's tweet image. We're expanding into interactive storytelling, gaming, and immersive worlds! 📷📷If you're building or dreaming about extending your IP into interactive media, we want to hear from you. Let's create the future together.

#EscapeAI #InteractiveMedia #GameDev

What we do at Edge Video AI? It's really simple. #EdgeVideoAI #RealTimeShopping #InteractiveMedia

edgevideoai's tweet image. What we do at Edge Video AI? It's really simple. 

#EdgeVideoAI #RealTimeShopping #InteractiveMedia

Engagement becomes ownership. Participation builds value. 🔥🔥🔥 @_technotainment #AI #Blockchain #InteractiveMedia #Web3 #Entertainment #CreatorsEconomy #FutureOfStorytelling


"When kids realise they can not just listen to their favourite characters but also play, learn, chat & co-create stories, that’s when the magic happens." - Neha Sharma, Co-founder & CEO @Vobble_fun, a screen-free AI audio platform for kids. #InteractiveMedia #Lumikai


Make your show interactive by asking questions, conducting polls, and reading viewer comments. Social media is your friend! Let the audience be part of the news. #BroadcastNews #InteractiveMedia

CorporateStrea1's tweet image. Make your show interactive by asking questions, conducting polls, and reading viewer comments. Social media is your friend! Let the audience be part of the news. 
#BroadcastNews #InteractiveMedia

"How does marketing show up in a world that's invisible currently?" Nic Hill on the challenges and opportunities of AR in marketing. #interactivemedia #immersivemarketing #interactivemarketing #brandedcontent #agency #startups #product #TheGlowUp #AF #businessPodcast #podcast #np


Need a story about a teen using RPGs to survive daily stress? Castles of Imagination. Control the teen and the barbarian they're playing. #GameBooks #InteractiveMedia #InteractiveFiction

CastlesofImagin's tweet image. Need a story about a teen using RPGs to survive daily stress?

Castles of Imagination. Control the teen and the barbarian they're playing.
#GameBooks #InteractiveMedia #InteractiveFiction

I'm enjoying Jason Shiga's Samurai vs. Ninja. It's the same style of choices found in all three of his adventure game comics. I recommend. #InteractiveFiction #InteractiveMedia #InteractiveComics

CastlesofImagin's tweet image. I'm enjoying Jason Shiga's Samurai vs. Ninja.
It's the same style of choices found in all three of his adventure game comics.
I recommend.
#InteractiveFiction #InteractiveMedia #InteractiveComics
CastlesofImagin's tweet image. I'm enjoying Jason Shiga's Samurai vs. Ninja.
It's the same style of choices found in all three of his adventure game comics.
I recommend.
#InteractiveFiction #InteractiveMedia #InteractiveComics

Careful Merry Bear, Ladybird gonna get ya. #cat #interactivemedia #indiedev


Join us in shaping the future! We empower the global community to be the backbone of next-gen interactive media. Together, we build the infrastructure! @YOM_Official #InfrastructureProviders #InteractiveMedia


Join us in empowering the global community to become the infrastructure providers for the next generation of interactive media! @YOM_Official #InfrastructureProviders #InteractiveMedia


🎥 Imagine entertainment where you’re not just watching — you’re influencing the outcome. That’s the @_technotainment difference: interactive, intelligent, and built for the modern audience. Check it out 👉 technotainment.com 🚀 #Technotainment #InteractiveMedia


Join us in revolutionizing the future of media! Together, we can be the key infrastructure providers for next-gen interactive experiences. Let's build something big! @YOM_Official #InfrastructureProviders #InteractiveMedia


The future of fun is being pushed beyond boundaries where tech meets immersion, demanding deeper interaction rather than passive viewing. The next era of entertainment is being built at @_technotainment #InteractiveMedia #Innovation

worldislol's tweet image. The future of fun is being pushed beyond boundaries where tech meets immersion, demanding deeper interaction rather than passive viewing.

The next era of entertainment is being built at 
@_technotainment

#InteractiveMedia #Innovation

Witch Trinity: The Calling Coming Soon to InView With Witch Trinity: The Calling, you can follow: 1️⃣ Serena’s haunting journey 2️⃣ Simon’s desperate search 3️⃣ Her friends’ daring rescue 2bacting.com/iv/ #InteractiveMedia #FilmInnovation #InView #2bActing

2bacting's tweet image. Witch Trinity: The Calling
Coming Soon to InView
With Witch Trinity: The Calling, you can follow:
1️⃣ Serena’s haunting journey
2️⃣ Simon’s desperate search
3️⃣ Her friends’ daring rescue
 2bacting.com/iv/
#InteractiveMedia #FilmInnovation #InView #2bActing

Tired of passive entertainment? Technotainment is all about immersion and interaction. We're not just watching; we're doing! Get ready to step inside the game. Level up your leisure with @_technotainment! 🚀✨ #Gaming #VR #InteractiveMedia


@_technotainment Streaming today is passive. Streaming with Technotainment is active: chat, vote, buy, influence. Let’s flip the script. 🔄 #NextGenStreaming #InteractiveMedia


Creative tech meet @ Param Foundation -16th NOV AI, visuals, and interaction in motion. Live demos, creative exchange, real connections. 📍Param Office Jayanagar | 🕛 12–1:30 PM book here : luma.com/xw30lbkm #CreativeTech #InteractiveMedia #ParamFoundation


Engagement becomes ownership. Participation builds value. 🔥🔥🔥 @_technotainment #AI #Blockchain #InteractiveMedia #Web3 #Entertainment #CreatorsEconomy #FutureOfStorytelling


The future of fun is being pushed beyond boundaries where tech meets immersion, demanding deeper interaction rather than passive viewing. The next era of entertainment is being built at @_technotainment #InteractiveMedia #Innovation

worldislol's tweet image. The future of fun is being pushed beyond boundaries where tech meets immersion, demanding deeper interaction rather than passive viewing.

The next era of entertainment is being built at 
@_technotainment

#InteractiveMedia #Innovation

👀 The audience doesn’t just watch, they remix and respond. 🌐 At Catmicut Ltd, we design content as a loop, not a lecture. 🎯 Stories should invite participation. 💎 It’s not broadcast. It’s collaboration. #Catmicut #InteractiveMedia #AudienceDesign #ContentRemix

catmicut_ltd's tweet image. 👀 The audience doesn’t just watch, they remix and respond.
🌐 At Catmicut Ltd, we design content as a loop, not a lecture.
🎯 Stories should invite participation.
💎 It’s not broadcast. It’s collaboration.

#Catmicut #InteractiveMedia #AudienceDesign #ContentRemix

🎮 Join us to discuss The Future of Social Media and Gaming. MeWe & JSR unite to explore the future of our online social lives. If social media is the new arena, who’s designing the game and who’s playing? mewe.com/e/mewejsr-desi… #SocialDesign #InteractiveMedia #CreatorEconomy

mewe's tweet image. 🎮 Join us to discuss The Future of Social Media and Gaming. MeWe & JSR unite to explore the future of our online social lives. If social media is the new arena, who’s designing the game and who’s playing? 
mewe.com/e/mewejsr-desi…
#SocialDesign #InteractiveMedia #CreatorEconomy…

🚀 New patent application #US20250329108A1 by #Roblox explores #InteractiveMedia in virtual experiences. It involves methods for presenting media based on user interaction, using avatars to determine interest levels and viewability criteria. The system integrates video…

PatentPulse's tweet image. 🚀 New patent application #US20250329108A1 by #Roblox explores #InteractiveMedia in virtual experiences. It involves methods for presenting media based on user interaction, using avatars to determine interest levels and viewability criteria. 
  
The system integrates video…
PatentPulse's tweet image. 🚀 New patent application #US20250329108A1 by #Roblox explores #InteractiveMedia in virtual experiences. It involves methods for presenting media based on user interaction, using avatars to determine interest levels and viewability criteria. 
  
The system integrates video…
PatentPulse's tweet image. 🚀 New patent application #US20250329108A1 by #Roblox explores #InteractiveMedia in virtual experiences. It involves methods for presenting media based on user interaction, using avatars to determine interest levels and viewability criteria. 
  
The system integrates video…

Etkileşimli Ortam Tasarlamak Designing an Interactive Environment #interactivemedia #design

vcolak1's tweet image. Etkileşimli Ortam Tasarlamak
Designing an Interactive Environment

#interactivemedia #design
vcolak1's tweet image. Etkileşimli Ortam Tasarlamak
Designing an Interactive Environment

#interactivemedia #design
vcolak1's tweet image. Etkileşimli Ortam Tasarlamak
Designing an Interactive Environment

#interactivemedia #design
vcolak1's tweet image. Etkileşimli Ortam Tasarlamak
Designing an Interactive Environment

#interactivemedia #design

#Highereducation institutions need to realize that #onlinelearning is not just the transfer of knowledge from books to a set of #interactivemedia.

ExtensionEngine's tweet image. #Highereducation institutions need to realize that #onlinelearning is not just the transfer of knowledge from books to a set of #interactivemedia.

Love it! @aitvgg is revolutionizing streaming by making it interactive and community-driven. Agents that talk back, value built by the community, and every moment contributing to the chain. This is the future of media! #aitvgg #InteractiveMedia #CommunityFirst #BBNaijaseason10

SirDivine20's tweet image. Love it! @aitvgg is revolutionizing streaming by making it interactive and community-driven. Agents that talk back, value built by the community, and every moment contributing to the chain. This is the future of media! #aitvgg #InteractiveMedia #CommunityFirst #BBNaijaseason10

We're expanding into interactive storytelling, gaming, and immersive worlds! 📷📷If you're building or dreaming about extending your IP into interactive media, we want to hear from you. Let's create the future together. #EscapeAI #InteractiveMedia #GameDev

escapeaimedia's tweet image. We're expanding into interactive storytelling, gaming, and immersive worlds! 📷📷If you're building or dreaming about extending your IP into interactive media, we want to hear from you. Let's create the future together.

#EscapeAI #InteractiveMedia #GameDev

Make your show interactive by asking questions, conducting polls, and reading viewer comments. Social media is your friend! Let the audience be part of the news. #BroadcastNews #InteractiveMedia

CorporateStrea1's tweet image. Make your show interactive by asking questions, conducting polls, and reading viewer comments. Social media is your friend! Let the audience be part of the news. 
#BroadcastNews #InteractiveMedia

Need a story about a teen using RPGs to survive daily stress? Castles of Imagination. Control the teen and the barbarian they're playing. #GameBooks #InteractiveMedia #InteractiveFiction

CastlesofImagin's tweet image. Need a story about a teen using RPGs to survive daily stress?

Castles of Imagination. Control the teen and the barbarian they're playing.
#GameBooks #InteractiveMedia #InteractiveFiction

For our March #Connections #Roundtable, we talked with industry experts to explore forthcoming trends in #interactivemedia, current examples of innovation, and what the future of audience engagement could look like. Watch the recap: hubs.la/Q01JR7ds0

HeartMindStrat's tweet image. For our March #Connections #Roundtable, we talked with industry experts to explore forthcoming trends in #interactivemedia, current examples of innovation, and what the future of audience engagement could look like. Watch the recap: hubs.la/Q01JR7ds0

I'm enjoying Jason Shiga's Samurai vs. Ninja. It's the same style of choices found in all three of his adventure game comics. I recommend. #InteractiveFiction #InteractiveMedia #InteractiveComics

CastlesofImagin's tweet image. I'm enjoying Jason Shiga's Samurai vs. Ninja.
It's the same style of choices found in all three of his adventure game comics.
I recommend.
#InteractiveFiction #InteractiveMedia #InteractiveComics
CastlesofImagin's tweet image. I'm enjoying Jason Shiga's Samurai vs. Ninja.
It's the same style of choices found in all three of his adventure game comics.
I recommend.
#InteractiveFiction #InteractiveMedia #InteractiveComics

From El Palacio De Los Jugos to Flanigans to Books and Books, #InteractiveMedia MFA alumna Melissa Gutierrez is known for her uniquely #Miami prints! 🖼 Melissa recently spoke to @WLRN where she shared her #illustration journey of capturing her hometown and childhood memories. 🌴

UMSoC's tweet image. From El Palacio De Los Jugos to Flanigans to Books and Books, #InteractiveMedia MFA alumna Melissa Gutierrez is known for her uniquely #Miami prints! 🖼 Melissa recently spoke to @WLRN where she shared her #illustration journey of capturing her hometown and childhood memories. 🌴
UMSoC's tweet image. From El Palacio De Los Jugos to Flanigans to Books and Books, #InteractiveMedia MFA alumna Melissa Gutierrez is known for her uniquely #Miami prints! 🖼 Melissa recently spoke to @WLRN where she shared her #illustration journey of capturing her hometown and childhood memories. 🌴

Make your press release impossible to scroll past. 🌎 Business Wire Interactive Media delivers engaging, clickable content and can be built distributed in multiple languages. hubs.la/Q03FTmvJ0 #InteractiveMedia #PressRelease #Multimedia #News

BusinessWire's tweet image. Make your press release impossible to scroll past. 🌎 Business Wire Interactive Media delivers engaging, clickable content and can be built distributed in multiple languages. hubs.la/Q03FTmvJ0

#InteractiveMedia #PressRelease #Multimedia #News

Loading...

Something went wrong.


Something went wrong.


United States Trends