#lightfieldlab search results

No results for "#lightfieldlab"

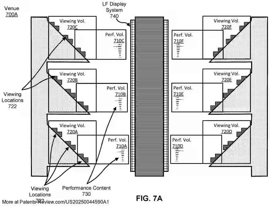
New patent application #US20250044590A1 by #LightFieldLab reveals a #LightField display system for #Holographic performances. LF modules create a performance volume for live events, enabling remote recording & display via a presentation network with digital rights management.

PatentPulse's tweet image. New patent application #US20250044590A1 by #LightFieldLab reveals a #LightField display system for #Holographic performances. LF modules create a performance volume for live events, enabling remote recording & display via a presentation network with digital rights management.
PatentPulse's tweet image. New patent application #US20250044590A1 by #LightFieldLab reveals a #LightField display system for #Holographic performances. LF modules create a performance volume for live events, enabling remote recording & display via a presentation network with digital rights management.
PatentPulse's tweet image. New patent application #US20250044590A1 by #LightFieldLab reveals a #LightField display system for #Holographic performances. LF modules create a performance volume for live events, enabling remote recording & display via a presentation network with digital rights management.

Very cool holographic experiences are coming. Light Field Lab launches SolidLight holographic imagery systems venturebeat.com/ai/light-field… via @GamesBeat #SolidLight #LightFieldLab #holograms


Discover the future of #AmusementParks! #LIGHTFIELDLAB, INC.'s new patent apl. #US20240286052 reveals a Light Field Display System for immersive holographic rides. Featuring LF display modules, tracking, and viewer profiling for personalized experiences #Holography

PatentPulse's tweet image. Discover the future of #AmusementParks! #LIGHTFIELDLAB, INC.'s new patent apl. #US20240286052 reveals a Light Field Display System for immersive holographic rides. Featuring LF display modules, tracking, and viewer profiling for personalized experiences #Holography
PatentPulse's tweet image. Discover the future of #AmusementParks! #LIGHTFIELDLAB, INC.'s new patent apl. #US20240286052 reveals a Light Field Display System for immersive holographic rides. Featuring LF display modules, tracking, and viewer profiling for personalized experiences #Holography
PatentPulse's tweet image. Discover the future of #AmusementParks! #LIGHTFIELDLAB, INC.'s new patent apl. #US20240286052 reveals a Light Field Display System for immersive holographic rides. Featuring LF display modules, tracking, and viewer profiling for personalized experiences #Holography
PatentPulse's tweet image. Discover the future of #AmusementParks! #LIGHTFIELDLAB, INC.'s new patent apl. #US20240286052 reveals a Light Field Display System for immersive holographic rides. Featuring LF display modules, tracking, and viewer profiling for personalized experiences #Holography

Listen closely… #lightfieldlab @lightfieldlab … $render is the only practical way to satisfy developing the holodeck. Look up how many pixels are in each LFL panel. People get excited at x100 for rendering AVP spacial, LFL is an order of magnitude above

$RENDER ⭕️ One of the most important parts in this interview IMO 💥 Relationship with NVIDIA 🤝 Jules and Jensen go way back 2013 💪 Talk to NVIDIA every week 📞 Apple and NVIDIA working on how to get more done with less GPU and the direction is to what we already have on



Light Field Lab is bringing science fiction to reality with the incredible power of SolidLight! 🤖💡 Read More: pakistanbeat.com/tech-beat/ligh… #LightFieldLab #SolidLight #Aether #HologramsOfTheFuture #Holograms #DisplayTechnology #3D #RealTime #CG #MotionCapture #Technology


Light Field Lab is bringing science fiction to reality with the incredible power of SolidLight! 🤖💡 Read More: pakistanbeat.com/tech-beat/ligh… #LightFieldLab #SolidLight #Aether #HologramsOfTheFuture #Holograms #DisplayTechnology #3D #RealTime

PakistanBeat's tweet image. Light Field Lab is bringing science fiction to reality with the incredible power of SolidLight! 🤖💡

Read More:

pakistanbeat.com/tech-beat/ligh…

#LightFieldLab #SolidLight #Aether #HologramsOfTheFuture #Holograms #DisplayTechnology #3D #RealTime

This is pretty impressive technology. GamesBeat Light Field Lab raises $50M to manufacture its SolidLight holographic displays #LightFieldLab #SolidLight #holograms #holographicdisplays venturebeat.com/games/light-fi… via @GamesBeat


The #LightFieldLab team wishes you a wickedly good #Halloween.

lightfieldlab's tweet image. The #LightFieldLab team wishes you a wickedly good #Halloween.

See what light can do! At #LightFieldLab, we pride ourselves in creating a safe, engaging space to empower the visual creators making history with #SolidLight as their medium.

lightfieldlab's tweet image. See what light can do! At #LightFieldLab, we pride ourselves in creating a safe, engaging space to empower the visual creators making history with #SolidLight as their medium.

The @VFXSociety is turning 25! See how the society’s past and current chairs including #LightFieldLab EVP Jeff Barnes reflect on the past 25 years of the organization’s dramatic evolution: bit.ly/33PKTUk


Light Field Lab está creando paneles que lograrán crear hologramas de alta definición y los cuales se pueden mezclar con el entorno.🤯 👇Conoce más detalles aquí👇 bit.ly/BlogRVMX290 #LightFieldLab #Hologramas #RealidadAumentada #AR

RealiVirtual_MX's tweet image. Light Field Lab está creando paneles que lograrán crear hologramas de alta definición y los cuales se pueden mezclar con el entorno.🤯

👇Conoce más detalles aquí👇
bit.ly/BlogRVMX290

#LightFieldLab #Hologramas #RealidadAumentada #AR

The #LightFieldLab team wishes you a wickedly good #Halloween.

lightfieldlab's tweet image. The #LightFieldLab team wishes you a wickedly good #Halloween.

Light Field Lab is bringing science fiction to reality with the incredible power of SolidLight! 🤖💡 Read More: pakistanbeat.com/tech-beat/ligh… #LightFieldLab #SolidLight #Aether #HologramsOfTheFuture #Holograms #DisplayTechnology #3D #RealTime

PakistanBeat's tweet image. Light Field Lab is bringing science fiction to reality with the incredible power of SolidLight! 🤖💡

Read More:

pakistanbeat.com/tech-beat/ligh…

#LightFieldLab #SolidLight #Aether #HologramsOfTheFuture #Holograms #DisplayTechnology #3D #RealTime

Light Field Lab está creando paneles que lograrán crear hologramas de alta definición y los cuales se pueden mezclar con el entorno.🤯 👇Conoce más detalles aquí👇 bit.ly/BlogRVMX290 #LightFieldLab #Hologramas #RealidadAumentada #AR

RealiVirtual_MX's tweet image. Light Field Lab está creando paneles que lograrán crear hologramas de alta definición y los cuales se pueden mezclar con el entorno.🤯

👇Conoce más detalles aquí👇
bit.ly/BlogRVMX290

#LightFieldLab #Hologramas #RealidadAumentada #AR

#LightFieldLab Raises $28 Million to Build Holographic TVs bghlink.me/jrgv

OtherBaldGuy's tweet image. #LightFieldLab Raises $28 Million to Build Holographic TVs bghlink.me/jrgv

See what light can do! At #LightFieldLab, we pride ourselves in creating a safe, engaging space to empower the visual creators making history with #SolidLight as their medium.

lightfieldlab's tweet image. See what light can do! At #LightFieldLab, we pride ourselves in creating a safe, engaging space to empower the visual creators making history with #SolidLight as their medium.

Дисплеи светового поля от #LightFieldLab привлекли ещё $28 млн holographica.space/news/light-fie… #3D

holographica_ru's tweet image. Дисплеи светового поля от #LightFieldLab привлекли ещё $28 млн holographica.space/news/light-fie… #3D

#LightFieldLab получила $7 млн на разработку дисплеев светового поля holographica.space/news/light-fie… #AR #lightfield #augmentedreality

holographica_ru's tweet image. #LightFieldLab получила $7 млн на разработку дисплеев светового поля holographica.space/news/light-fie… #AR #lightfield #augmentedreality

Road to VR Light Field Lab Secures $28 Million to Develop Holographic Displays: Light Field Lab, known for its advancements in light-field display technology, successfully completed a Series A funding… dlvr.it/RBqwlD #NewsBits #VRInvestment #LightFieldLab Via @RtoVR

bjeaglefeather's tweet image. Road to VR Light Field Lab Secures $28 Million to Develop Holographic Displays: Light Field Lab, known for its advancements in light-field display technology, successfully completed a Series A funding… dlvr.it/RBqwlD #NewsBits #VRInvestment #LightFieldLab Via @RtoVR

#LightFieldLab raises $28 million for huge holographic displays #VentureBeat #$28million smpt.co/rzzOv @venturebeat

darrenculbreath's tweet image. #LightFieldLab raises $28 million for huge holographic displays #VentureBeat #$28million smpt.co/rzzOv @venturebeat

Discover the future of #AmusementParks! #LIGHTFIELDLAB, INC.'s new patent apl. #US20240286052 reveals a Light Field Display System for immersive holographic rides. Featuring LF display modules, tracking, and viewer profiling for personalized experiences #Holography

PatentPulse's tweet image. Discover the future of #AmusementParks! #LIGHTFIELDLAB, INC.'s new patent apl. #US20240286052 reveals a Light Field Display System for immersive holographic rides. Featuring LF display modules, tracking, and viewer profiling for personalized experiences #Holography
PatentPulse's tweet image. Discover the future of #AmusementParks! #LIGHTFIELDLAB, INC.'s new patent apl. #US20240286052 reveals a Light Field Display System for immersive holographic rides. Featuring LF display modules, tracking, and viewer profiling for personalized experiences #Holography
PatentPulse's tweet image. Discover the future of #AmusementParks! #LIGHTFIELDLAB, INC.'s new patent apl. #US20240286052 reveals a Light Field Display System for immersive holographic rides. Featuring LF display modules, tracking, and viewer profiling for personalized experiences #Holography
PatentPulse's tweet image. Discover the future of #AmusementParks! #LIGHTFIELDLAB, INC.'s new patent apl. #US20240286052 reveals a Light Field Display System for immersive holographic rides. Featuring LF display modules, tracking, and viewer profiling for personalized experiences #Holography

#LightFieldLab raises $28 million to rethink the 3D TV – #TechCrunch #$28million smpt.co/Krxov @techcrunch

darrenculbreath's tweet image. #LightFieldLab raises $28 million to rethink the 3D TV – #TechCrunch #$28million smpt.co/Krxov @techcrunch

New patent application #US20250044590A1 by #LightFieldLab reveals a #LightField display system for #Holographic performances. LF modules create a performance volume for live events, enabling remote recording & display via a presentation network with digital rights management.

PatentPulse's tweet image. New patent application #US20250044590A1 by #LightFieldLab reveals a #LightField display system for #Holographic performances. LF modules create a performance volume for live events, enabling remote recording & display via a presentation network with digital rights management.
PatentPulse's tweet image. New patent application #US20250044590A1 by #LightFieldLab reveals a #LightField display system for #Holographic performances. LF modules create a performance volume for live events, enabling remote recording & display via a presentation network with digital rights management.
PatentPulse's tweet image. New patent application #US20250044590A1 by #LightFieldLab reveals a #LightField display system for #Holographic performances. LF modules create a performance volume for live events, enabling remote recording & display via a presentation network with digital rights management.

Loading...

Something went wrong.


Something went wrong.