#patent search results

🇨🇳#China leads the world in international #patent applications in 2025, with a total of 73,718 filings, securing its top position globally. The 🇺🇸#US follows in 2nd place with 52,617 applications, while 🇯🇵#Japan ranks 3rd. #FactsMatter

_ValiantPanda_'s tweet image. 🇨🇳#China leads the world in international #patent applications in 2025, with a total of 73,718 filings, securing its top position globally.

The 🇺🇸#US follows in 2nd place with 52,617 applications, while 🇯🇵#Japan ranks 3rd.

#FactsMatter

The 2024 WIPO report highlights #China’s dominance in #patent filings, raising concerns about a shift in global innovation leadership. This article argues that raw patent counts misrepresent #innovation quality. Read: papers.ssrn.com/sol3/papers.cf… Subscribe: ssrn.com/index.cfm/en/u…

SSRN's tweet image. The 2024 WIPO report highlights #China’s dominance in #patent filings, raising concerns about a shift in global innovation leadership. This article argues that raw patent counts misrepresent #innovation quality.

Read: papers.ssrn.com/sol3/papers.cf…
Subscribe: ssrn.com/index.cfm/en/u…

Calcutta High Court Sets Aside Rejection Of UPL's Herbicide #Patent For Denying Mandatory Hearing. Read more #IPR Reports at @LivelawBiz

Calcutta High Court Sets Aside Rejection Of UPL's Herbicide Patent For Denying Mandatory Hearing. Read more: zurl.co/ZqXmP

LivelawBiz's tweet image. Calcutta High Court Sets Aside Rejection Of UPL's Herbicide Patent For Denying Mandatory Hearing. Read more: zurl.co/ZqXmP


April Fools! 😜 But you probably knew these weren’t real. Got a real invention to protect? Find out what your next steps are to file a #patent: bit.ly/4e37jn4

We found some interesting #patents from the 1950s! From height-adjustable shoes to a steam-powered wrist watch, these innovations were made to improve your day-to-day life. ✨👇

CIPO_Canada's tweet image. We found some interesting #patents from the 1950s! 

From height-adjustable shoes to a steam-powered wrist watch, these innovations were made to improve your day-to-day life. ✨👇
CIPO_Canada's tweet image. We found some interesting #patents from the 1950s! 

From height-adjustable shoes to a steam-powered wrist watch, these innovations were made to improve your day-to-day life. ✨👇
CIPO_Canada's tweet image. We found some interesting #patents from the 1950s! 

From height-adjustable shoes to a steam-powered wrist watch, these innovations were made to improve your day-to-day life. ✨👇
CIPO_Canada's tweet image. We found some interesting #patents from the 1950s! 

From height-adjustable shoes to a steam-powered wrist watch, these innovations were made to improve your day-to-day life. ✨👇


Texas Business Court Signals Broad IP Jurisdiction, Opening Door to Patent‑Adjacent Disputes natlawreview.com/article/texas-… #texas #IP #patent @WBD_US

natlawreview's tweet image. Texas Business Court Signals Broad IP Jurisdiction, Opening Door to Patent‑Adjacent Disputes natlawreview.com/article/texas-… #texas #IP #patent @WBD_US

General Motors Files Active Aero Patent for Controlled Drift Maneuvers corvetteblogger.com/2026/02/05/gen… #Corvette #Patent

CorvetteBlogger's tweet image. General Motors Files Active Aero Patent for Controlled Drift Maneuvers corvetteblogger.com/2026/02/05/gen… #Corvette #Patent

NIT Rourkela Secures Patent in Food Adulteration Detection Technology! Congratulations 💐 to the researchers from the Department of Food Process Engineering at NIT Rourkela for securing a #patent titled “Method and System for Detecting and Quantifying Adulteration in Food

nitrourkela's tweet image. NIT Rourkela Secures Patent in Food Adulteration Detection Technology!

Congratulations 💐 to the researchers from the Department of Food Process Engineering at NIT Rourkela for securing a #patent titled “Method and System for Detecting and Quantifying Adulteration in Food

Beyond the Display: New USPTO Guidance Opens Design Patent Coverage for Virtual, AR, and Projected GUIs natlawreview.com/article/beyond… #USPTO #patent #AR @WBD_US

natlawreview's tweet image. Beyond the Display: New USPTO Guidance Opens Design Patent Coverage for Virtual, AR, and Projected GUIs natlawreview.com/article/beyond… #USPTO #patent #AR @WBD_US

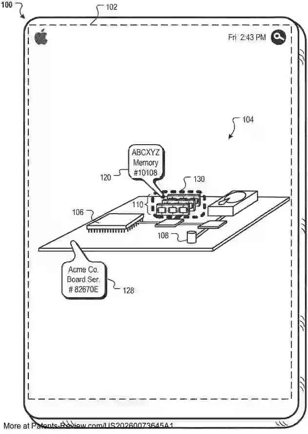
Discover the latest #patent application from #Apple: "SYNCHRONIZED, INTERACTIVE AUGMENTED REALITY DISPLAYS FOR MULTIFUNCTION DEVICES" #US20260073645. 📱 This tech enables real-time #AR experiences by combining live video with user-generated annotations on touch surfaces. 📹

PatentPulse's tweet image. Discover the latest #patent application from #Apple: "SYNCHRONIZED, INTERACTIVE AUGMENTED REALITY DISPLAYS FOR MULTIFUNCTION DEVICES" #US20260073645. 📱
This tech enables real-time #AR experiences by combining live video with user-generated annotations on touch surfaces. 📹
PatentPulse's tweet image. Discover the latest #patent application from #Apple: "SYNCHRONIZED, INTERACTIVE AUGMENTED REALITY DISPLAYS FOR MULTIFUNCTION DEVICES" #US20260073645. 📱
This tech enables real-time #AR experiences by combining live video with user-generated annotations on touch surfaces. 📹
PatentPulse's tweet image. Discover the latest #patent application from #Apple: "SYNCHRONIZED, INTERACTIVE AUGMENTED REALITY DISPLAYS FOR MULTIFUNCTION DEVICES" #US20260073645. 📱
This tech enables real-time #AR experiences by combining live video with user-generated annotations on touch surfaces. 📹

🇨🇳#China leads the world in international #patent applications in 2025, with a total of 73,718 filings, securing its top position globally. The 🇺🇸#US follows in 2nd place with 52,617 applications, while 🇯🇵#Japan ranks 3rd. #FactsMatter #GTGraphic @_ValiantPanda_

globaltimesnews's tweet image. 🇨🇳#China leads the world in international #patent applications in 2025, with a total of 73,718 filings, securing its top position globally.

The 🇺🇸#US follows in 2nd place with 52,617 applications, while 🇯🇵#Japan ranks 3rd.

#FactsMatter #GTGraphic @_ValiantPanda_

చింతపండుతో చాక్లెట్ పేటెంట్ పొందిన ఫస్ట్ ఇండియన్ #tamarindchigali #patent #etvdigital 1/7

etvandhraprades's tweet image. చింతపండుతో చాక్లెట్
పేటెంట్ పొందిన ఫస్ట్ ఇండియన్
#tamarindchigali #patent #etvdigital
1/7

Can innovators in the ARIPO System get faster, more efficient #patent processing across multiple jurisdictions? Yes! Through the Global Patent Prosecution Highway (PPH) innovators access: ✅Accelerated patent approvals through use of existing examination results from

_ARIPO's tweet image. Can innovators in the ARIPO System get faster, more efficient #patent processing across multiple jurisdictions? 

Yes! Through the Global Patent Prosecution Highway (PPH) innovators access:

✅Accelerated patent approvals through use of existing examination results from

Amendments to Mexico’s Intellectual Property Law: Principal Aspects for Patent Practice natlawreview.com/article/amendm… #mexico #IP #patent #global @OLIVARESLaw

natlawreview's tweet image. Amendments to Mexico’s Intellectual Property Law: Principal Aspects for Patent Practice natlawreview.com/article/amendm… #mexico #IP #patent #global @OLIVARESLaw

Patenting the Quantum Future – Practical Tips Based on PTAB Decisions natlawreview.com/article/patent… #PTAB #quantum #patent @SheppardMullin

natlawreview's tweet image. Patenting the Quantum Future – Practical Tips Based on PTAB Decisions natlawreview.com/article/patent… #PTAB #quantum #patent @SheppardMullin

Guangdong Explicitly Links Patent Pre-Examination With #Patent Prosecution #Highway Eligibility natlawreview.com/article/guangd… @SLW_IP

natlawreview's tweet image. Guangdong Explicitly Links Patent Pre-Examination With #Patent Prosecution #Highway Eligibility natlawreview.com/article/guangd… @SLW_IP

Federal Circuit Widens Net for Corresponding Structure under §112(f) – Three Takeaways for Patent Counselors natlawreview.com/article/federa… #circuit #litigation #Patent @FoleyandLardner

natlawreview's tweet image. Federal Circuit Widens Net for Corresponding Structure under §112(f) – Three Takeaways for Patent Counselors natlawreview.com/article/federa… #circuit #litigation #Patent @FoleyandLardner

Congratulations💐to the innovators Mr. Sunil Rout (PhD Scholar), Dr. Kaustav Chaudhury (Assistant Professor), and Prof. Ranjit Kumar Sahoo (Retd.) from the Department of Mechanical Engineering, NIT Rourkela, for securing a #patent for their invention titled “Apparatus for

nitrourkela's tweet image. Congratulations💐to the innovators Mr. Sunil Rout (PhD Scholar), Dr. Kaustav Chaudhury (Assistant Professor), and Prof. Ranjit Kumar Sahoo (Retd.) from the Department of Mechanical Engineering,  NIT Rourkela, for securing a #patent for their invention titled “Apparatus for

USPTO Introduces Patent Owner Pre Order Submission on SNQ in Ex Parte Reexam natlawreview.com/article/uspto-… #USPTO #patent #federal @KLGates

natlawreview's tweet image. USPTO Introduces Patent Owner Pre Order Submission on SNQ in Ex Parte Reexam natlawreview.com/article/uspto-… #USPTO #patent #federal @KLGates

This study examines the Cayman Islands' unique role in global #intellectualproperty, contrasting its success in financial & #legal services with the domestic nature of #patent protection. Read: papers.ssrn.com/sol3/papers.cf… Subscribe: ssrn.com/index.cfm/en/u… #LawTwitter

SSRN's tweet image. This study examines the Cayman Islands' unique role in global #intellectualproperty, contrasting its success in financial & #legal services with the domestic nature of #patent protection.

Read: papers.ssrn.com/sol3/papers.cf…
Subscribe: ssrn.com/index.cfm/en/u…

#LawTwitter

Guangdong Explicitly Links Patent Pre-Examination With #Patent Prosecution #Highway Eligibility natlawreview.com/article/guangd… @SLW_IP

natlawreview's tweet image. Guangdong Explicitly Links Patent Pre-Examination With #Patent Prosecution #Highway Eligibility natlawreview.com/article/guangd… @SLW_IP

Apple, Masimo İle Yaşadığı Patent Davasından Galip Çıktı borsauzmani.co/haberler/apple… #apple #masimo #patent

YeniBorsaUzmani's tweet image. Apple, Masimo İle Yaşadığı Patent Davasından Galip Çıktı 

borsauzmani.co/haberler/apple…

#apple #masimo #patent

1773 İTÜ TTO tarafından düzenlenen “Fikirlerinizi Koruma Altına Almak Mümkün mü?” başlıklı eğitim programında yer almaktan memnuniyet duyduk. Bu değerli organizasyon için 1773 İTÜ TTO’ya teşekkür ederiz. 🚀 #FikriMülkiyet #Patent #TelifHakları #İTÜ #İTÜTTO #Girişimcilik

ErdemKayaPatent's tweet image. 1773 İTÜ TTO tarafından düzenlenen “Fikirlerinizi Koruma Altına Almak Mümkün mü?” başlıklı eğitim programında  yer almaktan memnuniyet duyduk.

Bu değerli organizasyon için 1773 İTÜ TTO’ya teşekkür ederiz. 🚀

#FikriMülkiyet #Patent #TelifHakları #İTÜ #İTÜTTO #Girişimcilik

Patent-Related Activities During Merger Integration: why tools are necessary drkarlpopp.com/karl-michael-p… #MergerIntegration #IPStrategy #patent

karl_popp's tweet image. Patent-Related Activities During Merger Integration: why tools are necessary drkarlpopp.com/karl-michael-p… #MergerIntegration #IPStrategy #patent

On this day (April 18, 1885), Japan enacted its first modern patent law — marking a major step in global IP evolution. 🇯🇵 Today is still celebrated as #InventionDay in Japan. #IPR #Patent

Jenika2497's tweet image. On this day (April 18, 1885), Japan enacted its first modern patent law — marking a major step in global IP evolution. 🇯🇵
Today is still celebrated as #InventionDay in Japan. #IPR #Patent

BLACK AMERICAN BUSINESSES: Get verified BlkChk. IMMEDIATELY FILE #TRADEMARK, #markinservice #patent USPTO.gov and states Put up disclaimer on website about the shape and intention, use and design. Stop explaining it. PROTECT YOUR LEGACY. #BlackTwitter @beslainc


The Delhi High Court’s judgment in Communication Components Antenna Inc. v. Rosenberger / PROSE signals a stronger approach to IP liability by holding group entities jointly accountable. Read more: lnkd.in/gGa4hVAE #IPLaw #Patent #IPLitigation

SCIPAttorneys's tweet image. The Delhi High Court’s judgment in Communication Components Antenna Inc. v. Rosenberger / PROSE signals a stronger approach to IP liability by holding group entities jointly accountable.

Read more: lnkd.in/gGa4hVAE

#IPLaw #Patent #IPLitigation

#China's #patent data is a wake-up call. 🇨🇳 📈 87% of #invention patents are now R&D-driven. 📈Industrialization rate hits 54%. 🌎Firms are going global—and they're fighting back in court. For more details👇 en.we-ipr.com/IPNews/609 #Innovation #CNIPA #IPStrategy #TechTransfer

WuhanWEIPRIP's tweet image. #China's #patent data is a wake-up call. 🇨🇳
📈 87% of #invention patents are now R&D-driven. 
📈Industrialization rate hits 54%.
🌎Firms are going global—and they're fighting back in court. 
For more details👇
en.we-ipr.com/IPNews/609
#Innovation #CNIPA #IPStrategy #TechTransfer

A great idea alone isn’t enough; what really matters is how well it’s documented. Clear claims and accurate drawings make all the difference in avoiding objections and building a strong, reliable patent. #Patent #PatentDrawings #Trademark #Copyright #PatentDrafting

vvresearchip's tweet image. A great idea alone isn’t enough; what really matters is how well it’s documented.

Clear claims and accurate drawings make all the difference in avoiding objections and building a strong, reliable patent.

#Patent #PatentDrawings #Trademark #Copyright #PatentDrafting

Don't know what a fractal antenna is? Check out yesterday's Q&A or the full interview on our YouTube channel: youtu.be/8vkFTaFD78g?si…. Tomorrow: Why #patent #licensing matters for Fractus.

IPEuropeEU's tweet card. IP Europe

youtube.com

YouTube

IP Europe


Guangdong Explicitly Links Patent Pre-Examination With #Patent Prosecution #Highway Eligibility natlawreview.com/article/guangd… @SLW_IP

natlawreview's tweet image. Guangdong Explicitly Links Patent Pre-Examination With #Patent Prosecution #Highway Eligibility natlawreview.com/article/guangd… @SLW_IP

🔍 Exploring the latest #patent application from #MicronTechnology: #US20260100227A1 A novel method for forming memory arrays with strings of memory cells. Key steps include: - Forming conductor tiers on substrates - Creating vertical stacks with alternating tiers - Utilizing

PatentPulse's tweet image. 🔍 Exploring the latest #patent application from #MicronTechnology: #US20260100227A1
A novel method for forming memory arrays with strings of memory cells. Key steps include:
- Forming conductor tiers on substrates
- Creating vertical stacks with alternating tiers
- Utilizing
PatentPulse's tweet image. 🔍 Exploring the latest #patent application from #MicronTechnology: #US20260100227A1
A novel method for forming memory arrays with strings of memory cells. Key steps include:
- Forming conductor tiers on substrates
- Creating vertical stacks with alternating tiers
- Utilizing
PatentPulse's tweet image. 🔍 Exploring the latest #patent application from #MicronTechnology: #US20260100227A1
A novel method for forming memory arrays with strings of memory cells. Key steps include:
- Forming conductor tiers on substrates
- Creating vertical stacks with alternating tiers
- Utilizing

Dividing and Conquering- Best Method Obligations Follow Every Divisional Patent Application natlawreview.com/article/dividi… #patent #application #federal @KLGates

natlawreview's tweet image. Dividing and Conquering- Best Method Obligations Follow Every Divisional Patent Application natlawreview.com/article/dividi… #patent #application #federal @KLGates

The study reflects how technology-led insights can reshape employee engagement and organizational productivity in today’s evolving work environment. jkbschool.org #ResearchAtJKBS #Innovation #Patent #EmployeeEngagement #WorkplaceAnalytics #JKBusinessSchool


🔔 Big #news for #UK #patent applicants: a new digital service launches on 1 April. ✨ You can now apply, manage, and renew patents via a single online system. ⏳ #Trademark and #design functions will follow later. 📅 More details👉en.we-ipr.com/IPNews/607 #IP #UKIPO #IPNews

WuhanWEIPRIP's tweet image. 🔔 Big #news for #UK #patent applicants: a new digital service launches on 1 April.

✨ You can now apply, manage, and renew patents via a single online system.

⏳ #Trademark and #design functions will follow later.

📅 More details👉en.we-ipr.com/IPNews/607

#IP #UKIPO #IPNews

Future Ford vehicles could utilize weather detection technology to gather data and then share it with others, which could provide a more accurate forecast. fordauthority.com/2026/04/future… #ford #patent


Dividing and Conquering- Best Method Obligations Follow Every Divisional Patent Application natlawreview.com/article/dividi… #patent #application #federal @KLGates

natlawreview's tweet image. Dividing and Conquering- Best Method Obligations Follow Every Divisional Patent Application natlawreview.com/article/dividi… #patent #application #federal @KLGates

USPTO Introduces Patent Owner Pre Order Submission on SNQ in Ex Parte Reexam natlawreview.com/article/uspto-… #USPTO #patent #federal @KLGates

natlawreview's tweet image. USPTO Introduces Patent Owner Pre Order Submission on SNQ in Ex Parte Reexam natlawreview.com/article/uspto-… #USPTO #patent #federal @KLGates

#USPTO Introduces New Pre-Order Procedure for Substantial New Question Determinations in Ex Parte Reexamination natlawreview.com/article/uspto-… #patent #federal @Polsinelli

natlawreview's tweet image. #USPTO Introduces New Pre-Order Procedure for Substantial New Question Determinations in Ex Parte Reexamination natlawreview.com/article/uspto-… #patent #federal @Polsinelli

Patenting the Quantum Future – Practical Tips Based on PTAB Decisions natlawreview.com/article/patent… #PTAB #quantum #patent @SheppardMullin

natlawreview's tweet image. Patenting the Quantum Future – Practical Tips Based on PTAB Decisions natlawreview.com/article/patent… #PTAB #quantum #patent @SheppardMullin

#China's leading consumer drone maker and top panoramic camera company are entering a new phase of direct competition, with #DJI filing its first domestic #patent ownership lawsuit against #Insta360 that has escalated tensions between the two tech rivals. According to market

CE_ChinaEconomy's tweet image. #China's leading consumer drone maker and top panoramic camera company are entering a new phase of direct competition, with #DJI filing its first domestic #patent ownership lawsuit against #Insta360 that has escalated tensions between the two tech rivals. According to market

This study examines the Cayman Islands' unique role in global #intellectualproperty, contrasting its success in financial & #legal services with the domestic nature of #patent protection. Read: papers.ssrn.com/sol3/papers.cf… Subscribe: ssrn.com/index.cfm/en/u… #LawTwitter

SSRN's tweet image. This study examines the Cayman Islands' unique role in global #intellectualproperty, contrasting its success in financial & #legal services with the domestic nature of #patent protection.

Read: papers.ssrn.com/sol3/papers.cf…
Subscribe: ssrn.com/index.cfm/en/u…

#LawTwitter

Guangdong Explicitly Links Patent Pre-Examination With #Patent Prosecution #Highway Eligibility natlawreview.com/article/guangd… @SLW_IP

natlawreview's tweet image. Guangdong Explicitly Links Patent Pre-Examination With #Patent Prosecution #Highway Eligibility natlawreview.com/article/guangd… @SLW_IP

A strong U.S. economy is fueled by a strong #patent system. See why #PatentsMatter ⤵️

InnovationAlli's tweet image. A strong U.S. economy is fueled by a strong #patent system.

See why #PatentsMatter ⤵️

This paper maps four decades of global #technological knowledge diffusion using multiple #patent‑based indicators and a review of transmission channels. Read: spkl.io/6011ANzYF Subscribe: spkl.io/6015ANzYf #EconTwitter

SSRN's tweet image. This paper maps four decades of global #technological knowledge diffusion using multiple #patent‑based indicators and a review of transmission channels. 

Read: spkl.io/6011ANzYF
Subscribe: spkl.io/6015ANzYf

#EconTwitter

Inventorship Errors Can Undermine Patent Value: Practical Steps to Reduce Risk natlawreview.com/article/invent… #patent #federalcircuit #litigation @WBD_US

natlawreview's tweet image. Inventorship Errors Can Undermine Patent Value: Practical Steps to Reduce Risk natlawreview.com/article/invent… #patent #federalcircuit #litigation @WBD_US

General Motors Files Active Aero Patent for Controlled Drift Maneuvers corvetteblogger.com/2026/02/05/gen… #Corvette #Patent

CorvetteBlogger's tweet image. General Motors Files Active Aero Patent for Controlled Drift Maneuvers corvetteblogger.com/2026/02/05/gen… #Corvette #Patent

The 2024 WIPO report highlights #China’s dominance in #patent filings, raising concerns about a shift in global innovation leadership. This article argues that raw patent counts misrepresent #innovation quality. Read: papers.ssrn.com/sol3/papers.cf… Subscribe: ssrn.com/index.cfm/en/u…

SSRN's tweet image. The 2024 WIPO report highlights #China’s dominance in #patent filings, raising concerns about a shift in global innovation leadership. This article argues that raw patent counts misrepresent #innovation quality.

Read: papers.ssrn.com/sol3/papers.cf…
Subscribe: ssrn.com/index.cfm/en/u…

Dividing and Conquering- Best Method Obligations Follow Every Divisional Patent Application natlawreview.com/article/dividi… #patent #application #federal @KLGates

natlawreview's tweet image. Dividing and Conquering- Best Method Obligations Follow Every Divisional Patent Application natlawreview.com/article/dividi… #patent #application #federal @KLGates

17 Jan 1871: San Franciscan Andrew Smith Hallidie's #patent for an improved “Endless Wire Ropeway”, a key component of the first cable car, is approved. He and his associates then constructed the first cable railway, which began running on August 2, 1873. #History #OTD #ad

URDailyHistory's tweet image. 17 Jan 1871: San Franciscan Andrew Smith Hallidie's #patent for an improved “Endless Wire Ropeway”, a key component of the first cable car, is approved. He and his associates then constructed the first cable railway, which began running on August 2, 1873. #History #OTD #ad

USPTO Introduces Patent Owner Pre Order Submission on SNQ in Ex Parte Reexam natlawreview.com/article/uspto-… #USPTO #patent #federal @KLGates

natlawreview's tweet image. USPTO Introduces Patent Owner Pre Order Submission on SNQ in Ex Parte Reexam natlawreview.com/article/uspto-… #USPTO #patent #federal @KLGates

This article argues that the power over the U.S. #patent system has shifted from the Federal Circuit to the Patent & Trademark Office & district courts, especially under recent #political influence. Read: spkl.io/6015AgIjz Subscribe: spkl.io/6010AgIju #LawTwitter

SSRN's tweet image. This article argues that the power over the U.S. #patent system has shifted from the Federal Circuit to the Patent & Trademark Office & district courts, especially under recent #political influence.

Read: spkl.io/6015AgIjz
Subscribe: spkl.io/6010AgIju

#LawTwitter

Chinese tech giant #Huawei ranked second among all companies filing #patent applications at the EPO in 2025, with 4,744 applications. Chinese battery giant Contemporary Amperex Technology Co. Ltd (#CATL) ranked 10th with 1,305 applications, marking the first time that two Chinese

CE_ChinaEconomy's tweet image. Chinese tech giant #Huawei ranked second among all companies filing #patent applications at the EPO in 2025, with 4,744 applications. Chinese battery giant Contemporary Amperex Technology Co. Ltd (#CATL) ranked 10th with 1,305 applications, marking the first time that two Chinese

Beyond the Display: New USPTO Guidance Opens Design Patent Coverage for Virtual, AR, and Projected GUIs natlawreview.com/article/beyond… #USPTO #patent #AR @WBD_US

natlawreview's tweet image. Beyond the Display: New USPTO Guidance Opens Design Patent Coverage for Virtual, AR, and Projected GUIs natlawreview.com/article/beyond… #USPTO #patent #AR @WBD_US

Amendments to Mexico’s Intellectual Property Law: Principal Aspects for Patent Practice natlawreview.com/article/amendm… #mexico #IP #patent #global @OLIVARESLaw

natlawreview's tweet image. Amendments to Mexico’s Intellectual Property Law: Principal Aspects for Patent Practice natlawreview.com/article/amendm… #mexico #IP #patent #global @OLIVARESLaw

In collaboration with Patently, we’ve published 2 new #ebooks analyzing the world’s leading #patent owners in key connectivity standards: 🔹 The World’s Leading 5G SEP Owners—2026 questel.com/resourcehub/th… 🔹 The World’s Leading Wi-Fi Owners—2026 questel.com/resourcehub/th…

Questel_Group's tweet image. In collaboration with Patently, we’ve published 2 new #ebooks analyzing the world’s leading #patent owners in key connectivity standards:

🔹 The World’s Leading 5G SEP Owners—2026 
 questel.com/resourcehub/th…

🔹 The World’s Leading Wi-Fi Owners—2026 
 questel.com/resourcehub/th…

Loading...

Something went wrong.


Something went wrong.