#datasynchronization kết quả tìm kiếm

Hybrid cloud often leads to fragmented systems and inconsistent data. TeBS unifies environments for seamless flow, resilience, and smarter decisions. Know more: totalebizsolutions.com/services/ai-cl… #HybridCloud #CloudStrategy #DataSynchronization #DigitalTransformation

Total_ebiz's tweet image. Hybrid cloud often leads to fragmented systems and inconsistent data. TeBS unifies environments for seamless flow, resilience, and smarter decisions. Know more:

totalebizsolutions.com/services/ai-cl…

#HybridCloud #CloudStrategy #DataSynchronization #DigitalTransformation

Is your data stuck in the past? 🕒 bit.ly/4cHIMzI Discover how Spark Streaming transforms #datasynchronization between MongoDB and Azure SQL from a headache into a seamless process. Read our latest blog to see how you can harness real-time insights! #apachepyspark


Inadequate data visibility harms business profoundly! Solunus transformed a financial advisory firm, resolving data sync issues, and driving growth with Salesforce. #BFSI #DataSynchronization #SalesforcePartner #Solunus


Poor #DataSynchronization leads to inconsistencies, inaccuracies, and errors in any business process. Learn how #Solunus helped a #financialadvisory firm resolve these issues—looking for a #DigitalTransformation Partner to take your Financial Services firm to the next level?


bit.ly/3XkGPVr Inconsistent data can cause errors, inefficiencies, and flawed decisions. But you can avoid this. Read our blog to master real-time #datasynchronization between #MongoDB and relational databases using Azure services, ensuring accurate and reliable data.


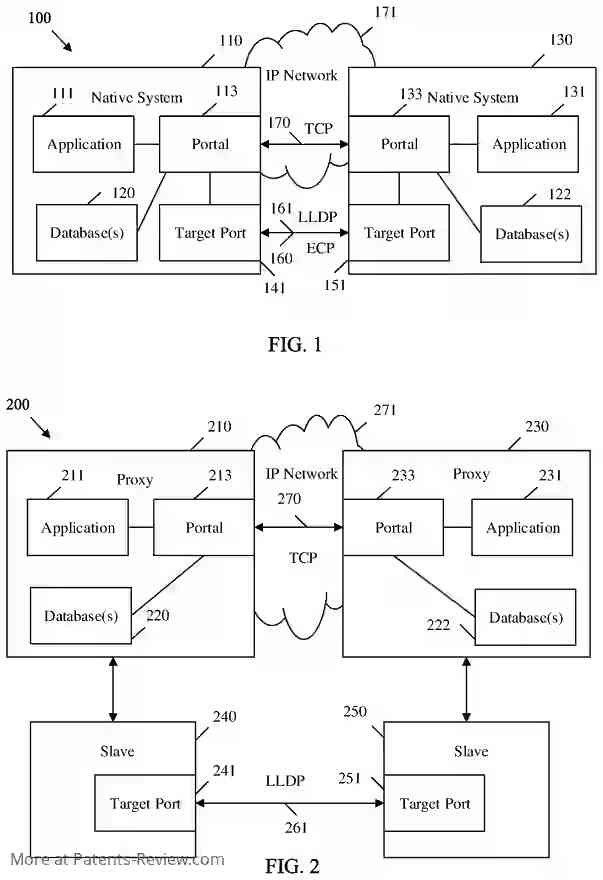
🌐 #Huawei's new patent app #US20240048645 streamlines data sync! 🔄 Their tech sets up paired databases across nodes, ensuring efficient updates over network links. A game-changer for seamless info exchange! #DataSynchronization #Innovation #NetworkSolutions

PatentPulse's tweet image. 🌐 #Huawei's new patent app #US20240048645 streamlines data sync! 🔄 Their tech sets up paired databases across nodes, ensuring efficient updates over network links. A game-changer for seamless info exchange! #DataSynchronization #Innovation #NetworkSolutions
PatentPulse's tweet image. 🌐 #Huawei's new patent app #US20240048645 streamlines data sync! 🔄 Their tech sets up paired databases across nodes, ensuring efficient updates over network links. A game-changer for seamless info exchange! #DataSynchronization #Innovation #NetworkSolutions

Say goodbye to ineffective procedures and uncoordinated departments. With Kovair OmnibusX, improve your business agility and drive success across your organization! youtu.be/3gx9xvOOEoI #Integration #DataSynchronization #TechSolutions


📊 #Datasynchronization can feel like a chaotic dance-off, with elements moving out of step. Don't worry, you’ve got the perfect partner to bring harmony to your #datasync process. Try Trueloader and sync your data seamlessly. #bidirectionalsync #multidirectionalsync


New open source repository published 🚀 Build a serverless data syncing solution using @OracleCloud Cloud Native Services and Autonomous Database. Get started: github.com/oracle-samples… #cloud #datasynchronization #OracleOSS

OracleOSS's tweet image. New open source repository published 🚀 

Build a serverless data syncing solution using @OracleCloud Cloud Native Services and Autonomous Database.

Get started: github.com/oracle-samples… 
#cloud #datasynchronization #OracleOSS

🔄 This integration facilitates seamless data synchronization between Tradogram and Microsoft Dynamics, enhancing efficiency and accuracy in financial records. #TradogramIntegration #MicrosoftDynamics #DataSynchronization #RealTimeUpdates

Tradogram's tweet image. 🔄 This integration facilitates seamless data synchronization between Tradogram and Microsoft Dynamics, enhancing efficiency and accuracy in financial records.

#TradogramIntegration #MicrosoftDynamics #DataSynchronization #RealTimeUpdates

Data synchronization is the backbone of seamless app experiences! 🌐 Ensure your systems stay in sync for real-time updates and efficiency. 🚀 Discover the power of data harmony today! 💾 #DataSynchronization #RealTimeUpdates #SeamlessExperience #TechTips #SoftwareDevelopment


We're happy to present our new partner @zapier ! This new integration is designed to simplify your #propertymanagement thanks to #taskautomation, #datasynchronization & customizable triggers & actions! Click the link below for more integrations & partners: hostify.com/integrations#H…


Seamless data synchronization with MDSync 🔄✨ Is it challenging to keep your data in sync across multiple companies? Meet MDSync, the ultimate solution to streamline your #datasynchronization! 📊💻 Discover MDSync's capabilities: partner.multisoft.hu/mdsync-data-sy…


Data synchronization in Tally allows businesses with multiple branches to share, update, and manage data across all locations. #tally #datasynchronization #Businessmanagement #TallySoftware

specialisttally's tweet image. Data synchronization in Tally allows businesses with multiple branches to share, update, and manage data across all locations.
#tally #datasynchronization #Businessmanagement #TallySoftware

Welcome to the updated version of Loop English! We are thrilled to bring you a more seamless experience with the integration of two exciting new features: #DataSynchronization and #Notification Function. #LoopEnglish #App #Updates #Education #Technology #Ielts #Toeic #Exams

loop_english's tweet image. Welcome to the updated version of Loop English! 
We are thrilled to bring you a more seamless experience with the integration of two exciting new features: #DataSynchronization and #Notification Function.
#LoopEnglish #App #Updates #Education #Technology #Ielts #Toeic #Exams

Catering to Your Every Tally Need with Expertise and Excellence! ✔️ Tally AMC / Annual Support Cover ✔️ Tally Data Synchronization ✔️ TallyPrime Consultancy ✔️ Priority TallyPrime Support Services ✔️ Tally Support Onsite & Remote . #TallyAMC #DataSynchronization #TallyPrime

priyamtallyjpr's tweet image. Catering to Your Every Tally Need with Expertise and Excellence! 
✔️ Tally AMC / Annual Support Cover
✔️ Tally Data Synchronization
✔️ TallyPrime Consultancy
✔️ Priority TallyPrime Support Services
✔️ Tally Support Onsite & Remote
.
#TallyAMC #DataSynchronization #TallyPrime

Hybrid cloud often leads to fragmented systems and inconsistent data. TeBS unifies environments for seamless flow, resilience, and smarter decisions. Know more: totalebizsolutions.com/services/ai-cl… #HybridCloud #CloudStrategy #DataSynchronization #DigitalTransformation

Total_ebiz's tweet image. Hybrid cloud often leads to fragmented systems and inconsistent data. TeBS unifies environments for seamless flow, resilience, and smarter decisions. Know more:

totalebizsolutions.com/services/ai-cl…

#HybridCloud #CloudStrategy #DataSynchronization #DigitalTransformation

🔗 Synchronizing design data isn’t optional—it’s the backbone of modern product development. Discover why seamless data flow matters more than ever. ⚙️🌐 #DesignData #DataSynchronization #ProductDevelopment #DigitalThread #OpenBOM bit.ly/4m0XkQG

openbom's tweet image. 🔗 Synchronizing design data isn’t optional—it’s the backbone of modern product development. Discover why seamless data flow matters more than ever. ⚙️🌐

#DesignData #DataSynchronization #ProductDevelopment #DigitalThread #OpenBOM

bit.ly/4m0XkQG

Syncing terabytes of data across the globe? Comparing every record is a total waste of time—and yet, most teams do it anyway. Is your data strategy stuck in the past ? #DistributedSystems #DataSynchronization #AntiEntropy #DataConsistency #ScalableSystems #SystemDesign


Polymer Labs' blockchain technology enables secure and efficient data synchronization across devices. #DataSynchronization @Polymer_Labs


@MagicNewton's zkPermissions can incorporate real-world event synchronization, such as allowing a trade only after CPI data is released. #RealWorldEvents #DataSynchronization


SUI??s efficient data synchronization across nodes ensures consistency and reliability. #SUI #DataSynchronization @GiveRep


Polymer Labs' blockchain technology enables secure and efficient data synchronization across devices. #DataSynchronization @Polymer_Labs


SUI??s efficient data synchronization across nodes ensures consistency and reliability. #SUI #DataSynchronization @GiveRep


Không có kết quả nào cho "#datasynchronization"

Hybrid cloud often leads to fragmented systems and inconsistent data. TeBS unifies environments for seamless flow, resilience, and smarter decisions. Know more: totalebizsolutions.com/services/ai-cl… #HybridCloud #CloudStrategy #DataSynchronization #DigitalTransformation

Total_ebiz's tweet image. Hybrid cloud often leads to fragmented systems and inconsistent data. TeBS unifies environments for seamless flow, resilience, and smarter decisions. Know more:

totalebizsolutions.com/services/ai-cl…

#HybridCloud #CloudStrategy #DataSynchronization #DigitalTransformation

New open source repository published 🚀 Build a serverless data syncing solution using @OracleCloud Cloud Native Services and Autonomous Database. Get started: github.com/oracle-samples… #cloud #datasynchronization #OracleOSS

OracleOSS's tweet image. New open source repository published 🚀 

Build a serverless data syncing solution using @OracleCloud Cloud Native Services and Autonomous Database.

Get started: github.com/oracle-samples… 
#cloud #datasynchronization #OracleOSS

🔄 This integration facilitates seamless data synchronization between Tradogram and Microsoft Dynamics, enhancing efficiency and accuracy in financial records. #TradogramIntegration #MicrosoftDynamics #DataSynchronization #RealTimeUpdates

Tradogram's tweet image. 🔄 This integration facilitates seamless data synchronization between Tradogram and Microsoft Dynamics, enhancing efficiency and accuracy in financial records.

#TradogramIntegration #MicrosoftDynamics #DataSynchronization #RealTimeUpdates

🌐 #Huawei's new patent app #US20240048645 streamlines data sync! 🔄 Their tech sets up paired databases across nodes, ensuring efficient updates over network links. A game-changer for seamless info exchange! #DataSynchronization #Innovation #NetworkSolutions

PatentPulse's tweet image. 🌐 #Huawei's new patent app #US20240048645 streamlines data sync! 🔄 Their tech sets up paired databases across nodes, ensuring efficient updates over network links. A game-changer for seamless info exchange! #DataSynchronization #Innovation #NetworkSolutions
PatentPulse's tweet image. 🌐 #Huawei's new patent app #US20240048645 streamlines data sync! 🔄 Their tech sets up paired databases across nodes, ensuring efficient updates over network links. A game-changer for seamless info exchange! #DataSynchronization #Innovation #NetworkSolutions

Welcome to the updated version of Loop English! We are thrilled to bring you a more seamless experience with the integration of two exciting new features: #DataSynchronization and #Notification Function. #LoopEnglish #App #Updates #Education #Technology #Ielts #Toeic #Exams

loop_english's tweet image. Welcome to the updated version of Loop English! 
We are thrilled to bring you a more seamless experience with the integration of two exciting new features: #DataSynchronization and #Notification Function.
#LoopEnglish #App #Updates #Education #Technology #Ielts #Toeic #Exams

Catering to Your Every Tally Need with Expertise and Excellence! ✔️ Tally AMC / Annual Support Cover ✔️ Tally Data Synchronization ✔️ TallyPrime Consultancy ✔️ Priority TallyPrime Support Services ✔️ Tally Support Onsite & Remote . #TallyAMC #DataSynchronization #TallyPrime

priyamtallyjpr's tweet image. Catering to Your Every Tally Need with Expertise and Excellence! 
✔️ Tally AMC / Annual Support Cover
✔️ Tally Data Synchronization
✔️ TallyPrime Consultancy
✔️ Priority TallyPrime Support Services
✔️ Tally Support Onsite & Remote
.
#TallyAMC #DataSynchronization #TallyPrime

At 4castplus, we make it easy to synchronize your project data across the enterprise. Minimize duplicate effort and maximize cross-product sharing of information, documents, processes, and resources. hubs.ly/Q02qk6-l0 #ProjectManagement #DataSynchronization #4castplus

4castplus's tweet image. At 4castplus, we make it easy to synchronize your project data across the enterprise. 

Minimize duplicate effort and maximize cross-product sharing of information, documents, processes, and resources.

hubs.ly/Q02qk6-l0

#ProjectManagement #DataSynchronization #4castplus

Implement eventual consistency in your system to ensure data synchronization over time for improved speed and performance. #EventualConsistency #DataSynchronization #DatabaseManagement #SystemDesign #TechInnovation #DataIntegrity #ConsistencyModel #TechTips #CloudComputing

_paschalugwu's tweet image. Implement eventual consistency in your system to ensure data synchronization over time for improved speed and performance.

#EventualConsistency #DataSynchronization #DatabaseManagement #SystemDesign #TechInnovation #DataIntegrity #ConsistencyModel #TechTips #CloudComputing

Ready to discover #futurization, unravel the intricacies of #DataSynchronization, explore cost-effective alternatives, and witness the transformative power of Profound #API? Then, we have the #blog for you! Start your exploration now ➡️ hubs.la/Q02fgs2B0.

ProfoundLogic's tweet image. Ready to discover #futurization, unravel the intricacies of #DataSynchronization, explore cost-effective alternatives, and witness the transformative power of Profound #API? Then, we have the #blog for you! Start your exploration now ➡️ hubs.la/Q02fgs2B0.

Data synchronization in Tally allows businesses with multiple branches to share, update, and manage data across all locations. #tally #datasynchronization #Businessmanagement #TallySoftware

specialisttally's tweet image. Data synchronization in Tally allows businesses with multiple branches to share, update, and manage data across all locations.
#tally #datasynchronization #Businessmanagement #TallySoftware

So just what is IN-SYNCH all about? IN-SYNCH® is a #Sage100 installed application that provides real-time #datasynchronization with ANY third-party system! Learn more here: >>> roi-consulting.com/sage-100-integ…

INSYNCH_Sage100's tweet image. So just what is IN-SYNCH all about?
IN-SYNCH® is a #Sage100 installed application that provides real-time #datasynchronization with ANY third-party system!
Learn more here:
>>> roi-consulting.com/sage-100-integ…

Harness the power of Power Automate data synchronization to enhance efficiency and reduce errors in your business processes. #PowerAutomate #DataSynchronization Learn more: 6sc.com/power-automate…

6sc's tweet image. Harness the power of Power Automate data synchronization to enhance efficiency and reduce errors in your business processes.

 #PowerAutomate #DataSynchronization

Learn more: 6sc.com/power-automate…

Considering a Co-existent Style CMDM? Dive into the complexities and advantages of synchronizing master data back to the sources. @Pretectum offers support for this advanced approach. #MDM #DataSynchronization pretectum.com/customer-mdm-a…

pretectum's tweet image. Considering a Co-existent Style CMDM? Dive into the complexities and advantages of synchronizing master data back to the sources. @Pretectum offers support for this advanced approach. #MDM #DataSynchronization

 pretectum.com/customer-mdm-a…

🔗 Synchronizing design data isn’t optional—it’s the backbone of modern product development. Discover why seamless data flow matters more than ever. ⚙️🌐 #DesignData #DataSynchronization #ProductDevelopment #DigitalThread #OpenBOM bit.ly/4m0XkQG

openbom's tweet image. 🔗 Synchronizing design data isn’t optional—it’s the backbone of modern product development. Discover why seamless data flow matters more than ever. ⚙️🌐

#DesignData #DataSynchronization #ProductDevelopment #DigitalThread #OpenBOM

bit.ly/4m0XkQG

Loading...

Something went wrong.


Something went wrong.


United States Trends