#samsung search results

سامسونج جالكسي S26 Ultra 512GB ازرق سماوي #s26ultra #لؤي_للاتصالات #SAMSUNG


Guess what #FutureSquad... Here comes your very first look at the #Samsung #GalaxyGlasses (moniker  TBC) through a set of crispy sharp 5K renders (based on real life pictures of a testing stage unit)!...😏 On behalf of @Androidheadline 👉🏻 androidheadlines.com/samsung-galaxy…

OnLeaks's tweet image. Guess what #FutureSquad... Here comes your very first look at the #Samsung #GalaxyGlasses (moniker  TBC) through a set of crispy sharp 5K renders (based on real life pictures of a testing stage unit)!...😏

On behalf of @Androidheadline 👉🏻 androidheadlines.com/samsung-galaxy…

A57 กล้องชัดมาก เก็บมุมไหนก็น่ารัก อย่างเริ่ด👏👏 #GalaxyxTleFirstone #GalaxyA57 #Samsung #TleFirstone

กดหัวใจทะลุ 5.7K ไปแล้ว พี่ซซจะผิดสัญญาได้ไง เริ่มด้วยวิดีโอ 4K มุมกว้างงงงงง เป็น 9 วินาทีที่น่ารักไม่ไหว 😍 #GalaxyxTleFirstone #GalaxyA57 #Samsung #TleFirstone



Galaxy Watch Ultra (2025) 47mm Connexion LTE 4 coloris à 500€ au lieu de 700€ -100€ ODR (jusqu'au 30 avril 2026 inclus) tidd.ly/44J54k4 #Samsung #FrenchDays2026 #BonsPlans


@euandrewillis Só temos a agradecer por esse carinho todo! 💙 #Samsung #GalaxyS26


Galaxy Watch 8 44mm ⌚ GPS + NFC, design premium em alumínio. 🔥 De R$3.199 por R$1.709 (46% OFF no Pix) Compre aqui: meli.la/1zEnAe8 #Samsung #GalaxyWatch8 #Smartwatch #Tecnologia #Promoção #Oferta #Gadgets #Wearables #Desconto #RelógioInteligente

TecDicasBr's tweet image. Galaxy Watch 8 44mm ⌚ GPS + NFC, design premium em alumínio.
🔥 De R$3.199 por R$1.709 (46% OFF no Pix)

Compre aqui: meli.la/1zEnAe8

#Samsung #GalaxyWatch8 #Smartwatch #Tecnologia #Promoção #Oferta #Gadgets #Wearables #Desconto #RelógioInteligente

WTS Samsung Galaxy Z Fold 512 GB 11JT (BISA NEGO) Mulus no minus Accesoris lengkap lumayan bisa buat fancam samsung #samsung #konser #kpop

winterjinny_'s tweet image. WTS 

Samsung Galaxy Z Fold 512 GB 11JT (BISA NEGO)
Mulus no minus 
Accesoris lengkap 

lumayan bisa buat fancam samsung
#samsung #konser #kpop

أعلنت سامسونج رسميًا حاسوبها المحمول الجديد “جالاكسي بوك 6 إيدج”، وذلك بعد تسريبات متزايدة خلال المدة الماضية. وتطرح الشركة الجهاز للبيع بدايةً من مطلع شهر مايو. تفاصيل الخبر على الرابط: techhereit.com/technews/70 #Galaxy #samsung

Techhereit_new's tweet image. أعلنت سامسونج رسميًا حاسوبها المحمول الجديد “جالاكسي بوك 6 إيدج”، وذلك بعد تسريبات متزايدة خلال المدة الماضية.
وتطرح الشركة الجهاز للبيع بدايةً من مطلع شهر مايو.

تفاصيل الخبر على الرابط:
techhereit.com/technews/70
#Galaxy
#samsung

Écran PC Gaming 27" Odyssey OLED G8 G81SF 4K UHD 240Hz QD-OLED HDMI 2.1 *2, DP 1.4 *1 Existe en 32" à 899€ au lieu de 1399€ tidd.ly/3QDiqtr #Samsung #FrenchDays2026 #BonsPlans


تغيير قواعد متجر جالكسي | تسجيل الدخول بحساب سامسونج يصبح إلزاميًا.. وهذه أبرز التغييرات الجديدة التي يجب أن تعرفها⬇️ saudiandroid.net/2026/04/galaxy… #Samsung #GalaxyStore

SaudiAndroid's tweet image. تغيير قواعد متجر جالكسي | تسجيل الدخول بحساب سامسونج يصبح إلزاميًا.. وهذه أبرز التغييرات الجديدة التي يجب أن تعرفها⬇️
saudiandroid.net/2026/04/galaxy…

#Samsung #GalaxyStore

A new video is out. Please do well to watch, like, comment, share, and subscribe youtu.be/8lPpdQlzKts?si… #samsung #s24

chryzcode's tweet card. chryzcode

youtube.com

YouTube

chryzcode


Ventes flash ce mercredi 29 avril 2026 tidd.ly/42ZVyqD Composez votre pack Bénéficiez de 10% de remise pour l'achat de 3 produits tidd.ly/3ZEX7db #Samsung #FrenchDays2026 #BonsPlans


Bu özelliği tahmin edebilir misin? 💬🤭 Tahminini #GalaxyS26Ultra etiketi ile yorumlarda paylaş. #Samsung #GalaxyS26Ultra

SamsungTurkiye's tweet image. Bu özelliği tahmin edebilir misin? 💬🤭 Tahminini #GalaxyS26Ultra etiketi ile yorumlarda paylaş.

#Samsung #GalaxyS26Ultra
SamsungTurkiye's tweet image. Bu özelliği tahmin edebilir misin? 💬🤭 Tahminini #GalaxyS26Ultra etiketi ile yorumlarda paylaş.

#Samsung #GalaxyS26Ultra

Samsung Galaxy S26 Ultra ถ่ายศิลปินระดับโลกบนพรมแดงในงาน World Premiere ของภาพยนตร์ The Devil Wears Prada 2 . techupper.com/2026/04/29/the… . ช่องทางการซื้อ s.shopee.co.th/BQFfoYWSC และ s.lazada.co.th/s.Zgy3Un?t=p-i… . #Samsung #GalaxyS26Ultra #TheDevilWearsPrada2

jokermaster619's tweet image. Samsung Galaxy S26 Ultra ถ่ายศิลปินระดับโลกบนพรมแดงในงาน World Premiere ของภาพยนตร์ The Devil Wears Prada 2
.
techupper.com/2026/04/29/the…
.
ช่องทางการซื้อ s.shopee.co.th/BQFfoYWSC และ s.lazada.co.th/s.Zgy3Un?t=p-i…
.
#Samsung #GalaxyS26Ultra #TheDevilWearsPrada2

From street style to football action, Samsung Galaxy S26 Ultra keeps every frame locked in. #GalaxyS26Ultra #Samsung


Bu özelliği tahmin edebilir misin? 💬🤭 Tahminini #GalaxyS26Ultra etiketi ile yorumlarda paylaş. #Samsung #GalaxyS26Ultra

SamsungTurkiye's tweet image. Bu özelliği tahmin edebilir misin? 💬🤭 Tahminini #GalaxyS26Ultra etiketi ile yorumlarda paylaş.

#Samsung #GalaxyS26Ultra
SamsungTurkiye's tweet image. Bu özelliği tahmin edebilir misin? 💬🤭 Tahminini #GalaxyS26Ultra etiketi ile yorumlarda paylaş.

#Samsung #GalaxyS26Ultra

رسميًا : أعلنت سامسونج إلغاء مزامنة ملاحظات تطبيق Samsung Notes مع تطبيق التخزين السحابي OneNote بدءًا من 1 أغسطس 2026.✔️✔️ ⚠️عشان لاتفقد ملاحظاتك سوي لها مزامنة على Samsung Cloud.🔵☁️ #Samsung #Microsoft

SaudiAndroid's tweet image. رسميًا : أعلنت سامسونج إلغاء مزامنة ملاحظات تطبيق Samsung Notes مع تطبيق التخزين السحابي OneNote بدءًا من 1 أغسطس 2026.✔️✔️

⚠️عشان لاتفقد ملاحظاتك سوي لها مزامنة على Samsung Cloud.🔵☁️

#Samsung #Microsoft

น่ารักมากกกก #GalaxyxTleFirstone #GalaxyA57 #Samsung #TleFirstone

ไปกันต่อออออ พี่ซซเสิร์ฟไม่หยุด โหมดจริงจังก็ยังกว้างงงง ชัดเป๊ะทุกโมเมนท์ 🤭 #GalaxyxTleFirstone #GalaxyA57 #Samsung #TleFirstone



@padovani12535 É gratificante demais ler isso! 😍 #Samsung #GalaxyS26Ultra


@UniverseIce @tarunvats33 #samsung @SamMobiles @SamsungMobileUS Are there any solution for notifications problem that when you sweep them from status bar, the badge number will disappear automatically from the app Icon which is very bad stupid idea that Google choose? 🤔


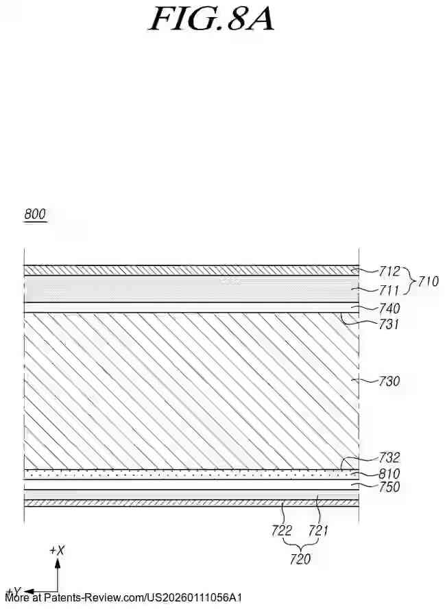
New patent application #US20260111056A1 by #Samsung introduces a head wearable electronic device. Features include a housing with a tracking camera, infrared LED, and a window cover with layered structures for scatter protection. #WearableTech #Innovation #TechPatent $SSNLF

PatentPulse's tweet image. New patent application #US20260111056A1 by #Samsung introduces a head wearable electronic device. Features include a housing with a tracking camera, infrared LED, and a window cover with layered structures for scatter protection.
#WearableTech #Innovation #TechPatent $SSNLF
PatentPulse's tweet image. New patent application #US20260111056A1 by #Samsung introduces a head wearable electronic device. Features include a housing with a tracking camera, infrared LED, and a window cover with layered structures for scatter protection.
#WearableTech #Innovation #TechPatent $SSNLF
PatentPulse's tweet image. New patent application #US20260111056A1 by #Samsung introduces a head wearable electronic device. Features include a housing with a tracking camera, infrared LED, and a window cover with layered structures for scatter protection.
#WearableTech #Innovation #TechPatent $SSNLF

سامسونج جالكسي S26 Ultra 512GB ازرق سماوي #s26ultra #لؤي_للاتصالات #SAMSUNG


A new video is out. Please do well to watch, like, comment, share, and subscribe youtu.be/8lPpdQlzKts?si… #samsung #s24

chryzcode's tweet card. chryzcode

youtube.com

YouTube

chryzcode


Ventes flash ce mercredi 29 avril 2026 Du 20h00 à minuit tidd.ly/42ZVyqD #Samsung #FrenchDays2026 #Concours #Tirage_au_sort #BonsPlans


One UI 8.5 może trafić na Galaxy S25 już 30 kwietnia lub 1 maja. Ciekawsze jest jednak to, że Samsung testował system aż w 10 betach — wyraźnie zmienił tempo i strategię aktualizacji. #Samsung android.com.pl/tech/1042261-p…


Samsung Galaxy Z Fold 7 12GB 512GB ya disponible en LaBrujita. Potencia plegable y 512 GB de almacenamiento. Consíguelo aquí: wix.to/PJ1Ru7i #GalaxyZFold7 #Samsung #Móviles #TechES

labrujita_es's tweet image. Samsung Galaxy Z Fold 7 12GB 512GB ya disponible en LaBrujita. Potencia plegable y 512 GB de almacenamiento. Consíguelo aquí: wix.to/PJ1Ru7i

#GalaxyZFold7 #Samsung #Móviles #TechES

Apliquen estos cupones y compren esta pantalla #samsung a un super precio


If your Samsung refrigerator ice bin jams or overflows, a damaged case may be why. Our DIY guide shows how to replace Ice Case Assembly (DA97-22160A) and restore smooth operation. Shop: postly.click/5PV #Samsung #IceCaseAssembly #HnKParts #HomeAppliancePartsUSA


พูดในฐานะใช้เองมาหลายรุ่น ซัมซุงตกไม่แตก ทุกวันนี้ไม่ติดฟิล์มด้วยซ้ำ พูดจริงๆก็ตกวันละหลายสิบรอบทำตัวเองด้วย แต่ข้อเสียคืออะไหล่ข้างในหลุด ถ้าเขย่าคือรู้เลย จะไปซ่อมก็ยังไงอยู่ใช้มาหลายปีแล้วทนใช้ไปเถอะอย่าไปแตะต้องมันเลยมันใช้ได้ #samsung


أعلنت سامسونج رسميًا حاسوبها المحمول الجديد “جالاكسي بوك 6 إيدج”، وذلك بعد تسريبات متزايدة خلال المدة الماضية. وتطرح الشركة الجهاز للبيع بدايةً من مطلع شهر مايو. تفاصيل الخبر على الرابط: techhereit.com/technews/70 #Galaxy #samsung

Techhereit_new's tweet image. أعلنت سامسونج رسميًا حاسوبها المحمول الجديد “جالاكسي بوك 6 إيدج”، وذلك بعد تسريبات متزايدة خلال المدة الماضية.
وتطرح الشركة الجهاز للبيع بدايةً من مطلع شهر مايو.

تفاصيل الخبر على الرابط:
techhereit.com/technews/70
#Galaxy
#samsung

رسميًا : أعلنت سامسونج إلغاء مزامنة ملاحظات تطبيق Samsung Notes مع تطبيق التخزين السحابي OneNote بدءًا من 1 أغسطس 2026.✔️✔️ ⚠️عشان لاتفقد ملاحظاتك سوي لها مزامنة على Samsung Cloud.🔵☁️ #Samsung #Microsoft

SaudiAndroid's tweet image. رسميًا : أعلنت سامسونج إلغاء مزامنة ملاحظات تطبيق Samsung Notes مع تطبيق التخزين السحابي OneNote بدءًا من 1 أغسطس 2026.✔️✔️

⚠️عشان لاتفقد ملاحظاتك سوي لها مزامنة على Samsung Cloud.🔵☁️

#Samsung #Microsoft

جالاكسي A37 5G: خلطة "السهل الممتنع" وصلت! 📱✨ اذا تبحث عن جوال يجمع بين السعر الممتاز وميزات "الفلاق شيب"؟ في هذا الفيديو، نستعرض ملك الفئة المتوسطة الجديد من سامسونج A37 5G اللي أصبح هذا العام أذكى بفضل تقنيات الذكاء الاصطناعي. @SamsungSAUDI #samsung #سامسونج


@euandrewillis Só temos a agradecer por esse carinho todo! 💙 #Samsung #GalaxyS26


🔬 Samsung Foundry al 80% de rendimiento en 4 nm 🤖 Groq, IBM y Baidu como clientes confirmados 📉 2 nm por debajo del 60% frente al 90% de TSMC ⏳ Brecha de rendimiento que se mide en años #Samsung #Semiconductores #FanáticosDelHardware #Foundry fanaticosdelhardware.com/samsung-foundr…


Galaxy Watch 8 44mm ⌚ GPS + NFC, design premium em alumínio. 🔥 De R$3.199 por R$1.709 (46% OFF no Pix) Compre aqui: meli.la/1zEnAe8 #Samsung #GalaxyWatch8 #Smartwatch #Tecnologia #Promoção #Oferta #Gadgets #Wearables #Desconto #RelógioInteligente

TecDicasBr's tweet image. Galaxy Watch 8 44mm ⌚ GPS + NFC, design premium em alumínio.
🔥 De R$3.199 por R$1.709 (46% OFF no Pix)

Compre aqui: meli.la/1zEnAe8

#Samsung #GalaxyWatch8 #Smartwatch #Tecnologia #Promoção #Oferta #Gadgets #Wearables #Desconto #RelógioInteligente

ติดฝนหน้างานพร้อมแล้ว ทีมหน้าจอพร้อมยังน้า #GalaxyxTleFirstone #GalaxyA57 #Samsung #TleFirstone Captured #withGalaxy A57

SamsungThailand's tweet image. ติดฝนหน้างานพร้อมแล้ว ทีมหน้าจอพร้อมยังน้า
#GalaxyxTleFirstone #GalaxyA57 #Samsung #TleFirstone 
Captured #withGalaxy A57

Guess what #FutureSquad... Here comes your very first look at the #Samsung #GalaxyGlasses (moniker  TBC) through a set of crispy sharp 5K renders (based on real life pictures of a testing stage unit)!...😏 On behalf of @Androidheadline 👉🏻 androidheadlines.com/samsung-galaxy…

OnLeaks's tweet image. Guess what #FutureSquad... Here comes your very first look at the #Samsung #GalaxyGlasses (moniker  TBC) through a set of crispy sharp 5K renders (based on real life pictures of a testing stage unit)!...😏

On behalf of @Androidheadline 👉🏻 androidheadlines.com/samsung-galaxy…

Hey #FutureSquad! Here comes your very first look at the #Samsung #GalaxyA27 5G (360° video + gorgeous 5K renders + dimensions)!...😏 This one comes on behalf of new Partner HotEUdeals 👉🏻 hoteudeals.com

OnLeaks's tweet image. Hey #FutureSquad! Here comes your very first look at the #Samsung #GalaxyA27 5G (360° video + gorgeous 5K renders + dimensions)!...😏

This one comes on behalf of new Partner HotEUdeals 👉🏻 hoteudeals.com

ชาวติดฝนนอนกันยัง พี่ซซ มาปาโมเมนท์ภาพมุมกว้างงงงงง เก็บหมด เก็บครบ เก็บชัดจาก #GalaxyA57 ((แต่เค้ายังยืนติดกัน)) เสิร์ฟให้ก่อนเบาๆ 2 รูป พรุ่งนี้ 6 เย็นโมงเป็นต้นไป เตรียมมาฟินกันอีกรอบ 🤭 #GalaxyxTleFirstone #Samsung #TleFirstone

SamsungThailand's tweet image. ชาวติดฝนนอนกันยัง พี่ซซ มาปาโมเมนท์ภาพมุมกว้างงงงงง เก็บหมด เก็บครบ เก็บชัดจาก #GalaxyA57 ((แต่เค้ายังยืนติดกัน)) 

เสิร์ฟให้ก่อนเบาๆ 2 รูป พรุ่งนี้ 6 เย็นโมงเป็นต้นไป เตรียมมาฟินกันอีกรอบ 🤭

 #GalaxyxTleFirstone #Samsung #TleFirstone
SamsungThailand's tweet image. ชาวติดฝนนอนกันยัง พี่ซซ มาปาโมเมนท์ภาพมุมกว้างงงงงง เก็บหมด เก็บครบ เก็บชัดจาก #GalaxyA57 ((แต่เค้ายังยืนติดกัน)) 

เสิร์ฟให้ก่อนเบาๆ 2 รูป พรุ่งนี้ 6 เย็นโมงเป็นต้นไป เตรียมมาฟินกันอีกรอบ 🤭

 #GalaxyxTleFirstone #Samsung #TleFirstone

🚨تقرير: سامسونج تدرس تغيير تصميم الكاميرات العمودية لهواتف جالكسي S27.📱🆕 ضغوطات زيادة التكاليف ممكن تأجل الخطة، لكن تزايد الاعتماد على الملحقات اللاسلكية Qi2 قد يجبرهم ينفذون بسرعة. الشركة قد تختبر التصميم الجديد في جهاز غامض سيتوفر في الاسواق قريباً.👀 #Samsung #GalaxyS27

SaudiAndroid's tweet image. 🚨تقرير: سامسونج تدرس تغيير تصميم الكاميرات العمودية لهواتف جالكسي S27.📱🆕
ضغوطات زيادة التكاليف ممكن تأجل الخطة، لكن تزايد الاعتماد على الملحقات اللاسلكية Qi2 قد يجبرهم ينفذون بسرعة.

الشركة قد تختبر التصميم الجديد في جهاز غامض سيتوفر في الاسواق قريباً.👀

#Samsung #GalaxyS27

تحديثات مهمة في متجر جالكسي📱🔄 Samsung Semantic Core Samsung Language Core بعد التحديث تم دعم اللغة العربية في ميزة تلخيص الاشعارات + ميزة فرز المكالمات ايضاً صارت تدعم العربية.👍 غالبًا تعريب بيكسبي في الطريق⏳ #Samsung #Galaxy #OneUI

SaudiAndroid's tweet image. تحديثات مهمة في متجر جالكسي📱🔄

Samsung Semantic Core
Samsung Language Core

بعد التحديث تم دعم اللغة العربية في ميزة تلخيص الاشعارات + ميزة فرز المكالمات ايضاً صارت تدعم العربية.👍

غالبًا تعريب بيكسبي في الطريق⏳

#Samsung #Galaxy #OneUI
SaudiAndroid's tweet image. تحديثات مهمة في متجر جالكسي📱🔄

Samsung Semantic Core
Samsung Language Core

بعد التحديث تم دعم اللغة العربية في ميزة تلخيص الاشعارات + ميزة فرز المكالمات ايضاً صارت تدعم العربية.👍

غالبًا تعريب بيكسبي في الطريق⏳

#Samsung #Galaxy #OneUI
SaudiAndroid's tweet image. تحديثات مهمة في متجر جالكسي📱🔄

Samsung Semantic Core
Samsung Language Core

بعد التحديث تم دعم اللغة العربية في ميزة تلخيص الاشعارات + ميزة فرز المكالمات ايضاً صارت تدعم العربية.👍

غالبًا تعريب بيكسبي في الطريق⏳

#Samsung #Galaxy #OneUI

May 2026 is stacked 📱 Flagships. Foldables. Power moves. Which one are you waiting for? #vivo #realme #samsung

TechBossIndia's tweet image. May 2026 is stacked 📱
Flagships. Foldables. Power moves.
Which one are you waiting for? #vivo #realme #samsung

سامسونج تبدأ طرح One UI 8.5 المستقر نهاية الأسبوع | إليكم خطة التوزيع وجميع المزايا والهواتف الداعمة وأكثر⬇️ saudiandroid.net/2026/04/one-ui… #Samsung #OneUI

SaudiAndroid's tweet image. سامسونج تبدأ طرح One UI 8.5 المستقر نهاية الأسبوع | إليكم خطة التوزيع وجميع المزايا والهواتف الداعمة وأكثر⬇️
saudiandroid.net/2026/04/one-ui…

#Samsung #OneUI

รีแอคพี่วิดวะอินน้องปี 1 มันเป็นงี้นี่เอง ถ้าไม่มี #GalaxyA57 พี่เติ้ลจะเอาอะไรมาเนียนน้า #GalaxyxTleFirstone #Samsung #TleFirstone รอดูเวอร์ชั่น vdo มุมกว้างชัดแป๊ะแบบเต็มได้ที่ Samsung Thailand ได้เลย vt.tiktok.com/ZS9rSK8oT/

SamsungThailand's tweet image. รีแอคพี่วิดวะอินน้องปี 1 มันเป็นงี้นี่เอง ถ้าไม่มี #GalaxyA57 พี่เติ้ลจะเอาอะไรมาเนียนน้า 
#GalaxyxTleFirstone #Samsung #TleFirstone 

รอดูเวอร์ชั่น vdo มุมกว้างชัดแป๊ะแบบเต็มได้ที่ Samsung Thailand ได้เลย
vt.tiktok.com/ZS9rSK8oT/

Looking to travel this year? Samsung Wallet's rolling out "Trips," so you don't have to worry about a thing (just get there on time, you know?) #Samsung Full story in the comments

androidcentral's tweet image. Looking to travel this year? Samsung Wallet's rolling out "Trips," so you don't have to worry about a thing (just get there on time, you know?) #Samsung

Full story in the comments

Samsung Galaxy A27 5G renders Source : @OnLeaks #Samsung #GalaxyA27

TechHome100's tweet image. Samsung Galaxy A27 5G renders 
Source : @OnLeaks
#Samsung #GalaxyA27
TechHome100's tweet image. Samsung Galaxy A27 5G renders 
Source : @OnLeaks
#Samsung #GalaxyA27
TechHome100's tweet image. Samsung Galaxy A27 5G renders 
Source : @OnLeaks
#Samsung #GalaxyA27

رسميًا : أعلنت سامسونج إلغاء مزامنة ملاحظات تطبيق Samsung Notes مع تطبيق التخزين السحابي OneNote بدءًا من 1 أغسطس 2026.✔️✔️ ⚠️عشان لاتفقد ملاحظاتك سوي لها مزامنة على Samsung Cloud.🔵☁️ #Samsung #Microsoft

SaudiAndroid's tweet image. رسميًا : أعلنت سامسونج إلغاء مزامنة ملاحظات تطبيق Samsung Notes مع تطبيق التخزين السحابي OneNote بدءًا من 1 أغسطس 2026.✔️✔️

⚠️عشان لاتفقد ملاحظاتك سوي لها مزامنة على Samsung Cloud.🔵☁️

#Samsung #Microsoft

จากชาวติดฝน…สู่ 750 คนพิเศษ ☔✨ ที่กำลังจะได้สร้างความทรงจำ กับ Galaxy A57 VDO มุมกว้าง เช็กชื่อ แล้วมาเจอกันนะ 💙 👉เช็ครายชื่อได้ที่ลิงค์ sjspace.my.canva.site/fan-zone-750-g… สำหรับคนที่พลาดไป รอพรุ่งนี้นะ แล้วมาร่วมให้กำลังใจกันนะ #GalaxyxTleFirstone #GalaxyA57 #Samsung

SamsungThailand's tweet image. จากชาวติดฝน…สู่ 750 คนพิเศษ ☔✨
 ที่กำลังจะได้สร้างความทรงจำ
กับ Galaxy A57 VDO มุมกว้าง
เช็กชื่อ แล้วมาเจอกันนะ 💙

👉เช็ครายชื่อได้ที่ลิงค์
sjspace.my.canva.site/fan-zone-750-g…

สำหรับคนที่พลาดไป รอพรุ่งนี้นะ
แล้วมาร่วมให้กำลังใจกันนะ

#GalaxyxTleFirstone #GalaxyA57 #Samsung

พี่ซซ พร้อมเสิร์ฟ เริ่มด้วยช้อตหล่อละลาย ยิ่งถือ #GalaxyA57 ยิ่งเริ่ดเลยหละ #GalaxyxTleFirstone #Samsung #TleFirstone

SamsungThailand's tweet image. พี่ซซ พร้อมเสิร์ฟ เริ่มด้วยช้อตหล่อละลาย ยิ่งถือ #GalaxyA57 ยิ่งเริ่ดเลยหละ
#GalaxyxTleFirstone #Samsung #TleFirstone

ก็ #Galaxy57 บางงงงง แบบไม่สามารถกั้นความน่ารักได้เลยหละ 🫠 #GalaxyxTleFirstone #Samsung #TleFirstone vt.tiktok.com/ZS9rAsPX3/

SamsungThailand's tweet image. ก็ #Galaxy57 บางงงงง แบบไม่สามารถกั้นความน่ารักได้เลยหละ 🫠
#GalaxyxTleFirstone #Samsung #TleFirstone

vt.tiktok.com/ZS9rAsPX3/

رسميًا : من 1 مايو 2026 متجر جالكسي بيطلب تسجيل الدخول باستخدام حساب سامسونج .. عشان تقدر تستخدمه وتثبت التطبيقات و التحديثات.✔️ #Samsung #GalaxyStore

SaudiAndroid's tweet image. رسميًا : من 1 مايو 2026 متجر جالكسي بيطلب تسجيل الدخول باستخدام حساب سامسونج .. عشان تقدر تستخدمه وتثبت التطبيقات و التحديثات.✔️

#Samsung #GalaxyStore

หมูจุ่มเช้คคคค GALAXYA57TFO VDO4k #GalaxyxTleFirstOne #GalaxyA57 #Samsung #TleFirstOne #เติ้ลเฟิร์สวัน #Tle_mtm #FirstOne

APLEPIEEEEE's tweet image. หมูจุ่มเช้คคคค 

GALAXYA57TFO VDO4k 
#GalaxyxTleFirstOne #GalaxyA57 #Samsung 
#TleFirstOne #เติ้ลเฟิร์สวัน
#Tle_mtm #FirstOne
APLEPIEEEEE's tweet image. หมูจุ่มเช้คคคค 

GALAXYA57TFO VDO4k 
#GalaxyxTleFirstOne #GalaxyA57 #Samsung 
#TleFirstOne #เติ้ลเฟิร์สวัน
#Tle_mtm #FirstOne

💙 #GalaxyxTleFirstOne พร้อมแล้ว กับบรรยากาศสุดฟิน มาเติมเกม เติมแป๋วแบบชัดเจนเต็มตาระดับ VDO 4K ไปพร้อมกัน กับงาน SAMSUNG GALAXY A57 VDO มุมกว้าง MOMENT ✨ 📍 ที่ M SPACE ชั้น G เดอะมอลล์ไลฟ์สโตร์ บางกะปิ #GalaxyA57 #Samsung #TleFirstone #THEMALLLIFESTOREBANGKAPI #THEMALLGROUP

TheMallThailand's tweet image. 💙 #GalaxyxTleFirstOne พร้อมแล้ว กับบรรยากาศสุดฟิน มาเติมเกม เติมแป๋วแบบชัดเจนเต็มตาระดับ VDO 4K ไปพร้อมกัน กับงาน SAMSUNG GALAXY A57 VDO มุมกว้าง MOMENT ✨

📍 ที่ M SPACE ชั้น G
เดอะมอลล์ไลฟ์สโตร์ บางกะปิ

#GalaxyA57 #Samsung #TleFirstone
#THEMALLLIFESTOREBANGKAPI #THEMALLGROUP
TheMallThailand's tweet image. 💙 #GalaxyxTleFirstOne พร้อมแล้ว กับบรรยากาศสุดฟิน มาเติมเกม เติมแป๋วแบบชัดเจนเต็มตาระดับ VDO 4K ไปพร้อมกัน กับงาน SAMSUNG GALAXY A57 VDO มุมกว้าง MOMENT ✨

📍 ที่ M SPACE ชั้น G
เดอะมอลล์ไลฟ์สโตร์ บางกะปิ

#GalaxyA57 #Samsung #TleFirstone
#THEMALLLIFESTOREBANGKAPI #THEMALLGROUP
TheMallThailand's tweet image. 💙 #GalaxyxTleFirstOne พร้อมแล้ว กับบรรยากาศสุดฟิน มาเติมเกม เติมแป๋วแบบชัดเจนเต็มตาระดับ VDO 4K ไปพร้อมกัน กับงาน SAMSUNG GALAXY A57 VDO มุมกว้าง MOMENT ✨

📍 ที่ M SPACE ชั้น G
เดอะมอลล์ไลฟ์สโตร์ บางกะปิ

#GalaxyA57 #Samsung #TleFirstone
#THEMALLLIFESTOREBANGKAPI #THEMALLGROUP
TheMallThailand's tweet image. 💙 #GalaxyxTleFirstOne พร้อมแล้ว กับบรรยากาศสุดฟิน มาเติมเกม เติมแป๋วแบบชัดเจนเต็มตาระดับ VDO 4K ไปพร้อมกัน กับงาน SAMSUNG GALAXY A57 VDO มุมกว้าง MOMENT ✨

📍 ที่ M SPACE ชั้น G
เดอะมอลล์ไลฟ์สโตร์ บางกะปิ

#GalaxyA57 #Samsung #TleFirstone
#THEMALLLIFESTOREBANGKAPI #THEMALLGROUP

สเต็ปเพิ่น จริตชี GALAXYA57TFO VDO4k #GalaxyxTleFirstOne #GalaxyA57 #Samsung #TleFirstOne #เติ้ลเฟิร์สวัน #Tle_mtm #FirstOne

APLEPIEEEEE's tweet image. สเต็ปเพิ่น จริตชี 

GALAXYA57TFO VDO4k 
#GalaxyxTleFirstOne #GalaxyA57 #Samsung 
#TleFirstOne #เติ้ลเฟิร์สวัน
#Tle_mtm #FirstOne
APLEPIEEEEE's tweet image. สเต็ปเพิ่น จริตชี 

GALAXYA57TFO VDO4k 
#GalaxyxTleFirstOne #GalaxyA57 #Samsung 
#TleFirstOne #เติ้ลเฟิร์สวัน
#Tle_mtm #FirstOne
APLEPIEEEEE's tweet image. สเต็ปเพิ่น จริตชี 

GALAXYA57TFO VDO4k 
#GalaxyxTleFirstOne #GalaxyA57 #Samsung 
#TleFirstOne #เติ้ลเฟิร์สวัน
#Tle_mtm #FirstOne

اليوم في أمريكا ثلاث شركات قامت برفع اسعار اجهزتها مايكروسوفت - سامسونج - موتورولا.💸 #Microsoft #Samsung #Motorola

SaudiAndroid's tweet image. اليوم في أمريكا ثلاث شركات قامت برفع اسعار اجهزتها 
مايكروسوفت - سامسونج - موتورولا.💸

#Microsoft #Samsung #Motorola

Loading...

Something went wrong.


Something went wrong.