transferml's profile picture. digital media marketing and design. its what i do.

Mike Lake

@transferml

digital media marketing and design. its what i do.

Mike Lake reposted

This is our kind of conference! Spending time with our partners at @VisitMontana. #MontanaMoment #MTTourism

bigfuel's tweet image. This is our kind of conference! Spending time with our partners at @VisitMontana. #MontanaMoment #MTTourism

Social media 3.0 at the #mttourism conference.

transferml's tweet image. Social media 3.0 at the #mttourism conference.

Mike Lake reposted

Find where your people congregate and take your marketing messages to them. -@TomMartin #mttourism


Mike Lake reposted

All mic’d up and ready to rock a stage at the Montana Gov Conf. These folks are about to become very awake!

TomMartin's tweet image. All mic’d up and ready to rock a stage at the Montana Gov Conf. These folks are about to become very awake!

Mike Lake reposted

"If you already suck, you're going to suck even more on social media." ~ @TomMartin #MTTourism


Hah. Such idiocy. Cause censorships always works. MT lawmaker seeks to outlaw provocative clothing. gftrib.com/1DYI3nV via @GFTribune


Mike Lake reposted

Mel Brooks Confirms SPACEBALLS Sequel Development! rant.to/192eBUz

GeekTyrant's tweet image. Mel Brooks Confirms SPACEBALLS Sequel Development!
rant.to/192eBUz —

No kidding... Enter to win a getaway to Billings, MT gftrib.com/1DNAsIT via @GFTribune


When Taylor Swift comes out with a song you hate to love. imgflip.com/gif/gxcek


Oscar the Grouch, makes me happy. #irony.

transferml's tweet image. Oscar the Grouch, makes me happy. #irony.

RT @doodlewhale: This is super cool. The Ultimate Parkour!: bit.ly/1xyuqK5


Mike Lake reposted

Sylvester Stallone to Shoot RAMBO: LAST BLOOD After CREED rant.to/1wAIlLR

GeekTyrant's tweet image. Sylvester Stallone to Shoot RAMBO: LAST BLOOD After CREED
rant.to/1wAIlLR —

Mike Lake reposted

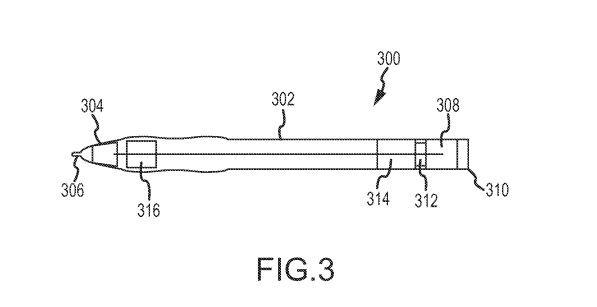
Apple patents a smart pen that could digitize your handwritten notes from any surface: on.mash.to/1HfbmVm

futureshift's tweet image. Apple patents a smart pen that could digitize your handwritten notes from any surface: on.mash.to/1HfbmVm

Mike Lake reposted

You can get twice as much Wil Wheaton by watching this video & you can get twice as much Scotch Ale by buying two. amp.twimg.com/v/fb097686-ac1…


United States Trends

Loading...

Something went wrong.


Something went wrong.