#driverassistance search results

🚋 Making a big impact on the #tram network: Thanks to our forward collision warning system, the number of tram accidents in The Hague has been halved. 💪📉 And we’re continuously working on further developing our #driverassistance systems: bit.ly/tramcollisionw…


#China is stepping up efforts to ensure the safe and steady rollout of #driverassistance technologies by introducing new national standards, in a bid to guide innovation with regulation and ensure the steady, secure growth of its automobile industry, said industry experts. #tech

ChinaDaily's tweet image. #China is stepping up efforts to ensure the safe and steady rollout of #driverassistance technologies by introducing new national standards, in a bid to guide innovation with regulation and ensure the steady, secure growth of its automobile industry, said industry experts. #tech…

🚋 Using #driverassistance technology for cars to make tram traffic safer: Consisting of a multi-purpose camera, a radar sensor & a control unit, our #Tram Forward Collision Warning system can detect obstacles on the tracks & warn the driver in time. More: bit.ly/tramcollisionw…

BoschGlobal's tweet image. 🚋 Using #driverassistance technology for cars to make tram traffic safer: Consisting of a multi-purpose camera, a radar sensor & a control unit, our #Tram Forward Collision Warning system can detect obstacles on the tracks & warn the driver in time. More: bit.ly/tramcollisionw…

Tech Tip Thursday: Tailor your driving experience. Learn how to adjust your Range Rover's driver assistance settings for personalized safety and convenience. Watch our video for a step-by-step guide. #TechTipThursday #LandRover #DriverAssistance #SafetyFirst #LandRoverChandler


🚀Blog-tastic Tuesdays🚀 learnopencv.com/advanced-drive… Our latest blog post introduces you to Advanced Driver Assistance Systems (ADAS), the need for it, and much much more! #AI #computervision #driverassistance #deeplearning #machinelearning #techinnovation #learnopencv


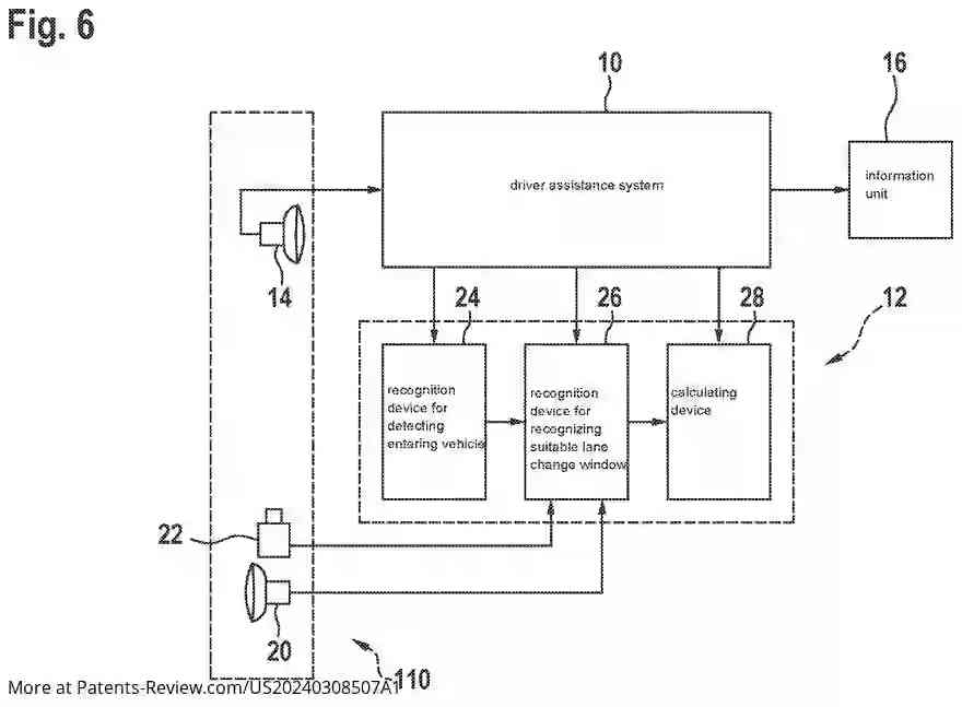
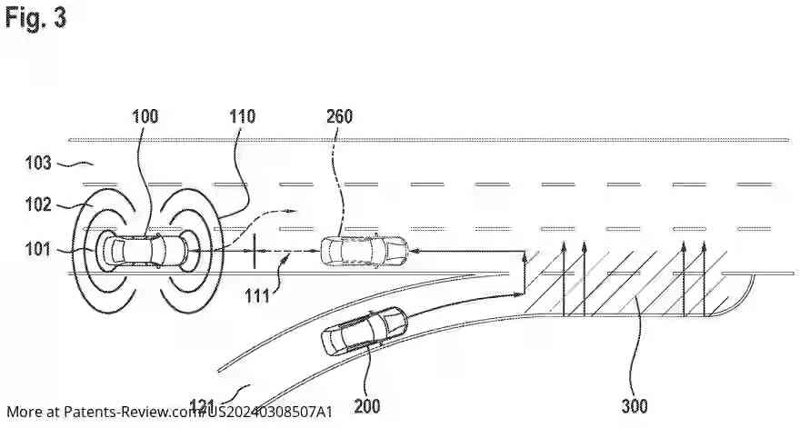
New patent appl. #US20240308507A1 by #RobertBosch GmbH for driver assistance in merging lanes. Uses environment sensors to detect traffic, enabling cooperative behavior between vehicles. #DriverAssistance #TrafficTech #PatentLaw #AutoInnovation #Automotive #Bosch

PatentPulse's tweet image. New patent appl. #US20240308507A1 by #RobertBosch GmbH for driver assistance in merging lanes. Uses environment sensors to detect traffic, enabling cooperative behavior between vehicles. #DriverAssistance #TrafficTech #PatentLaw #AutoInnovation #Automotive #Bosch
PatentPulse's tweet image. New patent appl. #US20240308507A1 by #RobertBosch GmbH for driver assistance in merging lanes. Uses environment sensors to detect traffic, enabling cooperative behavior between vehicles. #DriverAssistance #TrafficTech #PatentLaw #AutoInnovation #Automotive #Bosch
PatentPulse's tweet image. New patent appl. #US20240308507A1 by #RobertBosch GmbH for driver assistance in merging lanes. Uses environment sensors to detect traffic, enabling cooperative behavior between vehicles. #DriverAssistance #TrafficTech #PatentLaw #AutoInnovation #Automotive #Bosch

#Toyota's new patent app #US20240253656A1 reveals a driver assistance device that alerts users about potential collisions. It predicts vehicle and object trajectories using position potential info, enhancing safety. #DriverAssistance #VehicleSafety #Automotive

PatentPulse's tweet image. #Toyota's new patent app #US20240253656A1 reveals a driver assistance device that alerts users about potential collisions. It predicts vehicle and object trajectories using position potential info, enhancing safety. #DriverAssistance #VehicleSafety #Automotive
PatentPulse's tweet image. #Toyota's new patent app #US20240253656A1 reveals a driver assistance device that alerts users about potential collisions. It predicts vehicle and object trajectories using position potential info, enhancing safety. #DriverAssistance #VehicleSafety #Automotive
PatentPulse's tweet image. #Toyota's new patent app #US20240253656A1 reveals a driver assistance device that alerts users about potential collisions. It predicts vehicle and object trajectories using position potential info, enhancing safety. #DriverAssistance #VehicleSafety #Automotive

Buckle up and experience a better way to test! Moku delivers instant access to essential #automotive test instruments in one device for applications from in-vehicle #datalogging to advanced #driverassistance systems 🚘 Check it out: hubs.ly/Q01_cG4r0 #testandmeasurement

LiquidInstrmnts's tweet image. Buckle up and experience a better way to test! Moku delivers instant access to essential #automotive test instruments in one device for applications from in-vehicle #datalogging to advanced #driverassistance systems 🚘

Check it out: hubs.ly/Q01_cG4r0

#testandmeasurement

Insurance risk models need an upgrade for modern vehicle tech. ADAS feature sets vary widely, yet insurers often lack the granular data needed to assess risk. Standardized ADAS data can provide the missing link. #ADAS #AutoInsurance #DriverAssistance bit.ly/48ME3hV


Inferior data sets can increase the risk of #accidents in #driverassistance #systems: Is quantity really the best #solution for training highly functional #ADAS? tinyurl.com/yc72j3z5

EEngineeringMag's tweet image. Inferior data sets can increase the risk of #accidents in #driverassistance #systems: Is quantity really the best #solution for training highly functional #ADAS?
tinyurl.com/yc72j3z5

Great event at #ADINJC yesterday. @steveboyl3 engaged with many to spread awareness of #DriverAssistance technology and how we can help train businesses on these #DriverSafety systems known as #ADAS to save lives & improve road risk management. Learn more at [email protected]

DriverassistM's tweet image. Great event at #ADINJC yesterday. @steveboyl3 engaged with many to spread awareness of #DriverAssistance technology and how we can help train businesses on these #DriverSafety systems known as #ADAS to save lives & improve road risk management. Learn more at info@driverassist.me

Dongchedi Smart Test | The Disappearing Car Ahead — NIO ES6’s Real Highway Performance Handled like a pro driver? 👀 #DongchediSmartTest #DriverAssistance #NIOES6 $NIO @NIOSwitzerland @Jas0nYu


BYD's stock surged after announcing advancements in its driver-assistance system, outpacing Tesla's performance. Check out the graph! 📈 #BYD #Tesla #DriverAssistance #Stocks

den_4e's tweet image. BYD's stock surged after announcing advancements in its driver-assistance system, outpacing Tesla's performance. Check out the graph! 📈 #BYD #Tesla #DriverAssistance #Stocks

Enhance vehicle safety with PTG's ADAS solutions. State-of-the-art features for driver awareness and performance. #ptg #ADAS #DriverAssistance #VehicleSafety #AutomotiveTechnology #AdvancedSafety #AutonomousDriving #PTGTechnology #AutomotiveInnovation

PeopleTechInc's tweet image. Enhance vehicle safety with PTG's ADAS solutions. State-of-the-art features for driver awareness and performance.

#ptg #ADAS #DriverAssistance #VehicleSafety #AutomotiveTechnology #AdvancedSafety #AutonomousDriving #PTGTechnology #AutomotiveInnovation

And it is time to meet another of our fantastic exhibitors at #UKLRC23. Introducing @BoschGlobal. Read more about their fantastic work below 👇👇👇👇👇👇 #driverassistance #cityrail #lightrail #lrt #safertransit #solutions #engineeringexperts #alwaysinnovative

MainspringUK's tweet image. And it is time to meet another of our fantastic exhibitors at #UKLRC23. Introducing @BoschGlobal. Read more about their fantastic work below 👇👇👇👇👇👇
#driverassistance #cityrail #lightrail #lrt #safertransit #solutions #engineeringexperts #alwaysinnovative

If you’re driving to visit loved ones this holiday, please drive safely. Arriving safe and sound is the best gift of all! Mio #dashcams are your eyewitness on the road and can help #driverassistance safety features. Learn more at amzn.to/3uV3Izl #Dashcam #DriveSafe

magellandashcam's tweet image. If you’re driving to visit loved ones this holiday, please drive safely.

Arriving safe and sound is the best gift of all!

Mio #dashcams are your eyewitness on the road and can help #driverassistance safety features.

Learn more at amzn.to/3uV3Izl #Dashcam #DriveSafe

NewswireToday / Knorr-Bremse Presents Intelligent Driver Assistance System LEADER Flow for Rail Transport #KnorrBremseAG #DriverAssistance #Rail #LEADERFlow #EnergyEfficiency #GeoData #GNSS #Locomotive #AutoPilot #AutoControl #AAR #Transportation - newswiretoday.com/news/184827/


Driver assistance ≠ autonomous driving. New Ministry of Public Security regulations drop because people are overusing ADAS in China 🤷‍♂️ #DriveSafe #ADAS #DriverAssistance #NotAutopilot #RoadSafety @ChinaEV_Eng_Lif


NewswireToday / Knorr-Bremse Presents Intelligent Driver Assistance System LEADER Flow for Rail Transport #KnorrBremseAG #DriverAssistance #Rail #LEADERFlow #EnergyEfficiency #GeoData #GNSS #Locomotive #AutoPilot #AutoControl #AAR #Transportation - newswiretoday.com/news/184827/


Insurance risk models need an upgrade for modern vehicle tech. ADAS feature sets vary widely, yet insurers often lack the granular data needed to assess risk. Standardized ADAS data can provide the missing link. #ADAS #AutoInsurance #DriverAssistance bit.ly/48ME3hV


Ambarella, Inc. is a leading semiconductor company specializing in video processing solutions. This article will help you determine if Ambarella is a good investment opportunity: artificall.com/analysis/compa… $AMBA #DriverAssistance #AI #Investing

ArtificallCom's tweet image. Ambarella, Inc. is a leading semiconductor company specializing in video processing solutions.

This article will help you determine if Ambarella is a good investment opportunity:

artificall.com/analysis/compa…

$AMBA #DriverAssistance #AI #Investing

#China is stepping up efforts to ensure the safe and steady rollout of #driverassistance technologies by introducing new national standards, in a bid to guide innovation with regulation and ensure the steady, secure growth of its automobile industry, said industry experts. #tech

ChinaDaily's tweet image. #China is stepping up efforts to ensure the safe and steady rollout of #driverassistance technologies by introducing new national standards, in a bid to guide innovation with regulation and ensure the steady, secure growth of its automobile industry, said industry experts. #tech…

The 2025 Kia K4 stands out as one of Kia’s safest and most affordable sedans, earning IIHS Top Safety Pick+ honors alongside modern tech and crash test excellence. #DriverAssistance #ADAS #CrashTest slashgear.com/1953361/safest…


Ahead of it's annual Road Safety Week, taking place between November 16-22, road safety charity Brake is calling for mandatory safety technology such as automated driver assistance systems: fleetnews.co.uk/news/brake-cal… #roadsafety #DriverAssistance #CarTechnology


Ahead of it's annual Road Safety Week, taking place between November 16-22, road safety charity Brake is calling for mandatory safety technology such as automated driver assistance systems: fleetnews.co.uk/news/brake-cal… #roadsafety #DriverAssistance #CarTechnology


Motorists risk being fined £1,000 for common friendly gesture msn.com/en-gb/cars/new… Via @MSNNews - Daily Star #Motorists #DriverAssistance


Dongchedi Smart Test | The Disappearing Car Ahead — NIO ES6’s Real Highway Performance Handled like a pro driver? 👀 #DongchediSmartTest #DriverAssistance #NIOES6 $NIO @NIOSwitzerland @Jas0nYu


Tired of tedious commutes? 🚗 Comma.ai can help! * 🚦 Lane keeping & Adaptive Cruise Control * 🧠 Learns your driving style * 📱 Open source & community-driven Level up your drive: comma.ai #ADAS #DriverAssistance #AI #AITools


No results for "#driverassistance"

Introducing the new Nissan #Skyline, with the all-new #ProPILOT 2.0 #DriverAssistance system. Explore all the advanced features of this premium Nissan #sedan: newsroom.nissan-global.com/releases/relea…

NissanMotor's tweet image. Introducing the new Nissan #Skyline, with the all-new #ProPILOT 2.0 #DriverAssistance system. Explore all the advanced features of this premium Nissan #sedan: newsroom.nissan-global.com/releases/relea…
NissanMotor's tweet image. Introducing the new Nissan #Skyline, with the all-new #ProPILOT 2.0 #DriverAssistance system. Explore all the advanced features of this premium Nissan #sedan: newsroom.nissan-global.com/releases/relea…
NissanMotor's tweet image. Introducing the new Nissan #Skyline, with the all-new #ProPILOT 2.0 #DriverAssistance system. Explore all the advanced features of this premium Nissan #sedan: newsroom.nissan-global.com/releases/relea…
NissanMotor's tweet image. Introducing the new Nissan #Skyline, with the all-new #ProPILOT 2.0 #DriverAssistance system. Explore all the advanced features of this premium Nissan #sedan: newsroom.nissan-global.com/releases/relea…

How can #Nissan enhance your journey? Discover the capabilities of the new #ProPILOT 2.0, a world's first in #DriverAssistance technology: newsroom.nissan-global.com/releases/relea… #Skyline

NissanMotor's tweet image. How can #Nissan enhance your journey? Discover the capabilities of the new #ProPILOT 2.0, a world's first in #DriverAssistance technology: newsroom.nissan-global.com/releases/relea… #Skyline
NissanMotor's tweet image. How can #Nissan enhance your journey? Discover the capabilities of the new #ProPILOT 2.0, a world's first in #DriverAssistance technology: newsroom.nissan-global.com/releases/relea… #Skyline
NissanMotor's tweet image. How can #Nissan enhance your journey? Discover the capabilities of the new #ProPILOT 2.0, a world's first in #DriverAssistance technology: newsroom.nissan-global.com/releases/relea… #Skyline

Tune in to @RoadDogTrucking at 2pm Eastern on @SIRIUSXM CH146 today for a discussion with Bendix on advanced #driverassistance systems and #trucking #safety.

Bendix_CVS's tweet image. Tune in to @RoadDogTrucking at 2pm Eastern on @SIRIUSXM CH146 today for a discussion with Bendix on advanced #driverassistance systems and #trucking #safety.

From electronic skid control to automatic emergency braking: Bosch is a company known for pioneering achievements in #driverassistance systems. They help us make #driving safer, more comfortable, and pave the way for #automateddriving: bit.ly/BoschatIAA21 #BoschIAA #IAA21

BoschGlobal's tweet image. From electronic skid control to automatic emergency braking: Bosch is a company known for pioneering achievements in #driverassistance systems. They help us make #driving safer, more comfortable, and pave the way for #automateddriving: bit.ly/BoschatIAA21 #BoschIAA #IAA21

Today is #NationalAutonomousVehicleDay! This month, we proudly announced both our #Automated Technology Program + a partnership with @RoboticResearch to bring advanced #driverassistance systems to the #publictransit industry. #ItsBrightAhead

newflyer's tweet image. Today is #NationalAutonomousVehicleDay! This month, we proudly announced both our #Automated Technology Program + a partnership with @RoboticResearch to bring advanced #driverassistance systems to the #publictransit industry. #ItsBrightAhead

Working on accident-free #mobility: Developed in 1995, #ESP® is the basic technology for many #driverassistance systems and #automateddriving. Learn about our milestones on the way to fully automated driving: bit.ly/BoschMilestone…

BoschGlobal's tweet image. Working on accident-free #mobility: Developed in 1995, #ESP® is the basic technology for many #driverassistance systems and #automateddriving. Learn about our milestones on the way to fully automated driving: bit.ly/BoschMilestone…

Catch Bendix discussing #driverassistance technologies and automatic slack adjusters on @SIRIUSXM Road Dog #Trucking from 2-3pm Eastern today! @RoadDogTrucking

Bendix_CVS's tweet image. Catch Bendix discussing #driverassistance technologies and automatic slack adjusters on @SIRIUSXM Road Dog #Trucking from 2-3pm Eastern today! @RoadDogTrucking

Today is #NationalAutonomousVehicleDay! We would like to recognize transit workers who push #automated technology forward. In partnership with @RoboticResearch, we're developing advanced #driverassistance systems into existing bus applications to improve passenger #safety

newflyer's tweet image. Today is #NationalAutonomousVehicleDay! We would like to recognize transit workers who push #automated technology forward. In partnership with @RoboticResearch, we're developing advanced #driverassistance systems into existing bus applications to improve passenger #safety

Almost time for our talk with @RoadDogTrucking: Catch us on @SIRIUSXM CH146 around 2 p.m.! #driverassistance #ADAS #trucking

Bendix_CVS's tweet image. Almost time for our talk with @RoadDogTrucking: Catch us on @SIRIUSXM CH146 around 2 p.m.! #driverassistance #ADAS #trucking

Make sure the coast is clear! The ND-BC8 back-up camera pairs perfectly with our NEX in-dash receivers for a better peace of mind. NEX receiver sold separately. #pioneercaraudio #driverassistance #backupcamera #connectedcar

PioneerUSA's tweet image. Make sure the coast is clear! The ND-BC8 back-up camera pairs perfectly with our NEX in-dash receivers for a better peace of mind. NEX receiver sold separately.  #pioneercaraudio #driverassistance #backupcamera #connectedcar

🚋 Using #driverassistance technology for cars to make tram traffic safer: Consisting of a multi-purpose camera, a radar sensor & a control unit, our #Tram Forward Collision Warning system can detect obstacles on the tracks & warn the driver in time. More: bit.ly/tramcollisionw…

BoschGlobal's tweet image. 🚋 Using #driverassistance technology for cars to make tram traffic safer: Consisting of a multi-purpose camera, a radar sensor & a control unit, our #Tram Forward Collision Warning system can detect obstacles on the tracks & warn the driver in time. More: bit.ly/tramcollisionw…

Visit @NIglobal at the Automotive Testing Expo to learn how we and our partners are tackling the challenges of Automated Test and Measurement in the Automotive Industry: #driverassistance / #activesafety, #ehicleconnectivity and #electrification. See you in Stuttgart tomorrow🌻

RahmanNow's tweet image. Visit @NIglobal at the Automotive Testing Expo to learn how we and our partners are tackling the challenges of Automated Test and Measurement in the Automotive Industry: #driverassistance / #activesafety, #ehicleconnectivity and #electrification. See you in Stuttgart tomorrow🌻

Watch this video to see how easy it is to create & process a simple project in EB Assist ADTF 3. This is THE tool for development, validation, visualization & testing of #driverassistance and #automateddriving! ow.ly/Khvw50khTSA

_Elektrobit's tweet image. Watch this video to see how easy it is to create & process a simple project in EB Assist ADTF 3. This is THE tool for development, validation, visualization & testing of #driverassistance and #automateddriving! ow.ly/Khvw50khTSA

More performance, less energy consumption: #Continental will be using high-performance chips from @ambarella_inc for its #DriverAssistance systems in the future. The #chips process #sensor data faster while consuming less power than standard chips. More: continental.com/en/press/press…

Conti_Press's tweet image. More performance, less energy consumption: #Continental will be using high-performance chips from @ambarella_inc for its #DriverAssistance systems in the future. The #chips process #sensor data faster while consuming less power than standard chips. More: continental.com/en/press/press…

Today, @NFIGroup and @RoboticResearch announced an agreement to increase the deployment of advanced #driverassistance systems (“ADAS”) in transit agency fleets across North America Read more bit.ly/3lXLdaQ #LeadingTheZEvolution #XcelsiorAV #NewFlyerAV #FirstAutomatedBus

newflyer's tweet image. Today, @NFIGroup and @RoboticResearch announced an agreement to increase the deployment of advanced #driverassistance systems (“ADAS”) in transit agency fleets across North America
Read more bit.ly/3lXLdaQ

#LeadingTheZEvolution #XcelsiorAV #NewFlyerAV #FirstAutomatedBus

Georgia-based @Saia_Inc equips all of its roughly 5,000 tractors with advanced #safety and braking features, including Bendix #airdiscbrakes and Wingman Fusion advanced #driverassistance systems: bit.ly/3aF4qFP #trucking

Bendix_CVS's tweet image. Georgia-based @Saia_Inc equips all of its roughly 5,000 tractors with advanced #safety and braking features, including Bendix #airdiscbrakes and Wingman Fusion advanced #driverassistance systems: bit.ly/3aF4qFP #trucking

THE tool for development, validation, visualization & testing of #driverassistance & #automateddriving features is EB Assist ADTF 3! Watch how it can make the processing & delivering experience easier for you & your customers here: ow.ly/opT150khTTW

_Elektrobit's tweet image. THE tool for development, validation, visualization & testing of #driverassistance & #automateddriving features is EB Assist ADTF 3! Watch how it can make the processing & delivering experience easier for you & your customers here: ow.ly/opT150khTTW

Loading...

Something went wrong.


Something went wrong.


United States Trends