#flexibledisplay search results

Samsung unveils the future of gaming with their flexible screen portable console #Samsung #Flexibledisplay samlover.com/2023/02/14/sam…


Flexible displays that can change color, convey information and even send veiled messages via infrared radiation are now possible, thanks to new research from the @UofIllinois. Written by: Lois Yoksoulian #FlexibleDisplay #LED #display #screen #tech #engineering #innovation

WevolverApp's tweet image. Flexible displays that can change color, convey information and even send veiled messages via infrared radiation are now possible, thanks to new research from the @UofIllinois. 

Written by: Lois Yoksoulian

#FlexibleDisplay #LED #display #screen #tech #engineering #innovation

The electronic market is embracing foldable and flexible display technology, offering new possibilities for portable and innovative devices. 📏📲 #flexibledisplay #innovation @konanbarbitrage @nacryptotrading


Samsung's latest patent application #US20250142746A1 reveals an #ElectronicDevice with a #FlexibleDisplay. It features dual housings connected by a hinge, allowing it to fold along an axis. The display includes a window layer, display panel, support plate with patterns, and

PatentPulse's tweet image. Samsung's latest patent application #US20250142746A1 reveals an #ElectronicDevice with a #FlexibleDisplay. It features dual housings connected by a hinge, allowing it to fold along an axis. The display includes a window layer, display panel, support plate with patterns, and
PatentPulse's tweet image. Samsung's latest patent application #US20250142746A1 reveals an #ElectronicDevice with a #FlexibleDisplay. It features dual housings connected by a hinge, allowing it to fold along an axis. The display includes a window layer, display panel, support plate with patterns, and
PatentPulse's tweet image. Samsung's latest patent application #US20250142746A1 reveals an #ElectronicDevice with a #FlexibleDisplay. It features dual housings connected by a hinge, allowing it to fold along an axis. The display includes a window layer, display panel, support plate with patterns, and
PatentPulse's tweet image. Samsung's latest patent application #US20250142746A1 reveals an #ElectronicDevice with a #FlexibleDisplay. It features dual housings connected by a hinge, allowing it to fold along an axis. The display includes a window layer, display panel, support plate with patterns, and

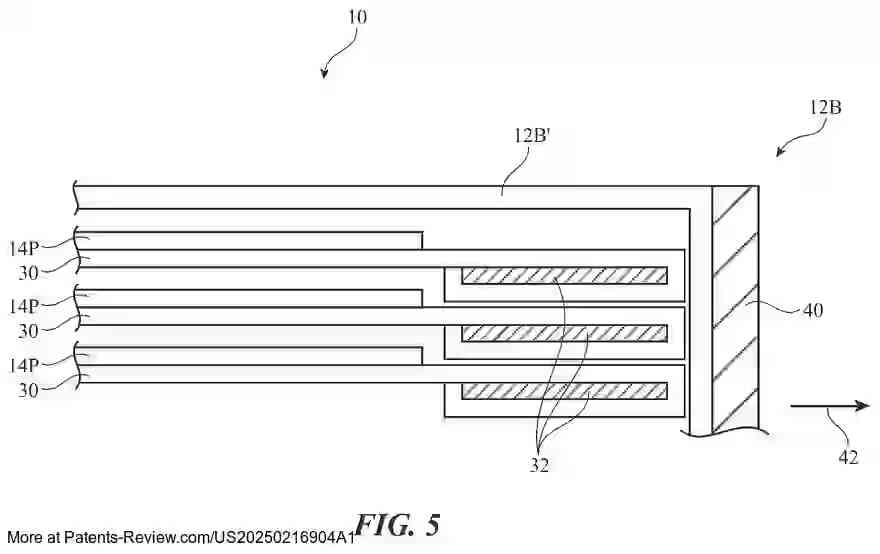
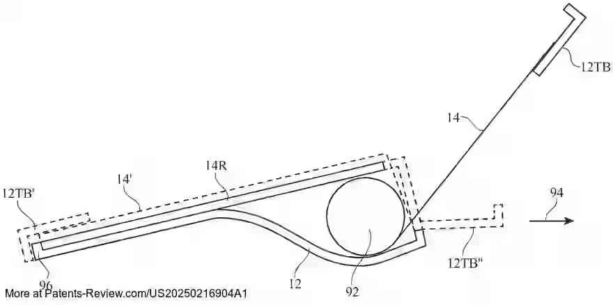
Introducing Apple's latest patent application #US20250216904A1: Electronic Device With Flexible Display Structures. 📱 This innovation features a #FlexibleDisplay that folds along bend axes, with rollers for seamless deployment. 🌀 A touch screen can be extended from the

PatentPulse's tweet image. Introducing Apple's latest patent application #US20250216904A1: Electronic Device With Flexible Display Structures. 📱

This innovation features a #FlexibleDisplay that folds along bend axes, with rollers for seamless deployment. 🌀

A touch screen can be extended from the
PatentPulse's tweet image. Introducing Apple's latest patent application #US20250216904A1: Electronic Device With Flexible Display Structures. 📱

This innovation features a #FlexibleDisplay that folds along bend axes, with rollers for seamless deployment. 🌀

A touch screen can be extended from the
PatentPulse's tweet image. Introducing Apple's latest patent application #US20250216904A1: Electronic Device With Flexible Display Structures. 📱

This innovation features a #FlexibleDisplay that folds along bend axes, with rollers for seamless deployment. 🌀

A touch screen can be extended from the

Discover the latest patent application from #Samsung: #US20250201159A1. 📱 An electronic device with a #FlexibleDisplay that adjusts its visible area size by moving part of the housing. Features include memory, processors, and programs that manage app displays as the screen

PatentPulse's tweet image. Discover the latest patent application from #Samsung: #US20250201159A1. 📱

An electronic device with a #FlexibleDisplay that adjusts its visible area size by moving part of the housing. 

Features include memory, processors, and programs that manage app displays as the screen
PatentPulse's tweet image. Discover the latest patent application from #Samsung: #US20250201159A1. 📱

An electronic device with a #FlexibleDisplay that adjusts its visible area size by moving part of the housing. 

Features include memory, processors, and programs that manage app displays as the screen
PatentPulse's tweet image. Discover the latest patent application from #Samsung: #US20250201159A1. 📱

An electronic device with a #FlexibleDisplay that adjusts its visible area size by moving part of the housing. 

Features include memory, processors, and programs that manage app displays as the screen

Discover the future of tech with Samsung's latest patent application #US20250138581A1! This #FoldableDevice features a housing and a #FlexibleDisplay with sensors to detect folding states and measure angles. A processor activates sensors for seamless operation. Exciting times for

PatentPulse's tweet image. Discover the future of tech with Samsung's latest patent application #US20250138581A1! This #FoldableDevice features a housing and a #FlexibleDisplay with sensors to detect folding states and measure angles. A processor activates sensors for seamless operation. Exciting times for
PatentPulse's tweet image. Discover the future of tech with Samsung's latest patent application #US20250138581A1! This #FoldableDevice features a housing and a #FlexibleDisplay with sensors to detect folding states and measure angles. A processor activates sensors for seamless operation. Exciting times for
PatentPulse's tweet image. Discover the future of tech with Samsung's latest patent application #US20250138581A1! This #FoldableDevice features a housing and a #FlexibleDisplay with sensors to detect folding states and measure angles. A processor activates sensors for seamless operation. Exciting times for

China just made car dashboards bloom. BOE's foldable screen unfolds like a flower → lies flat perfectly. No more boring panels. Watch this magic unfold. via @TansuYegen #FlexibleDisplay #EVInnovation RT if your car needs this!


Discover the latest patent application #US20250159823A1 by #SamsungElectronics: a cutting-edge electronic device featuring a #FlexibleDisplay. This innovation includes a dual-housing design with a hinge for seamless rotation, heat-dissipation sheets, and impact-absorbing

PatentPulse's tweet image. Discover the latest patent application #US20250159823A1 by #SamsungElectronics: a cutting-edge electronic device featuring a #FlexibleDisplay. 

This innovation includes a dual-housing design with a hinge for seamless rotation, heat-dissipation sheets, and impact-absorbing
PatentPulse's tweet image. Discover the latest patent application #US20250159823A1 by #SamsungElectronics: a cutting-edge electronic device featuring a #FlexibleDisplay. 

This innovation includes a dual-housing design with a hinge for seamless rotation, heat-dissipation sheets, and impact-absorbing
PatentPulse's tweet image. Discover the latest patent application #US20250159823A1 by #SamsungElectronics: a cutting-edge electronic device featuring a #FlexibleDisplay. 

This innovation includes a dual-housing design with a hinge for seamless rotation, heat-dissipation sheets, and impact-absorbing

Motorola has teased a flexible display phone at Lenovo Tech World 2023. #Motorola #FlexibleDisplay #TechWorld2023


🧾 Our flexible OTFT platform brings new applications and form factors to ePaper devices - find out more here: buff.ly/3A4Vj2C #technology #OTFT #flexibledisplay

FlexEnable's tweet image. 🧾 Our flexible OTFT platform brings new applications and form factors to ePaper devices - find out more here: buff.ly/3A4Vj2C #technology #OTFT #flexibledisplay

Roller LED screen unrolls like magic—vibrant particles explode, cityscapes come alive. Chinese factory just turned walls into living art. Vía @XueJia24682 #LEDRoller #FlexibleDisplay #CreativeTech


Discover how innovative OTFT flexible technology introduces novel designs and uses for ePaper devices. Learn more here: buff.ly/KXxgCjh #innovation #flexibledisplay

FlexEnable's tweet image. Discover how innovative OTFT flexible technology introduces novel designs and uses for ePaper devices. Learn more here: buff.ly/KXxgCjh #innovation #flexibledisplay

🔥Watch this mesmerizing time-lapse of our team's precision work—LED modules snapping into place, flexible panels curving seamlessly into a perfect cylinder, and the final wiring checks ensuring flawless performance. #LEDScreen #FlexibleDisplay #CylindricalLED #NewcominLED


📊 Global Flexible Display Market 📅 2024: $45.86B → 2025: $55.89B → 2032: $252.07B 📈 CAGR: 24.0% (2025–2032) 🌎 Top Region: Asia Pacific (32.42% in 2024) Source: fortunebusinessinsights.com/flexible-displ… #FlexibleDisplay #OLED #AMOLED #SmartDevices #TechInnovation

industryinsigh's tweet image. 📊 Global Flexible Display Market

📅 2024: $45.86B → 2025: $55.89B → 2032: $252.07B
📈 CAGR: 24.0% (2025–2032)
🌎 Top Region: Asia Pacific (32.42% in 2024)

Source: fortunebusinessinsights.com/flexible-displ…

#FlexibleDisplay #OLED #AMOLED #SmartDevices #TechInnovation

Introducing Apple's latest patent application #US20250216904A1: Electronic Device With Flexible Display Structures. 📱 This innovation features a #FlexibleDisplay that folds along bend axes, with rollers for seamless deployment. 🌀 A touch screen can be extended from the

PatentPulse's tweet image. Introducing Apple's latest patent application #US20250216904A1: Electronic Device With Flexible Display Structures. 📱

This innovation features a #FlexibleDisplay that folds along bend axes, with rollers for seamless deployment. 🌀

A touch screen can be extended from the
PatentPulse's tweet image. Introducing Apple's latest patent application #US20250216904A1: Electronic Device With Flexible Display Structures. 📱

This innovation features a #FlexibleDisplay that folds along bend axes, with rollers for seamless deployment. 🌀

A touch screen can be extended from the
PatentPulse's tweet image. Introducing Apple's latest patent application #US20250216904A1: Electronic Device With Flexible Display Structures. 📱

This innovation features a #FlexibleDisplay that folds along bend axes, with rollers for seamless deployment. 🌀

A touch screen can be extended from the

🔴🟢🔵 Level up your visuals with the Miootly Flexible Pixel RGB LED Matrix Display Panel – 16×96 LEDs! ✨Perfect for custom signage, wearables, art installations, and more! 🚀 🔗Learn More: miootly.com/products/mioot… #MiootlyLED #RGBMatrix #FlexibleDisplay #LEDArt #DIYTech


Apple has reportedly suspended development of its foldable iPad due to high production costs, technical challenges, and limited market demand. #Apple #FoldableiPad #FlexibleDisplay #iPad #semiconductors #display Get more details: 👉smbom.com/news/40379👈

szsmyg's tweet image. Apple has reportedly suspended development of its foldable iPad due to high production costs, technical challenges, and limited market demand.
#Apple #FoldableiPad #FlexibleDisplay #iPad #semiconductors #display
Get more details: 👉smbom.com/news/40379👈

Discover the latest patent application from #Samsung: #US20250201159A1. 📱 An electronic device with a #FlexibleDisplay that adjusts its visible area size by moving part of the housing. Features include memory, processors, and programs that manage app displays as the screen

PatentPulse's tweet image. Discover the latest patent application from #Samsung: #US20250201159A1. 📱

An electronic device with a #FlexibleDisplay that adjusts its visible area size by moving part of the housing. 

Features include memory, processors, and programs that manage app displays as the screen
PatentPulse's tweet image. Discover the latest patent application from #Samsung: #US20250201159A1. 📱

An electronic device with a #FlexibleDisplay that adjusts its visible area size by moving part of the housing. 

Features include memory, processors, and programs that manage app displays as the screen
PatentPulse's tweet image. Discover the latest patent application from #Samsung: #US20250201159A1. 📱

An electronic device with a #FlexibleDisplay that adjusts its visible area size by moving part of the housing. 

Features include memory, processors, and programs that manage app displays as the screen

Discover high-quality portable flexible display solutions with Vibgyor LED Solutions. Ideal for events, exhibitions, and retail displays—easy to set up, transport, and customize for maximum visual impact. Visit Now: electricalvibgyor.com/product/lead-f… #VibgyorLEDSolutions #FlexibleDisplay

Richard03653402's tweet image. Discover high-quality portable flexible display solutions with Vibgyor LED Solutions. Ideal for events, exhibitions, and retail displays—easy to set up, transport, and customize for maximum visual impact.
Visit Now: electricalvibgyor.com/product/lead-f…

#VibgyorLEDSolutions #FlexibleDisplay

Discover the latest patent application #US20250159823A1 by #SamsungElectronics: a cutting-edge electronic device featuring a #FlexibleDisplay. This innovation includes a dual-housing design with a hinge for seamless rotation, heat-dissipation sheets, and impact-absorbing

PatentPulse's tweet image. Discover the latest patent application #US20250159823A1 by #SamsungElectronics: a cutting-edge electronic device featuring a #FlexibleDisplay. 

This innovation includes a dual-housing design with a hinge for seamless rotation, heat-dissipation sheets, and impact-absorbing
PatentPulse's tweet image. Discover the latest patent application #US20250159823A1 by #SamsungElectronics: a cutting-edge electronic device featuring a #FlexibleDisplay. 

This innovation includes a dual-housing design with a hinge for seamless rotation, heat-dissipation sheets, and impact-absorbing
PatentPulse's tweet image. Discover the latest patent application #US20250159823A1 by #SamsungElectronics: a cutting-edge electronic device featuring a #FlexibleDisplay. 

This innovation includes a dual-housing design with a hinge for seamless rotation, heat-dissipation sheets, and impact-absorbing

Discover the future of tech with Samsung's latest patent application #US20250138581A1! This #FoldableDevice features a housing and a #FlexibleDisplay with sensors to detect folding states and measure angles. A processor activates sensors for seamless operation. Exciting times for

PatentPulse's tweet image. Discover the future of tech with Samsung's latest patent application #US20250138581A1! This #FoldableDevice features a housing and a #FlexibleDisplay with sensors to detect folding states and measure angles. A processor activates sensors for seamless operation. Exciting times for
PatentPulse's tweet image. Discover the future of tech with Samsung's latest patent application #US20250138581A1! This #FoldableDevice features a housing and a #FlexibleDisplay with sensors to detect folding states and measure angles. A processor activates sensors for seamless operation. Exciting times for
PatentPulse's tweet image. Discover the future of tech with Samsung's latest patent application #US20250138581A1! This #FoldableDevice features a housing and a #FlexibleDisplay with sensors to detect folding states and measure angles. A processor activates sensors for seamless operation. Exciting times for

Samsung's latest patent application #US20250142746A1 reveals an #ElectronicDevice with a #FlexibleDisplay. It features dual housings connected by a hinge, allowing it to fold along an axis. The display includes a window layer, display panel, support plate with patterns, and

PatentPulse's tweet image. Samsung's latest patent application #US20250142746A1 reveals an #ElectronicDevice with a #FlexibleDisplay. It features dual housings connected by a hinge, allowing it to fold along an axis. The display includes a window layer, display panel, support plate with patterns, and
PatentPulse's tweet image. Samsung's latest patent application #US20250142746A1 reveals an #ElectronicDevice with a #FlexibleDisplay. It features dual housings connected by a hinge, allowing it to fold along an axis. The display includes a window layer, display panel, support plate with patterns, and
PatentPulse's tweet image. Samsung's latest patent application #US20250142746A1 reveals an #ElectronicDevice with a #FlexibleDisplay. It features dual housings connected by a hinge, allowing it to fold along an axis. The display includes a window layer, display panel, support plate with patterns, and
PatentPulse's tweet image. Samsung's latest patent application #US20250142746A1 reveals an #ElectronicDevice with a #FlexibleDisplay. It features dual housings connected by a hinge, allowing it to fold along an axis. The display includes a window layer, display panel, support plate with patterns, and

Samsung's new patent application #US20250123654A1 reveals a foldable electronic device with a flexible display. It features a hinge unit with bendable support and slit members that control display curvature. #FoldableTech #FlexibleDisplay #Samsung $SSNLF #PatentApplication

PatentPulse's tweet image. Samsung's new patent application #US20250123654A1 reveals a foldable electronic device with a flexible display. It features a hinge unit with bendable support and slit members that control display curvature. #FoldableTech #FlexibleDisplay #Samsung $SSNLF #PatentApplication
PatentPulse's tweet image. Samsung's new patent application #US20250123654A1 reveals a foldable electronic device with a flexible display. It features a hinge unit with bendable support and slit members that control display curvature. #FoldableTech #FlexibleDisplay #Samsung $SSNLF #PatentApplication
PatentPulse's tweet image. Samsung's new patent application #US20250123654A1 reveals a foldable electronic device with a flexible display. It features a hinge unit with bendable support and slit members that control display curvature. #FoldableTech #FlexibleDisplay #Samsung $SSNLF #PatentApplication

No results for "#flexibledisplay"

Flexible displays that can change color, convey information and even send veiled messages via infrared radiation are now possible, thanks to new research from the @UofIllinois. Written by: Lois Yoksoulian #FlexibleDisplay #LED #display #screen #tech #engineering #innovation

WevolverApp's tweet image. Flexible displays that can change color, convey information and even send veiled messages via infrared radiation are now possible, thanks to new research from the @UofIllinois. 

Written by: Lois Yoksoulian

#FlexibleDisplay #LED #display #screen #tech #engineering #innovation

Samsung's new patent application #US20250123654A1 reveals a foldable electronic device with a flexible display. It features a hinge unit with bendable support and slit members that control display curvature. #FoldableTech #FlexibleDisplay #Samsung $SSNLF #PatentApplication

PatentPulse's tweet image. Samsung's new patent application #US20250123654A1 reveals a foldable electronic device with a flexible display. It features a hinge unit with bendable support and slit members that control display curvature. #FoldableTech #FlexibleDisplay #Samsung $SSNLF #PatentApplication
PatentPulse's tweet image. Samsung's new patent application #US20250123654A1 reveals a foldable electronic device with a flexible display. It features a hinge unit with bendable support and slit members that control display curvature. #FoldableTech #FlexibleDisplay #Samsung $SSNLF #PatentApplication
PatentPulse's tweet image. Samsung's new patent application #US20250123654A1 reveals a foldable electronic device with a flexible display. It features a hinge unit with bendable support and slit members that control display curvature. #FoldableTech #FlexibleDisplay #Samsung $SSNLF #PatentApplication

Samsung's latest patent application #US20250142746A1 reveals an #ElectronicDevice with a #FlexibleDisplay. It features dual housings connected by a hinge, allowing it to fold along an axis. The display includes a window layer, display panel, support plate with patterns, and

PatentPulse's tweet image. Samsung's latest patent application #US20250142746A1 reveals an #ElectronicDevice with a #FlexibleDisplay. It features dual housings connected by a hinge, allowing it to fold along an axis. The display includes a window layer, display panel, support plate with patterns, and
PatentPulse's tweet image. Samsung's latest patent application #US20250142746A1 reveals an #ElectronicDevice with a #FlexibleDisplay. It features dual housings connected by a hinge, allowing it to fold along an axis. The display includes a window layer, display panel, support plate with patterns, and
PatentPulse's tweet image. Samsung's latest patent application #US20250142746A1 reveals an #ElectronicDevice with a #FlexibleDisplay. It features dual housings connected by a hinge, allowing it to fold along an axis. The display includes a window layer, display panel, support plate with patterns, and
PatentPulse's tweet image. Samsung's latest patent application #US20250142746A1 reveals an #ElectronicDevice with a #FlexibleDisplay. It features dual housings connected by a hinge, allowing it to fold along an axis. The display includes a window layer, display panel, support plate with patterns, and

Discover the future of tech with Samsung's latest patent application #US20250138581A1! This #FoldableDevice features a housing and a #FlexibleDisplay with sensors to detect folding states and measure angles. A processor activates sensors for seamless operation. Exciting times for

PatentPulse's tweet image. Discover the future of tech with Samsung's latest patent application #US20250138581A1! This #FoldableDevice features a housing and a #FlexibleDisplay with sensors to detect folding states and measure angles. A processor activates sensors for seamless operation. Exciting times for
PatentPulse's tweet image. Discover the future of tech with Samsung's latest patent application #US20250138581A1! This #FoldableDevice features a housing and a #FlexibleDisplay with sensors to detect folding states and measure angles. A processor activates sensors for seamless operation. Exciting times for
PatentPulse's tweet image. Discover the future of tech with Samsung's latest patent application #US20250138581A1! This #FoldableDevice features a housing and a #FlexibleDisplay with sensors to detect folding states and measure angles. A processor activates sensors for seamless operation. Exciting times for

Discover the latest patent application from #Samsung: #US20250201159A1. 📱 An electronic device with a #FlexibleDisplay that adjusts its visible area size by moving part of the housing. Features include memory, processors, and programs that manage app displays as the screen

PatentPulse's tweet image. Discover the latest patent application from #Samsung: #US20250201159A1. 📱

An electronic device with a #FlexibleDisplay that adjusts its visible area size by moving part of the housing. 

Features include memory, processors, and programs that manage app displays as the screen
PatentPulse's tweet image. Discover the latest patent application from #Samsung: #US20250201159A1. 📱

An electronic device with a #FlexibleDisplay that adjusts its visible area size by moving part of the housing. 

Features include memory, processors, and programs that manage app displays as the screen
PatentPulse's tweet image. Discover the latest patent application from #Samsung: #US20250201159A1. 📱

An electronic device with a #FlexibleDisplay that adjusts its visible area size by moving part of the housing. 

Features include memory, processors, and programs that manage app displays as the screen

Introducing Apple's latest patent application #US20250216904A1: Electronic Device With Flexible Display Structures. 📱 This innovation features a #FlexibleDisplay that folds along bend axes, with rollers for seamless deployment. 🌀 A touch screen can be extended from the

PatentPulse's tweet image. Introducing Apple's latest patent application #US20250216904A1: Electronic Device With Flexible Display Structures. 📱

This innovation features a #FlexibleDisplay that folds along bend axes, with rollers for seamless deployment. 🌀

A touch screen can be extended from the
PatentPulse's tweet image. Introducing Apple's latest patent application #US20250216904A1: Electronic Device With Flexible Display Structures. 📱

This innovation features a #FlexibleDisplay that folds along bend axes, with rollers for seamless deployment. 🌀

A touch screen can be extended from the
PatentPulse's tweet image. Introducing Apple's latest patent application #US20250216904A1: Electronic Device With Flexible Display Structures. 📱

This innovation features a #FlexibleDisplay that folds along bend axes, with rollers for seamless deployment. 🌀

A touch screen can be extended from the

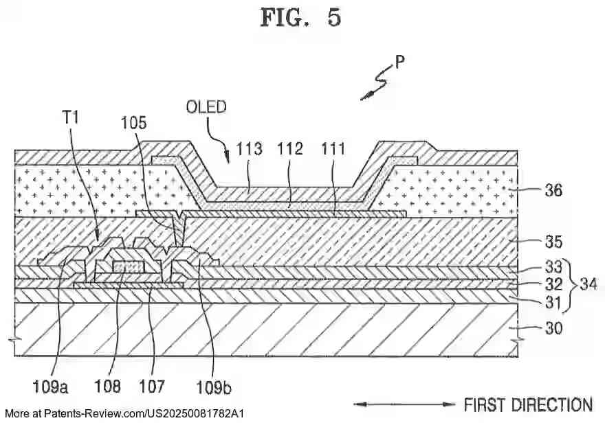
#Samsung's latest patent application #US20250081782A1 reveals a #FlexibleDisplay with innovative mesh structure. It features intersecting patterns creating cavity regions for enhanced flexibility. Exciting tech from #SamsungDisplay! #Innovation $SSNLF #TechPatent

PatentPulse's tweet image. #Samsung's latest patent application #US20250081782A1 reveals a #FlexibleDisplay with innovative mesh structure. It features intersecting patterns creating cavity regions for enhanced flexibility. Exciting tech from #SamsungDisplay! #Innovation $SSNLF #TechPatent
PatentPulse's tweet image. #Samsung's latest patent application #US20250081782A1 reveals a #FlexibleDisplay with innovative mesh structure. It features intersecting patterns creating cavity regions for enhanced flexibility. Exciting tech from #SamsungDisplay! #Innovation $SSNLF #TechPatent
PatentPulse's tweet image. #Samsung's latest patent application #US20250081782A1 reveals a #FlexibleDisplay with innovative mesh structure. It features intersecting patterns creating cavity regions for enhanced flexibility. Exciting tech from #SamsungDisplay! #Innovation $SSNLF #TechPatent

Discover the latest patent application #US20250159823A1 by #SamsungElectronics: a cutting-edge electronic device featuring a #FlexibleDisplay. This innovation includes a dual-housing design with a hinge for seamless rotation, heat-dissipation sheets, and impact-absorbing

PatentPulse's tweet image. Discover the latest patent application #US20250159823A1 by #SamsungElectronics: a cutting-edge electronic device featuring a #FlexibleDisplay. 

This innovation includes a dual-housing design with a hinge for seamless rotation, heat-dissipation sheets, and impact-absorbing
PatentPulse's tweet image. Discover the latest patent application #US20250159823A1 by #SamsungElectronics: a cutting-edge electronic device featuring a #FlexibleDisplay. 

This innovation includes a dual-housing design with a hinge for seamless rotation, heat-dissipation sheets, and impact-absorbing
PatentPulse's tweet image. Discover the latest patent application #US20250159823A1 by #SamsungElectronics: a cutting-edge electronic device featuring a #FlexibleDisplay. 

This innovation includes a dual-housing design with a hinge for seamless rotation, heat-dissipation sheets, and impact-absorbing

🖥️ What enables foldable phones & super-thin display? Here are top 10 #FlexibleDisplay #startups to watch & their solutions offering flexible glass substrates, microelectron films, telepresence device & more 👉 bit.ly/46oVJfC @StageConnected @VisibleKoh @freetouchfree

StartUsInsights's tweet image. 🖥️ What enables foldable phones & super-thin display? Here are top 10 #FlexibleDisplay #startups to watch & their solutions offering flexible glass substrates, microelectron films, telepresence device & more 👉 bit.ly/46oVJfC

@StageConnected @VisibleKoh @freetouchfree

Apple has reportedly suspended development of its foldable iPad due to high production costs, technical challenges, and limited market demand. #Apple #FoldableiPad #FlexibleDisplay #iPad #semiconductors #display Get more details: 👉smbom.com/news/40379👈

szsmyg's tweet image. Apple has reportedly suspended development of its foldable iPad due to high production costs, technical challenges, and limited market demand.
#Apple #FoldableiPad #FlexibleDisplay #iPad #semiconductors #display
Get more details: 👉smbom.com/news/40379👈

🧾 Our flexible OTFT platform brings new applications and form factors to ePaper devices - find out more here: buff.ly/3A4Vj2C #technology #OTFT #flexibledisplay

FlexEnable's tweet image. 🧾 Our flexible OTFT platform brings new applications and form factors to ePaper devices - find out more here: buff.ly/3A4Vj2C #technology #OTFT #flexibledisplay

Major players in the flexible electronics market are Blue Spark Technologies, Cymbet Corporation, E ink Holdings Inc., Imprint Energy Inc.... @ @ bit.ly/3z1MPpo #FlexibleDisplay #FlexibleBattery #FlexibleSensors #FlexibleMemory #FlexiblePhotovoltaics

ramacharitbrc's tweet image. Major players in the flexible electronics market are Blue Spark Technologies, Cymbet Corporation, E ink Holdings Inc., Imprint Energy Inc.... @ @ bit.ly/3z1MPpo

#FlexibleDisplay #FlexibleBattery #FlexibleSensors #FlexibleMemory #FlexiblePhotovoltaics

Hypr LED video strips wow at Guangdong-HK-Macao Startup Contest! ✨ Users praised the DIY innovation. Wireless & app-controlled for ads & displays. 📩 [email protected] #zhouguang #hyprled #flexibledisplay

zhouguangz88262's tweet image. Hypr LED video strips wow at Guangdong-HK-Macao Startup Contest! ✨ Users praised the DIY innovation. Wireless & app-controlled for ads & displays. 📩 promotion@fayyou.com
 #zhouguang #hyprled #flexibledisplay
zhouguangz88262's tweet image. Hypr LED video strips wow at Guangdong-HK-Macao Startup Contest! ✨ Users praised the DIY innovation. Wireless & app-controlled for ads & displays. 📩 promotion@fayyou.com
 #zhouguang #hyprled #flexibledisplay
zhouguangz88262's tweet image. Hypr LED video strips wow at Guangdong-HK-Macao Startup Contest! ✨ Users praised the DIY innovation. Wireless & app-controlled for ads & displays. 📩 promotion@fayyou.com
 #zhouguang #hyprled #flexibledisplay
zhouguangz88262's tweet image. Hypr LED video strips wow at Guangdong-HK-Macao Startup Contest! ✨ Users praised the DIY innovation. Wireless & app-controlled for ads & displays. 📩 promotion@fayyou.com
 #zhouguang #hyprled #flexibledisplay

🖥️ What enables foldable phones & super-thin display? Here are top 10 #FlexibleDisplay #startups to watch & their solutions offering flexible glass substrates, microelectron films, telepresence device & more 👉 bit.ly/46oVJfC @StageConnected @VisibleKoh @freetouchfree

DavidRPrasser's tweet image. 🖥️ What enables foldable phones & super-thin display? Here are top 10 #FlexibleDisplay #startups to watch & their solutions offering flexible glass substrates, microelectron films, telepresence device & more 👉 bit.ly/46oVJfC

@StageConnected @VisibleKoh @freetouchfree

Loading...

Something went wrong.


Something went wrong.