#foldabledisplay resultados da pesquisa

JetPack WindowManager ile Yeni Form Faktör Desteğini kullanın, yeni katlanabilir cihazlarda kullanıcılara cihaz üzerinden tam kontrol sunun. 👇 mobiler.dev/post/jetpack-w… #WindowManager #FoldableDisplay #JetpackWindowManager #Jetpack


Foldable displays will rejuvenate the display industry but also bring disruption. Download our #FoldableDisplay Technology Overview to learn more about the challenges, opportunities and key players of this technology. ihsmark.it/QAqw30o2E78

OmdiaHQ's tweet image. Foldable displays will rejuvenate the display industry but also bring disruption.  Download our #FoldableDisplay Technology Overview to learn more about the challenges, opportunities and key players of this technology. ihsmark.it/QAqw30o2E78

Foldable #AMOLED panel shipments to top 17 million units by 2021. Learn more about the growth of the #FoldableDisplay market. ihsmark.it/nzaO30o2EHl

OmdiaHQ's tweet image. Foldable #AMOLED panel shipments to top 17 million units by 2021. Learn more about the growth of the #FoldableDisplay market.  ihsmark.it/nzaO30o2EHl

Foldable #AMOLED panels are expected to account for 2.4 percent of total AMOLED panel shipments (735 million) by 2021. Learn more about the growth of the #FoldableDisplay market. ihsmark.it/6ZeR30o2FKQ

OmdiaHQ's tweet image. Foldable #AMOLED panels are expected to account for 2.4 percent of total AMOLED panel shipments (735 million) by 2021.  Learn more about the growth of the #FoldableDisplay market.  ihsmark.it/6ZeR30o2FKQ

#Samsung joins the bendy phone party! Seems like a knee-jerk to @RoyoleOfficial - clearly not ready yet, hence the darkness, but the @SamsungMobile clout will be massive! #foldableDisplay - they need developers to create content asap!


ไม่ต้องลังเล จะเลือกจอพับ หรือจอม้วนดี เมื่อ TCL มาพร้อมจอพับและม้วนได้ในเครื่องเดียวกัน น่าจะยังอยู่ในขั้นพัฒนา รอดูเลย ^_^ #gadget4thai #tcl #foldabledisplay l.facebook.com/l.php?u=https%…


#TechTuesday From Samsung’s foldable #mobiledevices to handbags with #foldabledisplay screens, foldable tech has been under the spotlight for some years📱Today’s noteworthy #foldabletech, Sharp & NHK’s co-developed new rollable, 30-inch #OLED #display: bit.ly/35gUOxE 📺

HeyPufferfish's tweet image. #TechTuesday From Samsung’s foldable #mobiledevices to handbags with #foldabledisplay screens, foldable tech has been under the spotlight for some years📱Today’s noteworthy #foldabletech, Sharp & NHK’s co-developed new rollable, 30-inch #OLED #display: bit.ly/35gUOxE 📺

Motorola RAZR รุ่นจอพับ ไม่ได้มาพร้อมสเปคแบบจัดเต็ม เพราะใช้ชิปตัวกลาง Snapdragon 710 news.siamphone.com/news-40859.html #Motorola #MotoRAZR #FoldableDisplay #Siamphone #SiamphoneNews

siamphonedotcom's tweet image. Motorola RAZR รุ่นจอพับ ไม่ได้มาพร้อมสเปคแบบจัดเต็ม เพราะใช้ชิปตัวกลาง Snapdragon 710 news.siamphone.com/news-40859.html

#Motorola #MotoRAZR #FoldableDisplay #Siamphone #SiamphoneNews

คลิปข่าวลือ Tablet หน้าจอพับได้จาก Xiaomi ดีใจที่ลงมาเล่นตลาดนี้ด้วย ราคาจะได้เอื้อมถึง ^_^ #gadget4thai #foldabledisplay #xiaomitablet ---------------------------------------------------------- facebook.com/gadget4thai/vi…

Can't speak to the authenticity of this video or device, but it's allegedly made by Xiaomi, I'm told. Hot new phone, or gadget porn deepfake?



A bit more advanced than your old flip-phone, #foldable phone displays are here and #app developers need to keep a few things in mind for the new phones. #foldabledisplay #appdev hubs.li/H0Kzx-z0


Lenovo unveils a Windows-powered ThinkPad X1 tablet with a foldable OLED display #ThinkPadX1 #FoldableDisplay: neowin.net/news/lenovo-un… via @NeowinFeed


మొత్తానికి మడత ఫోన్ రాబోతుంది..అది కూడా 5G టెక్నాలజీతో..! 👉teluguin.com/news/worlds-fi… #Samsung #FoldableDisplay #5Gtechnology #2019TechRevolution

teluguinnews's tweet image. మొత్తానికి మడత ఫోన్ రాబోతుంది..అది కూడా 5G టెక్నాలజీతో..!

👉teluguin.com/news/worlds-fi…

#Samsung #FoldableDisplay #5Gtechnology #2019TechRevolution

Meet Splay: The game-changing foldable, portable 24-inch display that’s redefining tech mobility! ➡️ Dive in & stay updated: Subscribe smpl.is/9ji2m @arovia_splay #Splay #FoldableDisplay #TechInnovation #Innovation #fashion #360fashionnetwork #CES2025


buff.ly/rp8nHZs The iPhone Fold's crease-free display ambition finally has real hardware behind it — and it could make every rival foldable look outdated overnight. #applefoldable #foldabledisplay #foldablephones #iphonefold #samsungdisplay


चीन ने फोल्डेबल LED डिस्प्ले तैयार कर तकनीक की दुनिया में नया कदम रखा है। इस स्क्रीन को मोड़कर कहीं भी ले जाया जा सकता है और जरूरत पड़ने पर टांगकर इस्तेमाल किया जा सकता है। पोर्टेबल तकनीक का यह आविष्कार तेजी से चर्चा में है। #ChinaTech #TechInnovation #FoldableDisplay #sanewsmp


Watch these car displays unfold like magic petals! 😲 BOE's flexible tech turns your dashboard into a blooming screen. Cool innovation or just flashy gimmick? Comment yes/no and why! 🚘✨ #FoldableDisplay #ChinaTech #ElectricVehicles


Your Dashboard Just Learned to Disappear 🎁Message me to make it yours #BOE #FoldableDisplay #FlexibleTech #FutureOfDashboards


🔥Introducing Newcomin's Foldable LED Poster Screen – the ultimate blend of technology and artistry! Its standout feature? Foldability! 🌈With a clever design, this screen folds and unfolds effortlessly #LEDPosterScreen #FoldableDisplay #NewcominTech #BusinessPromotion


🔥Foldability! With a clever design, this screen folds and unfolds effortlessly, saving massive storage space and making transportation a breeze. 😎Ideal for commercial advertising, trade shows, and brand events #LEDPosterScreen #FoldableDisplay #NewcominTech #BusinessPromotion


🔥Foldability! With a clever design, this screen folds and unfolds effortlessly, saving massive storage space and making ✨transportation a breeze. Ideal for commercial advertising, trade shows, and brand event #LEDPosterScreen #FoldableDisplay #NewcominTech #BusinessPromotion


🔥Introducing Newcomin's Foldable LED Poster Screen – the ultimate blend of technology and artistry! Its standout feature? ✨Foldability! With a clever design, this screen folds and unfolds effortlessly #LEDPosterScreen #FoldableDisplay #NewcominTech #BusinessPromotion


🔥Are you looking for a game-changing display solution that's innovative, practical, and perfect for your business promotions or exhibitions? 😮Introducing Newcomin's Foldabl #LEDPosterScreen #FoldableDisplay #NewcominTech#EventTechnology #LEDDisplayManufacture #BusinessPromotion


Big screen, clear view, effortless touch! Meet our 15.6” Foldable POS Display – clarity & ease in one. #FoldableDisplay #ClearViewTech #EffortlessTouch #POSInnovation #BigScreenExperience #EthicsPOS

EthicsPos's tweet image. Big screen, clear view, effortless touch!  Meet our 15.6” Foldable POS Display – clarity & ease in one.

#FoldableDisplay #ClearViewTech #EffortlessTouch #POSInnovation #BigScreenExperience #EthicsPOS

CES 2026 highlights: Samsung unveils crease-free foldable display with under-display camera; smart glasses and legged robot vacuums dominate trends.
#CES2026 #TechTrends #FoldableDisplay #AIgadgets


The device is expected to feature a large internal foldable display along with a secondary outer screen designed for multitasking and everyday use. #FoldableDisplay #MobileTech #Innovation #MotorolaRazr


Samsung afișează la CES un ecran pliabil fără urmă de pliu și cu cameră sub display — un pas major spre telefoane pliabile mai elegante și mai durabile. Citește mai multe pe alephtech.ro #samsung #creasefree #foldabledisplay #ces2026 #oled

AlephTechNews's tweet image. Samsung afișează la CES un ecran pliabil fără urmă de pliu și cu cameră sub display — un pas major spre telefoane pliabile mai elegante și mai durabile.

Citește mai multe pe alephtech.ro

#samsung #creasefree #foldabledisplay #ces2026 #oled
AlephTechNews's tweet image. Samsung afișează la CES un ecran pliabil fără urmă de pliu și cu cameră sub display — un pas major spre telefoane pliabile mai elegante și mai durabile.

Citește mai multe pe alephtech.ro

#samsung #creasefree #foldabledisplay #ces2026 #oled

Nenhum resultado para "#foldabledisplay"

After foldable smartphone, Samsung might be looking to bring its foldable displays to tablets. A new patent filed by Samsung Display, patent shows rollable display that could make tablets smaller #Samsung #FoldableDisplay #Patent #FoldableSmartPhone

TechTipster_'s tweet image. After foldable smartphone,  Samsung might be looking to bring its foldable displays to tablets. A new patent filed by Samsung Display, patent shows rollable display that could make tablets smaller
#Samsung #FoldableDisplay #Patent #FoldableSmartPhone

Google Photos gets Android Foldables support and Backup status indicators in Gallery view goandroid.co.in/google-photos-… #BackupPhotos #FoldableDisplay #GooglePhotos #GooglePhotosNewFeatures Backup Photos, Foldable Display, Google Photos, Google photos new features


Thanks to flexible display screens, the #mobile phone as we know it will start taking on a very different form in 2019. Here's how the technology will influence your small business advertising: bit.ly/2BksJZO @Medium #Foldables #FoldableDisplay #FlexibleDisplay

Clickatell's tweet image. Thanks to flexible display screens, the #mobile phone as we know it will start taking on a very different form in 2019. Here's how the technology will influence your small business advertising: bit.ly/2BksJZO

@Medium #Foldables #FoldableDisplay #FlexibleDisplay

Apple has reportedly acquired a patent for a display material that has self-healing properties. It could be used in the future foldable smartphone from the iPhone-maker. foxfostertechnology.com #Apple #AppleiPhone #FoldableDisplay #FoldablePhone #News

foxfostertech's tweet image. Apple has reportedly acquired a patent for a display material that has self-healing properties. It could be used in the future foldable smartphone from the iPhone-maker.
foxfostertechnology.com
#Apple #AppleiPhone #FoldableDisplay #FoldablePhone #News

Royole & Samsung have shown off their foldable phones. Is it time to get excited? bit.ly/2RHuRk1 @SamsungAU #Samsung #foldableDisplay @RoyoleOfficial

chris_griffith's tweet image. Royole & Samsung have shown off their foldable phones. Is it time to get excited? bit.ly/2RHuRk1 @SamsungAU #Samsung #foldableDisplay @RoyoleOfficial

మొత్తానికి మడత ఫోన్ రాబోతుంది..అది కూడా 5G టెక్నాలజీతో..! 👉teluguin.com/news/worlds-fi… #Samsung #FoldableDisplay #5Gtechnology #2019TechRevolution

teluguinnews's tweet image. మొత్తానికి మడత ఫోన్ రాబోతుంది..అది కూడా 5G టెక్నాలజీతో..!

👉teluguin.com/news/worlds-fi…

#Samsung #FoldableDisplay #5Gtechnology #2019TechRevolution

Motorola RAZR รุ่นจอพับ ไม่ได้มาพร้อมสเปคแบบจัดเต็ม เพราะใช้ชิปตัวกลาง Snapdragon 710 news.siamphone.com/news-40859.html #Motorola #MotoRAZR #FoldableDisplay #Siamphone #SiamphoneNews

siamphonedotcom's tweet image. Motorola RAZR รุ่นจอพับ ไม่ได้มาพร้อมสเปคแบบจัดเต็ม เพราะใช้ชิปตัวกลาง Snapdragon 710 news.siamphone.com/news-40859.html

#Motorola #MotoRAZR #FoldableDisplay #Siamphone #SiamphoneNews

Foldable iPhone: When Will Apple Join the Trend? macrumors.com/guide/foldable… #Foldable #iPhone #FoldableDisplay #FoldableSmartphone


Samsung is supposedly dealing with Corning to produce Ultra-Thin Glass (UTG) for folding display smartphones. #Corning #FoldableDisplay #FoldableSmartphone #samsung whooptous.com/samsung-dealin…

UsWhoop's tweet image. Samsung is supposedly dealing with Corning to produce Ultra-Thin Glass (UTG) for folding display smartphones.

#Corning #FoldableDisplay #FoldableSmartphone #samsung whooptous.com/samsung-dealin…

LG shows bendable display flower sculpture, 65-inch and 88-inch 8K TVs venturebeat.com/2019/01/06/lg-… via VentureBeat #foldabledisplay

TheDigitalLine's tweet image. LG shows bendable display flower sculpture, 65-inch and 88-inch 8K TVs venturebeat.com/2019/01/06/lg-… via VentureBeat
#foldabledisplay

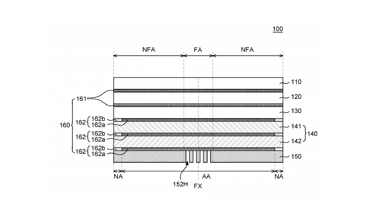
.@LGUSAMobile's recent #patent application relates to a #FoldableDisplay device that includes a display panel with a folding and non-folding area, and adhesive layers. bit.ly/2wkwUp5

ParolaAnalytics's tweet image. .@LGUSAMobile's recent #patent application relates to a #FoldableDisplay device that includes a display panel with a folding and non-folding area, and adhesive layers. 

bit.ly/2wkwUp5

Some renders of xiaomi upcoming foldable smartphone . #xiaomi #foldabledisplay #xiaomifoldable #luweibing

tcassist3's tweet image. Some renders of xiaomi upcoming foldable smartphone .

#xiaomi #foldabledisplay #xiaomifoldable #luweibing
tcassist3's tweet image. Some renders of xiaomi upcoming foldable smartphone .

#xiaomi #foldabledisplay #xiaomifoldable #luweibing
tcassist3's tweet image. Some renders of xiaomi upcoming foldable smartphone .

#xiaomi #foldabledisplay #xiaomifoldable #luweibing
tcassist3's tweet image. Some renders of xiaomi upcoming foldable smartphone .

#xiaomi #foldabledisplay #xiaomifoldable #luweibing

#TechTuesday From Samsung’s foldable #mobiledevices to handbags with #foldabledisplay screens, foldable tech has been under the spotlight for some years📱Today’s noteworthy #foldabletech, Sharp & NHK’s co-developed new rollable, 30-inch #OLED #display: bit.ly/35gUOxE 📺

HeyPufferfish's tweet image. #TechTuesday From Samsung’s foldable #mobiledevices to handbags with #foldabledisplay screens, foldable tech has been under the spotlight for some years📱Today’s noteworthy #foldabletech, Sharp & NHK’s co-developed new rollable, 30-inch #OLED #display: bit.ly/35gUOxE 📺

Creation of a #FoldableDisplay by fabricating an #OLED on an ultrathin substrate with an inverted microlens array pattern. Through the use of optical and mechanical simulations, both high luminous efficiency and mechanical flexibility are achieved 🔗pubs.acs.org/doi/10.1021/ac…

ACSPhotonics's tweet image. Creation of a #FoldableDisplay by fabricating an #OLED on an ultrathin substrate with an inverted microlens array pattern. Through the use of optical and mechanical simulations, both high luminous efficiency and mechanical flexibility are achieved 

🔗pubs.acs.org/doi/10.1021/ac…

New Video is out 🙌 Checkout all new #MotoRazr with vertical #FoldableDisplay 😍👌🏻 Click on the link below 🤘 youtu.be/wFzOy3fVDHA

Technical_Fist's tweet image. New Video is out 🙌
Checkout all new #MotoRazr with vertical #FoldableDisplay 😍👌🏻

Click on the link below 🤘
youtu.be/wFzOy3fVDHA

Hyperreal visuals with Dahua Security's ALL-NEW Foldable LED Display! 2K HDR & cutting-edge tech to take visuals to another level. This product folds for easy transport & installation. Find out more now... tiny.cc/proav #Proav #FoldableDisplay #DigitalSignage

DAHUA_UK's tweet image. Hyperreal visuals with Dahua Security's ALL-NEW Foldable LED Display!  2K HDR & cutting-edge tech to take visuals to another level. This product folds for easy transport & installation. 

Find out more now...
tiny.cc/proav
 #Proav #FoldableDisplay #DigitalSignage

Loading...

Something went wrong.


Something went wrong.