#method search results

the #method working

From iFunny

North America top 5 1 - Sanji 2 - Zoro 3 - Luffy 4 - Nami 5 - Robin

pewpiece's tweet image. North America top 5 

1 - Sanji 

2 - Zoro 

3 - Luffy 

4 - Nami 

5 - Robin


lowk just masterbate everytime u get binge urges to replace the dopamine 👀👀👀👀👀👀👀👀👀 #method


🌾🌽 Deep-Learning-Based #Method for the #Identification of Typical #Crops Using Dual-Polarimetric Synthetic Aperture #Radar and High-Resolution #Optical #Images ✍️ Xiaoshuang Ma et al. 🔗 brnw.ch/21x1vB4

RemoteSens_MDPI's tweet image. 🌾🌽 Deep-Learning-Based #Method for the #Identification of Typical #Crops Using Dual-Polarimetric Synthetic Aperture #Radar and High-Resolution #Optical #Images

✍️ Xiaoshuang Ma et al.
🔗 brnw.ch/21x1vB4

⭐⭐ Multi-Centroid Extraction #Method for High-Dynamic Star #Sensors Based on #Projection Distribution of #Star #Trail ✍️ Xingyu Tang et al. 🔗 brnw.ch/21x1wJt

RemoteSens_MDPI's tweet image. ⭐⭐ Multi-Centroid Extraction #Method for High-Dynamic Star #Sensors Based on #Projection Distribution of #Star #Trail

✍️ Xingyu Tang et al.
🔗 brnw.ch/21x1wJt

👉👉 Intelligent Tracking #Method for Aerial Maneuvering #Target Based on Unscented #Kalman #Filter ✍️ Yunlong Dong et al. 🔗 brnw.ch/21x0Mqu

RemoteSens_MDPI's tweet image. 👉👉 Intelligent Tracking #Method for Aerial Maneuvering #Target Based on Unscented #Kalman #Filter

✍️ Yunlong Dong et al.
🔗 brnw.ch/21x0Mqu

scratch everything off and have it occur anyways #method


Everytime I get horny and think about beating my meat, I just put on From Time to inject some real soothing love into my veins #method


lowkey just interact a lot and text them w a post #method


real pls slide tha #method if u get it 😭✌🏾


👋👋 Two-Stage #GPR #Image Inversion #Method Based on Multi-Scale Dilated Convolution and Hybrid #Attention Gate ✍️ Mingze Wu et al. 🔗 brnw.ch/21x22B5

RemoteSens_MDPI's tweet image. 👋👋 Two-Stage #GPR #Image Inversion #Method Based on Multi-Scale Dilated Convolution and Hybrid #Attention Gate

✍️ Mingze Wu et al.
🔗 brnw.ch/21x22B5

like 5 minutes of SMTVV or nocturne then u just pretend u played all of it and then and u can start acting pretentious and then live tweet ur dds1 and dds2 playthrough and talk about how dds is wayyy better than persona #method


he might need the muncy #method


চ্যাটজিপিটিতে মরদেহ গায়েবের উপায় খোঁজ, গুরুত্বপূর্ণ আলামত জব্দ, যুক্তরাষ্ট্রে দুই বাংলাদেশি শিক্ষার্থী হত্যা #ChatGPT #seeks #method #hide #body #seizes #important #evidence #ZajiraNews #NewsOfZajira বিস্তারিত নিউজ লিংকে : zajira.news/%e0%a6%9a%e0%a…

ZajiraNews's tweet image. চ্যাটজিপিটিতে মরদেহ গায়েবের উপায় খোঁজ, গুরুত্বপূর্ণ আলামত জব্দ, যুক্তরাষ্ট্রে দুই বাংলাদেশি শিক্ষার্থী হত্যা 
#ChatGPT #seeks #method #hide #body #seizes #important #evidence #ZajiraNews #NewsOfZajira 
বিস্তারিত  নিউজ লিংকে : zajira.news/%e0%a6%9a%e0%a…

This this the #method ??

i texted a guy off a hentai website am i that desperate?



The Hidden Mysteries Are Made Known To The Israelites Link to video 👉🏽 youtu.be/Ni2Szmb6Gjw?si… #trending #method #madness #mysteries #revelation #revealed #wisdom #pdx


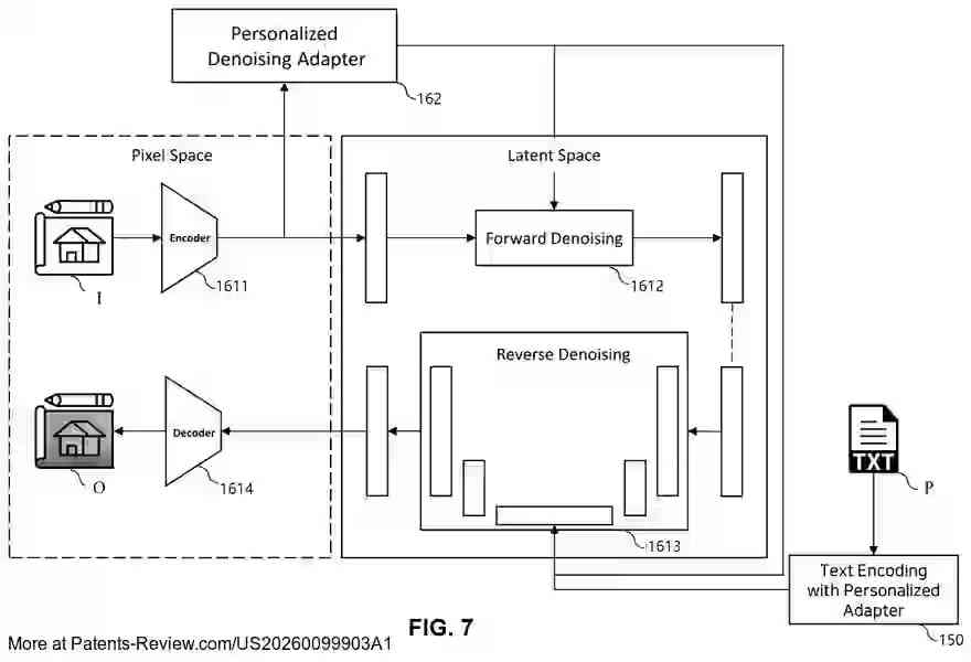
🚀 New patent application alert: #US20260099903A1 by #ETRI! Discover a #Method and #Apparatus for automating personalized #AI image editing. 🔍 Key steps: 1️⃣ Input: Receive image & user edit instructions 2️⃣ Encode: Convert instructions into personalized commands 3️⃣

PatentPulse's tweet image. 🚀 New patent application alert: #US20260099903A1 by #ETRI!  
Discover a #Method and #Apparatus for automating personalized #AI image editing.  
🔍 Key steps:  
1️⃣ Input: Receive image & user edit instructions  
2️⃣ Encode: Convert instructions into personalized commands  
3️⃣
PatentPulse's tweet image. 🚀 New patent application alert: #US20260099903A1 by #ETRI!  
Discover a #Method and #Apparatus for automating personalized #AI image editing.  
🔍 Key steps:  
1️⃣ Input: Receive image & user edit instructions  
2️⃣ Encode: Convert instructions into personalized commands  
3️⃣
PatentPulse's tweet image. 🚀 New patent application alert: #US20260099903A1 by #ETRI!  
Discover a #Method and #Apparatus for automating personalized #AI image editing.  
🔍 Key steps:  
1️⃣ Input: Receive image & user edit instructions  
2️⃣ Encode: Convert instructions into personalized commands  
3️⃣

maybe doing your anki as soon as you wake up is actually the #method i haven't had to think about it for the entire day and this shit is liberating


Reposting my old pics the new huzz wasn’t around 4 #Method


lowkey just interact a lot and text them w a post #method


i forgot how easy it is to lose weight when u only listen to juice wrld. #method


Everytime I get horny and think about beating my meat, I just put on From Time to inject some real soothing love into my veins #method


I give you the #method and u ungrateful af.😒


maybe doing your anki as soon as you wake up is actually the #method i haven't had to think about it for the entire day and this shit is liberating


Meek Mill says his Drake beef led to $80M in rap earnings. Details: complex.com/music/a/cmplxt…

ComplexMusic's tweet image. Meek Mill says his Drake beef led to $80M in rap earnings. Details: complex.com/music/a/cmplxt…


real pls slide tha #method if u get it 😭✌🏾


like 5 minutes of SMTVV or nocturne then u just pretend u played all of it and then and u can start acting pretentious and then live tweet ur dds1 and dds2 playthrough and talk about how dds is wayyy better than persona #method


👋👋 Two-Stage #GPR #Image Inversion #Method Based on Multi-Scale Dilated Convolution and Hybrid #Attention Gate ✍️ Mingze Wu et al. 🔗 brnw.ch/21x22B5

RemoteSens_MDPI's tweet image. 👋👋 Two-Stage #GPR #Image Inversion #Method Based on Multi-Scale Dilated Convolution and Hybrid #Attention Gate

✍️ Mingze Wu et al.
🔗 brnw.ch/21x22B5

scratch everything off and have it occur anyways #method


・ついにー!!! ㊗️1000万再生おめでとうございます‼️ #Kroi #Method

TS_Drumss's tweet image. ・ついにー!!!
㊗️1000万再生おめでとうございます‼️
#Kroi #Method

they put me on the #method


Reposting my old pics the new huzz wasn’t around 4 #Method


live plays are lowkey the #method


if i play Pantera really loud, nobody comes in my office #method


he might need the muncy #method


Mustard gassing myself trying to Nair my pubes in an enclosed space #method #baldy


👋👋 Two-Stage #GPR #Image Inversion #Method Based on Multi-Scale Dilated Convolution and Hybrid #Attention Gate ✍️ Mingze Wu et al. 🔗 brnw.ch/21x22B5

RemoteSens_MDPI's tweet image. 👋👋 Two-Stage #GPR #Image Inversion #Method Based on Multi-Scale Dilated Convolution and Hybrid #Attention Gate

✍️ Mingze Wu et al.
🔗 brnw.ch/21x22B5

👉👉 A Region-Adaptive Local Perturbation-Based #Method for Generating Adversarial Examples in Synthetic Aperture #Radar #ObjectDetection ✍️ Jiale Duan et al. 🔗 brnw.ch/21wZOW3

RemoteSens_MDPI's tweet image. 👉👉 A Region-Adaptive Local Perturbation-Based #Method for Generating Adversarial Examples in Synthetic Aperture #Radar #ObjectDetection

✍️ Jiale Duan et al.
🔗 brnw.ch/21wZOW3

👇👇 A Coupling #Method for the Stability of #Reflectors and Support #Structure in an ALB #Optical-Mechanical System ✍️ Guoqing Zhou et al. 🔗 brnw.ch/21wYytH

RemoteSens_MDPI's tweet image. 👇👇 A Coupling #Method for the Stability of #Reflectors and Support #Structure in an ALB #Optical-Mechanical System

✍️ Guoqing Zhou et al.
🔗 brnw.ch/21wYytH

👉👉 Intelligent Tracking #Method for Aerial Maneuvering #Target Based on Unscented #Kalman #Filter ✍️ Yunlong Dong et al. 🔗 brnw.ch/21x0Mqu

RemoteSens_MDPI's tweet image. 👉👉 Intelligent Tracking #Method for Aerial Maneuvering #Target Based on Unscented #Kalman #Filter

✍️ Yunlong Dong et al.
🔗 brnw.ch/21x0Mqu

🌾🌽 Deep-Learning-Based #Method for the #Identification of Typical #Crops Using Dual-Polarimetric Synthetic Aperture #Radar and High-Resolution #Optical #Images ✍️ Xiaoshuang Ma et al. 🔗 brnw.ch/21x1vB4

RemoteSens_MDPI's tweet image. 🌾🌽 Deep-Learning-Based #Method for the #Identification of Typical #Crops Using Dual-Polarimetric Synthetic Aperture #Radar and High-Resolution #Optical #Images

✍️ Xiaoshuang Ma et al.
🔗 brnw.ch/21x1vB4

⭐⭐ Multi-Centroid Extraction #Method for High-Dynamic Star #Sensors Based on #Projection Distribution of #Star #Trail ✍️ Xingyu Tang et al. 🔗 brnw.ch/21x1wJt

RemoteSens_MDPI's tweet image. ⭐⭐ Multi-Centroid Extraction #Method for High-Dynamic Star #Sensors Based on #Projection Distribution of #Star #Trail

✍️ Xingyu Tang et al.
🔗 brnw.ch/21x1wJt

👋👋 #Hyperspectral Reconstruction #Method Based on #Global Gradient #Information and Local Low-Rank Priors ✍️ Chipeng Cao et al. 🔗 brnw.ch/21wYp96

RemoteSens_MDPI's tweet image. 👋👋 #Hyperspectral Reconstruction #Method Based on #Global Gradient #Information and Local Low-Rank Priors

✍️ Chipeng Cao et al.
🔗 brnw.ch/21wYp96

👉👉 The Synchrosqueezed #Method and Its Theory-Analysis-Based Novel Short-Time Fractional #Fourier #Transform for Chirp #Signals ✍️ Zhen Li et al. 🔗 brnw.ch/21wZWSZ

RemoteSens_MDPI's tweet image. 👉👉 The Synchrosqueezed #Method and Its Theory-Analysis-Based Novel Short-Time Fractional #Fourier #Transform for Chirp #Signals

✍️ Zhen Li et al.
🔗 brnw.ch/21wZWSZ

มุมกล้องโหดจัด ๆ #Kroi #Method

mintchakree's tweet image. มุมกล้องโหดจัด ๆ #Kroi #Method

ไม่ใช้กล้อง! Kroi ถ่าย MV เพลง “Method” ด้วย iPhone 16 Pro ทั้งหมด 40 เครื่อง – เพลงเปิดลำดับที่ 2 ของอนิเมะ “SAKAMOTO DAYS” #TechCatchUp #Apple #Kroi techcatchup.net/kroi-method-mv…



•Just u need #MONEY #MIND #METHOD #MENTOR •Nothing else will work......( I can write on any legal paper too ) ♦Spare 3 hours of your life (Fees is peanuts ) •Now 7th/8th Feb too booked ►5+5 Traders coming •Thirst is must ...!! ♦For 14th/15th Feb book your seat

CHARTISKING's tweet image. •Just u need #MONEY #MIND #METHOD #MENTOR 
•Nothing else will work......( I can write on any legal paper too )

♦Spare 3 hours of your life (Fees is peanuts )

•Now 7th/8th Feb too booked ►5+5 Traders coming 
•Thirst is must ...!!

♦For 14th/15th Feb book your seat

If u have Our #Method ----#TradingSecrets with U •Daily after Market Hours : Spare 15 minutes if u trade in #NF #BNF to get Next Day Strategy •If u trade in stocks /Commodities ?Will take maximum 60 minutes ♦Let me know any time in life :U lost Money in Trading

CHARTISKING's tweet image. If u have Our #Method ----#TradingSecrets with U 

•Daily after Market Hours  : Spare 15 minutes if u trade in #NF #BNF  to get Next Day Strategy 
•If u trade in stocks /Commodities ?Will take maximum 60 minutes 

♦Let me know any time in life :U lost Money in Trading

This set up more then Enough to get Tons of Money ! ♦Just u need #MONEY #MIND #METHOD #MENTOR ►Bitter Truth : 95% or more Don't have last 3

CHARTISKING's tweet image. This set up more then Enough to get Tons of Money !

♦Just u need #MONEY #MIND #METHOD #MENTOR 

►Bitter Truth : 95% or more Don't have last 3

Find you a Australian homie to early stream albums 🎶 #method #staywinnin #boooooyahhh

CloudysDreamzs's tweet image. Find you a Australian homie to early stream albums 🎶
#method #staywinnin #boooooyahhh

메써드 스튜디오 라이브 43회 METHOD’s 43rd Studio Online Live 25.12.14 (SUN) PM 6:00 ! ! 🤘🤘🔥🔥 Method YouTube Chnnel 😈 [메써드TV] youtube.com/channel/UCQ1dt… #메써드 #method #메탈밴드 #metal #라이브스트리밍 #메써드TV

methodmetal's tweet image. 메써드 스튜디오 라이브 43회 METHOD’s 
43rd Studio Online Live 
25.12.14 (SUN) PM 6:00 ! ! 
🤘🤘🔥🔥

Method YouTube Chnnel 😈
[메써드TV] 
youtube.com/channel/UCQ1dt…

 #메써드  #method #메탈밴드 
#metal #라이브스트리밍 #메써드TV

📢#Specialissue: Advances in #Analytical #Method #Development for #Pharmaceutical #Formulations ⏰Deadline: 30 June 2026 🎓Guest Editors: Dr. Michail Lykouras and Dr. Malvina Orkoula 📖Find out more at mdpi.com/journal/pharma… @MDPIBiologySubj

Pharmaceut_MDPI's tweet image. 📢#Specialissue: Advances in #Analytical #Method #Development for #Pharmaceutical #Formulations  
⏰Deadline: 30 June 2026 
🎓Guest Editors: Dr. Michail Lykouras and Dr. Malvina Orkoula
📖Find out more at mdpi.com/journal/pharma… @MDPIBiologySubj

#Adaptive #method helps #light-based #quantum #processors act more like #neural #networks Researchers are developing Quantum Convolutional Neural Networks (QCNNs), a quantum version of classic CNNs, which can process information much more efficiently scitechupdates.com/adaptive-metho…

talius's tweet image. #Adaptive #method helps #light-based #quantum #processors act more like #neural #networks 

Researchers are developing Quantum Convolutional Neural Networks (QCNNs), a quantum version of classic CNNs, which can process information much more efficiently scitechupdates.com/adaptive-metho…

Loading...

Something went wrong.


Something went wrong.