Check out our latest ongoing projects of NASTP in surveillance radar tech! Featuring Passive Surveillance system, Ground Penetrating Radar, S-RAD (S-Band) Radar and AESA airborne and Ground basedRadar. Advancing detection, agriculture, and defense. #Technology #RadarTech

hasanfuf5's tweet image. Check out our latest ongoing projects of NASTP in surveillance radar tech! Featuring Passive Surveillance system, Ground Penetrating Radar, S-RAD (S-Band) Radar and AESA airborne and Ground basedRadar. Advancing detection, agriculture, and defense. #Technology #RadarTech

Chinese military scientists claim to have developed a next-generation radar system that could make the country’s airborne early warning and control (AEW&C) aircraft significantly harder to track, potentially reshaping electronic warfare. #ChinaMilitary #RadarTech #businessdor

BusinessdOr's tweet image. Chinese military scientists claim to have developed a next-generation radar system that could make the country’s airborne early warning and control (AEW&C) aircraft significantly harder to track, potentially reshaping electronic warfare.

#ChinaMilitary #RadarTech #businessdor

🚨 As ADRAD bids adieu to Aggieland, check out this radar comparison! 📊 See how the new @Climavision Radar stacks up against ADRAD. 🌩️📡 #RadarTech tx.ag/NewAggieRadar

tamu_atmo's tweet image. 🚨 As ADRAD bids adieu to Aggieland, check out this radar comparison! 📊 See how the new @Climavision Radar stacks up against ADRAD. 🌩️📡 #RadarTech
tx.ag/NewAggieRadar

#Google's new patent app #US20240210524A1 reveals radar-based input controls for devices. It detects presence, touch, gestures, & docking without mechanical switches or touchscreens. A game-changer in user interface tech! #RadarTech #PatentWatch #Google

PatentPulse's tweet image. #Google's new patent app #US20240210524A1 reveals radar-based input controls for devices. It detects presence, touch, gestures, & docking without mechanical switches or touchscreens. A game-changer in user interface tech! #RadarTech #PatentWatch #Google
PatentPulse's tweet image. #Google's new patent app #US20240210524A1 reveals radar-based input controls for devices. It detects presence, touch, gestures, & docking without mechanical switches or touchscreens. A game-changer in user interface tech! #RadarTech #PatentWatch #Google
PatentPulse's tweet image. #Google's new patent app #US20240210524A1 reveals radar-based input controls for devices. It detects presence, touch, gestures, & docking without mechanical switches or touchscreens. A game-changer in user interface tech! #RadarTech #PatentWatch #Google

#AsahiKaseiMicrodevices launches camera-less mmWave radar modules for detecting falls, posture, breathing & more—with full privacy. Perfect for smart homes, aging-in-place, & IoT healthcare. #RadarTech #IoT #SmartHome #HealthcareTech electronicsmedia.info/2025/09/04/akm…


India’s stealth hunter! 🚀 DRDO’s cutting-edge Stealth VHF Radar on the TATA 6x6 LPTA 1828 HMV enhances detection of stealth aircraft, boosting India’s air defense. 🇮🇳🔬 #DRDO #RadarTech #MakeInIndia

AnilKum_Singh7's tweet image. India’s stealth hunter! 🚀 DRDO’s cutting-edge Stealth VHF Radar on the TATA 6x6 LPTA 1828 HMV enhances detection of stealth aircraft, boosting India’s air defense. 🇮🇳🔬 #DRDO #RadarTech #MakeInIndia

🚨 DRDO’s Project Kusha to field an indigenous Digital Beam Forming Radar with 500+ km detection range — a major leap for India’s missile defence! #DRDO #ProjectKusha #RadarTech #IndigenousDefence #MissileDefence #India #MakeInIndia #DCIndia

TheDCIndia's tweet image. 🚨 DRDO’s Project Kusha to field an indigenous Digital Beam Forming Radar with 500+ km detection range — a major leap for India’s missile defence!

#DRDO #ProjectKusha #RadarTech #IndigenousDefence #MissileDefence #India #MakeInIndia #DCIndia

MERLIN Bird Control Radar Systems offer round-the-clock detection + automatic deterrents to protect industrial sites, landfills & more. Modular, flexible, reliable in any weather. tinyurl.com/2uhpz298 #BirdControl #RadarTech #IndustrialSafety #EnvironmentalProtection

DeTect__Inc's tweet image. MERLIN Bird Control Radar Systems offer round-the-clock detection + automatic deterrents to protect industrial sites, landfills & more.

Modular, flexible, reliable in any weather.

tinyurl.com/2uhpz298

#BirdControl #RadarTech #IndustrialSafety #EnvironmentalProtection

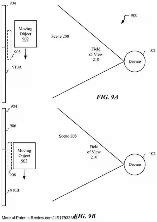
📡 New patent application #US17933383A1 by #Apple reveals tech for identifying room perimeters using radar. Devices with radar sensors & processors analyze energy levels to detect reflector points, estimating physical space boundaries. #RadarTech #SmartHome $AAPL…

PatentPulse's tweet image. 📡 New patent application #US17933383A1 by #Apple reveals tech for identifying room perimeters using radar. Devices with radar sensors & processors analyze energy levels to detect reflector points, estimating physical space boundaries. 
  
#RadarTech #SmartHome $AAPL…
PatentPulse's tweet image. 📡 New patent application #US17933383A1 by #Apple reveals tech for identifying room perimeters using radar. Devices with radar sensors & processors analyze energy levels to detect reflector points, estimating physical space boundaries. 
  
#RadarTech #SmartHome $AAPL…
PatentPulse's tweet image. 📡 New patent application #US17933383A1 by #Apple reveals tech for identifying room perimeters using radar. Devices with radar sensors & processors analyze energy levels to detect reflector points, estimating physical space boundaries. 
  
#RadarTech #SmartHome $AAPL…

DeTect’s MERLIN BCRS is the most deployed bird control radar worldwide automated, 24/7 monitoring with real-time deterrent activation. Proven across landfills, ponds, agriculture & more. Learn more: tinyurl.com/2uhpz298 #BirdControl #RadarTech #EnvironmentalSafety #Wildlife

DeTect__Inc's tweet image. DeTect’s MERLIN BCRS is the most deployed bird control radar worldwide automated, 24/7 monitoring with real-time deterrent activation. Proven across landfills, ponds, agriculture & more.
Learn more: tinyurl.com/2uhpz298 
#BirdControl #RadarTech #EnvironmentalSafety #Wildlife

Our advanced tactical expeditionary radar systems, including the Next-Gen Multi-Mission Hemispheric Radar (MHR), detect and track threats from rockets and missiles to drones. See more at: bit.ly/4kFsrjZ #RadarTech #AirAndMissileDefense #LeonardoDRS #DefenseTech


#Toshiba's new patent application #US20240219517A1 reveals a radar system with multiple antennas and a processor. It operates in two modes: one for cooperative imaging with all antennas, and another for separate imaging with different antenna groups. #RadarTech #Innovation

PatentPulse's tweet image. #Toshiba's new patent application #US20240219517A1 reveals a radar system with multiple antennas and a processor. It operates in two modes: one for cooperative imaging with all antennas, and another for separate imaging with different antenna groups. #RadarTech #Innovation
PatentPulse's tweet image. #Toshiba's new patent application #US20240219517A1 reveals a radar system with multiple antennas and a processor. It operates in two modes: one for cooperative imaging with all antennas, and another for separate imaging with different antenna groups. #RadarTech #Innovation
PatentPulse's tweet image. #Toshiba's new patent application #US20240219517A1 reveals a radar system with multiple antennas and a processor. It operates in two modes: one for cooperative imaging with all antennas, and another for separate imaging with different antenna groups. #RadarTech #Innovation

It all started in 1922 when the Naval Research Lab built the first U.S. radar system. By 1939, it was already helping the USS New York “see” beyond the horizon⚓️ #RadarTech #NavalInnovation

navysteminterns's tweet image. It all started in 1922 when the Naval Research Lab built the first U.S. radar system. By 1939, it was already helping the USS New York “see” beyond the horizon⚓️

#RadarTech #NavalInnovation

The F4 Phantom II's versatile radar, the AN/APQ-120, was a game-changer, allowing it to lock onto enemy aircraft from beyond visual range and in all weather conditions, showcasing the power of electronic systems in modern air combat. #RadarTech #F4Phantom #AviationInnovation

a8racada8ra's tweet image. The F4 Phantom II's versatile radar, the AN/APQ-120, was a game-changer, allowing it to lock onto enemy aircraft from beyond visual range and in all weather conditions, showcasing the power of electronic systems in modern air combat. #RadarTech #F4Phantom #AviationInnovation

Meet the Navy’s Eyes in the Sky – SPY-1 Radar It tracks 100+ threats in real-time, guides defense systems with pinpoint precision, and never misses a beat — even in chaos. #USNavy #SPY1 #RadarTech #AegisCombatSystem"


Pakistan Air Force's NASTP is spearheading nine breakthrough radar projects that include passive radar, multi-function radar, and AEW systems to boost indigenous defense technology. Learn more here: buff.ly/4hYb77W #PAF #NASTP #RadarTech #DefenseInnovation

TechJuicePk's tweet image. Pakistan Air Force's NASTP is spearheading nine breakthrough radar projects that include passive radar, multi-function radar, and AEW systems to boost indigenous defense technology. 

Learn more here: buff.ly/4hYb77W  

#PAF #NASTP #RadarTech #DefenseInnovation

Advancing Road Safety with Energy-Efficient mmWave Radar!! Curious to know more? Check out the full blog here: lnkd.in/dY4Wj55f #SmartCitiesM #RadarTech #AIForGood #MachineLearning #IoTInnovation

IHUB_Data's tweet image. Advancing Road Safety with Energy-Efficient mmWave Radar!!

Curious to know more? Check out the full blog here: lnkd.in/dY4Wj55f

#SmartCitiesM #RadarTech #AIForGood #MachineLearning #IoTInnovation

Hanwha Systems wins $40M contract to develop multifunction radar for South Korea’s L-SAM II interceptor under ADD’s future air defence plans. #Hanwha #LSAM #RadarTech

Lifeofsoldierss's tweet image. Hanwha Systems wins $40M contract to develop multifunction radar for South Korea’s L-SAM II interceptor under ADD’s future air defence plans.

#Hanwha #LSAM #RadarTech

Exciting advancements in radar tech are powering drone precision and safety! Join us at DroneX 2025, Booth DX345, to explore our innovative solutions. 🌐🚁 #DroneX2025 #RadarTech #Innovation

NanoRadarTech's tweet image. Exciting advancements in radar tech are powering drone precision and safety! Join us at DroneX 2025, Booth DX345, to explore our innovative solutions. 🌐🚁 #DroneX2025 #RadarTech #Innovation
NanoRadarTech's tweet image. Exciting advancements in radar tech are powering drone precision and safety! Join us at DroneX 2025, Booth DX345, to explore our innovative solutions. 🌐🚁 #DroneX2025 #RadarTech #Innovation

Indigenous #VHF radar now detects stealth aircraft up to 500 km-a 100 km boost from its previous range. Enhanced early warning, stronger air defense. #IndianDefense #RadarTech #StealthDetection


MERLIN Bird Control Radar Systems offer round-the-clock detection + automatic deterrents to protect industrial sites, landfills & more. Modular, flexible, reliable in any weather. tinyurl.com/2uhpz298 #BirdControl #RadarTech #IndustrialSafety #EnvironmentalProtection

DeTect__Inc's tweet image. MERLIN Bird Control Radar Systems offer round-the-clock detection + automatic deterrents to protect industrial sites, landfills & more.

Modular, flexible, reliable in any weather.

tinyurl.com/2uhpz298

#BirdControl #RadarTech #IndustrialSafety #EnvironmentalProtection

BEL (Bharat Electronics Limited) 🛡️ BEL’s Radar Revolution! 📡 Q1 Profit: ₹969 Cr (↑25% YoY) 💵 Order Book: ₹74,859 Cr - MASSIVE! 🔥 New Orders: ₹2,803 Cr (YTD) ⭐ EBITDA Growth: Stellar performance #BEL #RadarTech #ElectronicsWarfare #DefenceOrders #BSE

OptSENSE_Dev's tweet image. BEL (Bharat Electronics Limited)
🛡️ BEL’s Radar Revolution!
📡 Q1 Profit: ₹969 Cr (↑25% YoY)
💵 Order Book: ₹74,859 Cr - MASSIVE!
🔥 New Orders: ₹2,803 Cr (YTD)
⭐ EBITDA Growth: Stellar performance
#BEL #RadarTech #ElectronicsWarfare #DefenceOrders #BSE

India’s Surya VHF radar, deployed in 2025, can track stealth aircraft at 360 km, boosting air defense and C4ISR. It’s mobile and designed for rapid deployment, expanding India's aerial surveillance edge. 🇮🇳🛰️ #IndiaDefense #RadarTech

Mr_TrueExplorer's tweet image. India’s Surya VHF radar, deployed in 2025, can track stealth aircraft at 360 km, boosting air defense and C4ISR. It’s mobile and designed for rapid deployment, expanding India's aerial surveillance edge. 🇮🇳🛰️ #IndiaDefense #RadarTech

#AsahiKaseiMicrodevices launches camera-less mmWave radar modules for detecting falls, posture, breathing & more—with full privacy. Perfect for smart homes, aging-in-place, & IoT healthcare. #RadarTech #IoT #SmartHome #HealthcareTech electronicsmedia.info/2025/09/04/akm…


The Deep-Space Advanced Radar Capability (DARC) program, developed by @northropgrumman for the @SpaceForceDoD, successfully completed a key test. Learn more about it from our media partner, @defense_news: bit.ly/4oS7dBP #defenseinnovation #radartech


Chinese military scientists claim to have developed a next-generation radar system that could make the country’s airborne early warning and control (AEW&C) aircraft significantly harder to track, potentially reshaping electronic warfare. #ChinaMilitary #RadarTech #businessdor

BusinessdOr's tweet image. Chinese military scientists claim to have developed a next-generation radar system that could make the country’s airborne early warning and control (AEW&C) aircraft significantly harder to track, potentially reshaping electronic warfare.

#ChinaMilitary #RadarTech #businessdor

DeTect’s MERLIN BCRS is the most deployed bird control radar worldwide automated, 24/7 monitoring with real-time deterrent activation. Proven across landfills, ponds, agriculture & more. Learn more: tinyurl.com/2uhpz298 #BirdControl #RadarTech #EnvironmentalSafety #Wildlife

DeTect__Inc's tweet image. DeTect’s MERLIN BCRS is the most deployed bird control radar worldwide automated, 24/7 monitoring with real-time deterrent activation. Proven across landfills, ponds, agriculture & more.
Learn more: tinyurl.com/2uhpz298 
#BirdControl #RadarTech #EnvironmentalSafety #Wildlife

Need precision bird monitoring? The MERLIN® radar offers True3D tracking, real-time alerts, automated deterrents, and expert support - 24/7 coverage for aviation, wind farms, industrial sites, and more. Discover MERLIN: detect-inc.com/bird-detection… #RadarTech #BirdDetection #Radar

DeTect__Inc's tweet image. Need precision bird monitoring? The MERLIN® radar offers True3D tracking, real-time alerts, automated deterrents, and expert support - 24/7 coverage for aviation, wind farms, industrial sites, and more.

Discover MERLIN: detect-inc.com/bird-detection…

#RadarTech #BirdDetection #Radar

There are core signal models and processing pipelines for communication-centric ISAC. A key metric? The average squared auto-correlation function (ACF)—crucial for multi-target ranging. Upcoming webinars at hubs.la/Q03BW6PF0 #ACF #RadarTech #6GSignals


📡 New patent application #US17933383A1 by #Apple reveals tech for identifying room perimeters using radar. Devices with radar sensors & processors analyze energy levels to detect reflector points, estimating physical space boundaries. #RadarTech #SmartHome $AAPL…

PatentPulse's tweet image. 📡 New patent application #US17933383A1 by #Apple reveals tech for identifying room perimeters using radar. Devices with radar sensors & processors analyze energy levels to detect reflector points, estimating physical space boundaries. 
  
#RadarTech #SmartHome $AAPL…
PatentPulse's tweet image. 📡 New patent application #US17933383A1 by #Apple reveals tech for identifying room perimeters using radar. Devices with radar sensors & processors analyze energy levels to detect reflector points, estimating physical space boundaries. 
  
#RadarTech #SmartHome $AAPL…
PatentPulse's tweet image. 📡 New patent application #US17933383A1 by #Apple reveals tech for identifying room perimeters using radar. Devices with radar sensors & processors analyze energy levels to detect reflector points, estimating physical space boundaries. 
  
#RadarTech #SmartHome $AAPL…

📡 Millimeter Wave Radar Market on the Rise The global mmWave Radar Market is scaling up fast: 📊2020: USD 567.2M 📈2021: USD 572.1M 🚀2028 Forecast: USD 1.40B 📌CAGR: 13.7% (2021–2028) Know More: fortunebusinessinsights.com/millimeter-wav… #MillimeterWave #RadarTech #ADAS #5GTechnology #Bosch

DigheRushi86552's tweet image. 📡 Millimeter Wave Radar Market on the Rise

The global mmWave Radar Market is scaling up fast:
📊2020: USD 567.2M
📈2021: USD 572.1M
🚀2028 Forecast: USD 1.40B
📌CAGR: 13.7% (2021–2028)

Know More: fortunebusinessinsights.com/millimeter-wav…

#MillimeterWave #RadarTech #ADAS  #5GTechnology #Bosch

🚨 DRDO’s Project Kusha to field an indigenous Digital Beam Forming Radar with 500+ km detection range — a major leap for India’s missile defence! #DRDO #ProjectKusha #RadarTech #IndigenousDefence #MissileDefence #India #MakeInIndia #DCIndia

TheDCIndia's tweet image. 🚨 DRDO’s Project Kusha to field an indigenous Digital Beam Forming Radar with 500+ km detection range — a major leap for India’s missile defence!

#DRDO #ProjectKusha #RadarTech #IndigenousDefence #MissileDefence #India #MakeInIndia #DCIndia

TCM873 Highway Traffic Flow Radar – Monitors Road Congestion Smartly. #TrafficMonitoring #RadarTech #SmartTransport #RoadSafety


From 80GHz Ban to 94GHz Strategy: SONDIT’s Radar Revolution Bin Tian, Co-founder of SONDIT: "Switching from banned 80GHz automotive radar (cheapest) to 94GHz currently doubles costs. But our goal: match 24GHz pricing at equal performance. #RadarTech


Check out our latest ongoing projects of NASTP in surveillance radar tech! Featuring Passive Surveillance system, Ground Penetrating Radar, S-RAD (S-Band) Radar and AESA airborne and Ground basedRadar. Advancing detection, agriculture, and defense. #Technology #RadarTech

hasanfuf5's tweet image. Check out our latest ongoing projects of NASTP in surveillance radar tech! Featuring Passive Surveillance system, Ground Penetrating Radar, S-RAD (S-Band) Radar and AESA airborne and Ground basedRadar. Advancing detection, agriculture, and defense. #Technology #RadarTech

🚨 As ADRAD bids adieu to Aggieland, check out this radar comparison! 📊 See how the new @Climavision Radar stacks up against ADRAD. 🌩️📡 #RadarTech tx.ag/NewAggieRadar

tamu_atmo's tweet image. 🚨 As ADRAD bids adieu to Aggieland, check out this radar comparison! 📊 See how the new @Climavision Radar stacks up against ADRAD. 🌩️📡 #RadarTech
tx.ag/NewAggieRadar

Chinese military scientists claim to have developed a next-generation radar system that could make the country’s airborne early warning and control (AEW&C) aircraft significantly harder to track, potentially reshaping electronic warfare. #ChinaMilitary #RadarTech #businessdor

BusinessdOr's tweet image. Chinese military scientists claim to have developed a next-generation radar system that could make the country’s airborne early warning and control (AEW&C) aircraft significantly harder to track, potentially reshaping electronic warfare.

#ChinaMilitary #RadarTech #businessdor

📡 New patent application #US17933383A1 by #Apple reveals tech for identifying room perimeters using radar. Devices with radar sensors & processors analyze energy levels to detect reflector points, estimating physical space boundaries. #RadarTech #SmartHome $AAPL…

PatentPulse's tweet image. 📡 New patent application #US17933383A1 by #Apple reveals tech for identifying room perimeters using radar. Devices with radar sensors & processors analyze energy levels to detect reflector points, estimating physical space boundaries. 
  
#RadarTech #SmartHome $AAPL…
PatentPulse's tweet image. 📡 New patent application #US17933383A1 by #Apple reveals tech for identifying room perimeters using radar. Devices with radar sensors & processors analyze energy levels to detect reflector points, estimating physical space boundaries. 
  
#RadarTech #SmartHome $AAPL…
PatentPulse's tweet image. 📡 New patent application #US17933383A1 by #Apple reveals tech for identifying room perimeters using radar. Devices with radar sensors & processors analyze energy levels to detect reflector points, estimating physical space boundaries. 
  
#RadarTech #SmartHome $AAPL…

#Google's new patent app #US20240210524A1 reveals radar-based input controls for devices. It detects presence, touch, gestures, & docking without mechanical switches or touchscreens. A game-changer in user interface tech! #RadarTech #PatentWatch #Google

PatentPulse's tweet image. #Google's new patent app #US20240210524A1 reveals radar-based input controls for devices. It detects presence, touch, gestures, & docking without mechanical switches or touchscreens. A game-changer in user interface tech! #RadarTech #PatentWatch #Google
PatentPulse's tweet image. #Google's new patent app #US20240210524A1 reveals radar-based input controls for devices. It detects presence, touch, gestures, & docking without mechanical switches or touchscreens. A game-changer in user interface tech! #RadarTech #PatentWatch #Google
PatentPulse's tweet image. #Google's new patent app #US20240210524A1 reveals radar-based input controls for devices. It detects presence, touch, gestures, & docking without mechanical switches or touchscreens. A game-changer in user interface tech! #RadarTech #PatentWatch #Google

India’s Surya VHF radar, deployed in 2025, can track stealth aircraft at 360 km, boosting air defense and C4ISR. It’s mobile and designed for rapid deployment, expanding India's aerial surveillance edge. 🇮🇳🛰️ #IndiaDefense #RadarTech

Mr_TrueExplorer's tweet image. India’s Surya VHF radar, deployed in 2025, can track stealth aircraft at 360 km, boosting air defense and C4ISR. It’s mobile and designed for rapid deployment, expanding India's aerial surveillance edge. 🇮🇳🛰️ #IndiaDefense #RadarTech

India’s stealth hunter! 🚀 DRDO’s cutting-edge Stealth VHF Radar on the TATA 6x6 LPTA 1828 HMV enhances detection of stealth aircraft, boosting India’s air defense. 🇮🇳🔬 #DRDO #RadarTech #MakeInIndia

AnilKum_Singh7's tweet image. India’s stealth hunter! 🚀 DRDO’s cutting-edge Stealth VHF Radar on the TATA 6x6 LPTA 1828 HMV enhances detection of stealth aircraft, boosting India’s air defense. 🇮🇳🔬 #DRDO #RadarTech #MakeInIndia

🚨 DRDO’s Project Kusha to field an indigenous Digital Beam Forming Radar with 500+ km detection range — a major leap for India’s missile defence! #DRDO #ProjectKusha #RadarTech #IndigenousDefence #MissileDefence #India #MakeInIndia #DCIndia

TheDCIndia's tweet image. 🚨 DRDO’s Project Kusha to field an indigenous Digital Beam Forming Radar with 500+ km detection range — a major leap for India’s missile defence!

#DRDO #ProjectKusha #RadarTech #IndigenousDefence #MissileDefence #India #MakeInIndia #DCIndia

🚨 Just In: HENSOLDT introduces deployable variant of Twinvis passive radar, enhancing surveillance capabilities. #RadarTech #DefenseInnovation

DefenseFocus's tweet image. 🚨 Just In: HENSOLDT introduces deployable variant of Twinvis passive radar, enhancing surveillance capabilities. #RadarTech #DefenseInnovation

MERLIN Bird Control Radar Systems offer round-the-clock detection + automatic deterrents to protect industrial sites, landfills & more. Modular, flexible, reliable in any weather. tinyurl.com/2uhpz298 #BirdControl #RadarTech #IndustrialSafety #EnvironmentalProtection

DeTect__Inc's tweet image. MERLIN Bird Control Radar Systems offer round-the-clock detection + automatic deterrents to protect industrial sites, landfills & more.

Modular, flexible, reliable in any weather.

tinyurl.com/2uhpz298

#BirdControl #RadarTech #IndustrialSafety #EnvironmentalProtection

The F4 Phantom II's versatile radar, the AN/APQ-120, was a game-changer, allowing it to lock onto enemy aircraft from beyond visual range and in all weather conditions, showcasing the power of electronic systems in modern air combat. #RadarTech #F4Phantom #AviationInnovation

a8racada8ra's tweet image. The F4 Phantom II's versatile radar, the AN/APQ-120, was a game-changer, allowing it to lock onto enemy aircraft from beyond visual range and in all weather conditions, showcasing the power of electronic systems in modern air combat. #RadarTech #F4Phantom #AviationInnovation

DeTect’s MERLIN BCRS is the most deployed bird control radar worldwide automated, 24/7 monitoring with real-time deterrent activation. Proven across landfills, ponds, agriculture & more. Learn more: tinyurl.com/2uhpz298 #BirdControl #RadarTech #EnvironmentalSafety #Wildlife

DeTect__Inc's tweet image. DeTect’s MERLIN BCRS is the most deployed bird control radar worldwide automated, 24/7 monitoring with real-time deterrent activation. Proven across landfills, ponds, agriculture & more.
Learn more: tinyurl.com/2uhpz298 
#BirdControl #RadarTech #EnvironmentalSafety #Wildlife

DeTect’s radio frequency signal and radar detection and processing technologies make it one of the leading technologies on the market today. Find out more on DroneWatcher technology here: detect-inc.com/drone-detectio… #DroneWatcher #Radar #RadarTech #DeTection

detect_inc's tweet image. DeTect’s radio frequency signal and radar detection and processing technologies make it one of the leading technologies on the market today. Find out more on DroneWatcher technology here: detect-inc.com/drone-detectio…

#DroneWatcher #Radar #RadarTech #DeTection

It all started in 1922 when the Naval Research Lab built the first U.S. radar system. By 1939, it was already helping the USS New York “see” beyond the horizon⚓️ #RadarTech #NavalInnovation

navysteminterns's tweet image. It all started in 1922 when the Naval Research Lab built the first U.S. radar system. By 1939, it was already helping the USS New York “see” beyond the horizon⚓️

#RadarTech #NavalInnovation

#Toshiba's new patent application #US20240219517A1 reveals a radar system with multiple antennas and a processor. It operates in two modes: one for cooperative imaging with all antennas, and another for separate imaging with different antenna groups. #RadarTech #Innovation

PatentPulse's tweet image. #Toshiba's new patent application #US20240219517A1 reveals a radar system with multiple antennas and a processor. It operates in two modes: one for cooperative imaging with all antennas, and another for separate imaging with different antenna groups. #RadarTech #Innovation
PatentPulse's tweet image. #Toshiba's new patent application #US20240219517A1 reveals a radar system with multiple antennas and a processor. It operates in two modes: one for cooperative imaging with all antennas, and another for separate imaging with different antenna groups. #RadarTech #Innovation
PatentPulse's tweet image. #Toshiba's new patent application #US20240219517A1 reveals a radar system with multiple antennas and a processor. It operates in two modes: one for cooperative imaging with all antennas, and another for separate imaging with different antenna groups. #RadarTech #Innovation

Dank 360-Grad-Tracking können die neuen KI-Kopfhörer Sprecher selbst bei Bewegung präzise erkennen und übersetzen. Ein technologisches Highlight! 🎧 #RadarTech #KI #Leipzig #Dortmund

AIHandwerk's tweet image. Dank 360-Grad-Tracking können die neuen KI-Kopfhörer Sprecher selbst bei Bewegung präzise erkennen und übersetzen. Ein technologisches Highlight! 🎧 #RadarTech #KI #Leipzig #Dortmund

Dr. Tom Driscoll, founder and CTO of Echodyne, is revolutionizing radar systems for drones used in advanced air mobility. Find out in this podcast. #RadarTech #Drones #AirMobility @EchodyneCorp bit.ly/46D74Z4

DroneRadioShow's tweet image. Dr. Tom Driscoll, founder and CTO of Echodyne, is revolutionizing radar systems for drones used in advanced air mobility. Find out in this podcast. #RadarTech #Drones #AirMobility @EchodyneCorp bit.ly/46D74Z4

Akash’s Rajendra 3D radar tracks multiple targets simultaneously, guiding missiles to intercept fighter jets, drones, and cruise missiles effectively. #RadarTech #IndianAirForce

zarinazarin91's tweet image. Akash’s Rajendra 3D radar tracks multiple targets simultaneously, guiding missiles to intercept fighter jets, drones, and cruise missiles effectively. #RadarTech #IndianAirForce

Hanwha Systems wins $40M contract to develop multifunction radar for South Korea’s L-SAM II interceptor under ADD’s future air defence plans. #Hanwha #LSAM #RadarTech

Lifeofsoldierss's tweet image. Hanwha Systems wins $40M contract to develop multifunction radar for South Korea’s L-SAM II interceptor under ADD’s future air defence plans.

#Hanwha #LSAM #RadarTech

Loading...

Something went wrong.


Something went wrong.


United States Trends