#frauddetection 검색 결과

Did you know Aviva uncovered £116,000,000 in insurance fraud in a single year by deploying TotalAgility?😱 Learn more: ow.ly/6OVP50XatpI #FraudDetection #IntelligentAutomation #InsuranceTech #TungstenAutomation #DigitalTransformation #AI


Metro Bank teamed up with @LexisNexisRisk to build a fraud detection model that learns from behaviour — not just transactions. Find out how the collaboration is protecting customers and safeguarding operations: stories.relx.com/metro-bank/ind… #MoneyMules #FraudDetection

RELXHQ's tweet image. Metro Bank teamed up with @LexisNexisRisk to build a fraud detection model that learns from behaviour — not just transactions. Find out how the collaboration is protecting customers and safeguarding operations: stories.relx.com/metro-bank/ind…

#MoneyMules #FraudDetection

Fraud is evolving, and internal auditors must stay ahead. But with these advancements come challenges. How can #InternalAudit leaders leverage #AI while ensuring transparency, compliance, and control? 🔗 Read more: bit.ly/435BJjf #FraudDetection #RiskManagement

TeamMateAudit's tweet image. Fraud is evolving, and internal auditors must stay ahead. But with these advancements come challenges.

How can #InternalAudit leaders leverage #AI while ensuring transparency, compliance, and control?

🔗 Read more: bit.ly/435BJjf

 #FraudDetection #RiskManagement

To ensure secure, real-time protection in payment processing, fraud detection hooks were integrated into Flutter’s payment flows. Read More, iflair.com/real-time-frau… #FlutterDev #MobilePayments #FraudDetection #iflair

iFlairWebTech's tweet image. To ensure secure, real-time protection in payment processing, fraud detection hooks were integrated into Flutter’s payment flows.
Read More, iflair.com/real-time-frau…
#FlutterDev #MobilePayments #FraudDetection #iflair

I just published my latest article on building a Three-Model Real-Time Fraud Detection System with @FastAPI. Read it on @Medium: medium.com/@nafisaidris41… Check out the code on @GitHub: github.com/nafisalawalidr… #FraudDetection #MachineLearning #DeepLearning #FinTech #FastAPI

FeenahNafeesah's tweet image. I just published my latest article on building a Three-Model Real-Time Fraud Detection System with @FastAPI.

Read it on @Medium: medium.com/@nafisaidris41…

Check out the code on @GitHub: github.com/nafisalawalidr…

#FraudDetection #MachineLearning #DeepLearning #FinTech #FastAPI

Banks must balance speed with trust & compliance. #AgenticAI with #HITL oversight enables scalable, automated ops from #frauddetection to #loanautomation, ensuring faster service, reduced risk, & stronger confidence. Learn more: splr.io/6018s4jHg

VirtusaCorp's tweet image. Banks must balance speed with trust & compliance. #AgenticAI with #HITL oversight enables scalable, automated ops from #frauddetection to #loanautomation, ensuring faster service, reduced risk, & stronger confidence. Learn more: splr.io/6018s4jHg

Scott Page Launches Life Settlement Litigation, #FraudDetection, and Expert Witness Services prunderground.com/?p=358296 #ScottPage

prunderground's tweet image. Scott Page Launches Life Settlement Litigation, #FraudDetection, and Expert Witness Services prunderground.com/?p=358296 #ScottPage

💡 In fintech, fraud isn’t an if—it’s a when. On Ep 208 of The SaaS CFO Podcast, Idan Bar-Dov (CEO @ Heka Global) shares how fraud urgency drives fast traction—from pilot to full rollout. 🎥 Watch: youtu.be/2dEh1uPnXDA #SaaS #Fintech #FraudDetection #Growth


When family offices leverage AI tools, they unlock new possibilities for personalized wealth management, fraud detection, and better decision-making. The future is AI-powered. bit.ly/4ljLujt #AIAccounting #WealthManagement #FraudDetection #GravitySoftware


Fight fraud by comparing IP location with billing info. Our IP Location API helps you: - Detect mismatches - Flag suspicious orders - Prevent chargebacks Start securing your transactions today: IP Location API #FraudDetection #CyberSecurity #Ecommerce #FinTech #RiskManagement

ipgeolocationio's tweet image. Fight fraud by comparing IP location with billing info.
Our IP Location API helps you:
- Detect mismatches
- Flag suspicious orders
- Prevent chargebacks

Start securing your transactions today: IP Location API

#FraudDetection #CyberSecurity #Ecommerce #FinTech #RiskManagement

Integrating AI tools with the Microsoft Power Platform allows family offices to improve financial visibility, automate repetitive tasks, and enhance decision-making. bit.ly/46LtPxk #AItools #FinancialReporting #FraudDetection #GravitySoftware


Insurance money is fueling the next wave of #AI innovation! Global insurers managing trillions in assets are now backing AI startups—from #GenerativeAI to #FraudDetection & #RiskModeling tech & insurance. 👉Full story: varindia.com/news/insurance… #Insurance #InsurTech #Varindia

varindiamag's tweet image. Insurance money is fueling the next wave of #AI innovation!

Global insurers managing trillions in assets are now backing AI startups—from #GenerativeAI to #FraudDetection & #RiskModeling tech & insurance.

👉Full story: varindia.com/news/insurance…

#Insurance #InsurTech #Varindia

Smarter than the scam: how optimized AI is reshaping #fraud detection - buff.ly/nfk5wW1 #frauddetection #finance #banking #financialservices

Lance_Edelman's tweet image. Smarter than the scam: how optimized AI is reshaping #fraud detection - buff.ly/nfk5wW1 #frauddetection #finance #banking #financialservices

🌍 Open source meets finance. On Ep 208 of The SaaS CFO Podcast, Idan Bar-Dov (CEO @ Heka Global) shares how their platform powers: ✔️ Fraud detection ✔️ Global contact recovery ✔️ Smarter financial data 🎥 Watch here: youtu.be/2dEh1uPnXDA #SaaS #Fintech #FraudDetection


Less than 24 hours until our entity intelligence discussion with Planet and Brains Capital! Don't miss how Planet transformed their fraud detection using our approach - from alert chaos to precision targeting. Register now: buff.ly/irsCtZR #frauddetection

Fraud_net's tweet image. Less than 24 hours until our entity intelligence discussion with Planet and Brains Capital!
Don't miss how Planet transformed their fraud detection using our approach - from alert chaos to precision targeting. Register now: buff.ly/irsCtZR

#frauddetection…

AiPrise (@aiprise) secured a $12.5M Series A (@HeadlineVC, @ycombinator, @SixThirty_630ft) to build the operating system for #globalcompliance. Founded by @SardaChaitanya and Rushabh M. Shah, the Santa Clara-based company automates KYC, KYB, AML, and #frauddetection across 200+…


In an exclusive interview with @safetydet , our Chief Risk Officer, Joanna Fong, shares how SHIELD’s device-first approach helps businesses tackle fraud. Read full interview: safetydetectives.com/blog/joanna-fo… #SHIELD #frauddetection #fraudprevention


Why Social Media Insight Is Gold Dust for Financial Crime Fighters Read the full blog: financialit.net/blog/financial… #FinancialCrime #SocialMediaInsights #FraudDetection #finance #fintech #FinancialIT


𝐓𝐨𝐩 𝐔𝐬𝐞 𝐂𝐚𝐬𝐞𝐬 𝐨𝐟 𝐀𝐧𝐚𝐥𝐲𝐭𝐢𝐜𝐬 𝐢𝐧 𝐈𝐧𝐝𝐮𝐬𝐭𝐫𝐲 Unlock the power of data with analytics! From predictive maintenance to fraud detection, see how industries thrive using analytics insights. #AnalyticsUseCases #PredictiveMaintenance #FraudDetection

analyticsinme's tweet image. 𝐓𝐨𝐩 𝐔𝐬𝐞 𝐂𝐚𝐬𝐞𝐬 𝐨𝐟 𝐀𝐧𝐚𝐥𝐲𝐭𝐢𝐜𝐬 𝐢𝐧 𝐈𝐧𝐝𝐮𝐬𝐭𝐫𝐲 

Unlock the power of data with analytics! From predictive maintenance to fraud detection, see how industries thrive using analytics insights.

#AnalyticsUseCases #PredictiveMaintenance #FraudDetection…

EasyCash, by building a real-time risk graph with #NebulaGraph, they see fraud rings in milliseconds — not hours.🚀 1B+ nodes. 19B+ edges.💡 👉 See how speed + intelligence wins: na2.hubs.ly/H01MmGx0 #FinTech #FraudDetection #RealTime #RiskAI


Discover how financial services leverage Business Intelligence to minimize risk and combat fraud. Stay informed and protect your assets! Read our latest blog for insights. 📊💼 vuelitics.com/blog/how-finan… #BusinessIntelligence #FinancialServices #FraudDetection #RiskManagement #BI


To ensure secure, real-time protection in payment processing, fraud detection hooks were integrated into Flutter’s payment flows. Read More, iflair.com/real-time-frau… #FlutterDev #MobilePayments #FraudDetection #iflair

iFlairWebTech's tweet image. To ensure secure, real-time protection in payment processing, fraud detection hooks were integrated into Flutter’s payment flows.
Read More, iflair.com/real-time-frau…
#FlutterDev #MobilePayments #FraudDetection #iflair

🤖 Rules Meet AI: The Future of Fraud Detection At @money2020 USA, Kunal Datta, Head of Product at @unit21inc , shared how blending rules-based systems with AI adaptability is transforming fraud detection & compliance. 🎥 youtu.be/rVUogHxnIGI #AI #Fintech #FraudDetection

financialit_net's tweet card. Unit21: Bridging Rules and AI for Smarter Fraud Detection | Money20...

youtube.com

YouTube

Unit21: Bridging Rules and AI for Smarter Fraud Detection | Money20...


Take a close look at this balance sheet snippet (or invoice) do you see anything unusual?🧐 💡If you spotted it, you think like a CFE. If not — maybe it’s time to become one! #CFE #FraudDetection #FinancialFraud #AuditAndCompliance #CertifiedFraudExaminer #CFEPrep #CareerGrowth

AcademyAudit's tweet image. Take a close look at this balance sheet snippet (or invoice) do you see anything unusual?🧐

💡If you spotted it, you think like a CFE.
If not — maybe it’s time to become one!
#CFE #FraudDetection #FinancialFraud #AuditAndCompliance #CertifiedFraudExaminer #CFEPrep #CareerGrowth

When proxy detection focuses on quantity instead of quality, real users get blocked and real threats slip through. Here’s how clean residential proxy data reduces false positives 🧵👇 #FraudDetection #IPData #DataAccuracy


Metro Bank teamed up with @LexisNexisRisk to build a fraud detection model that learns from behaviour — not just transactions. Find out how the collaboration is protecting customers and safeguarding operations: stories.relx.com/metro-bank/ind… #MoneyMules #FraudDetection

RELXHQ's tweet image. Metro Bank teamed up with @LexisNexisRisk to build a fraud detection model that learns from behaviour — not just transactions. Find out how the collaboration is protecting customers and safeguarding operations: stories.relx.com/metro-bank/ind…

#MoneyMules #FraudDetection

Stay ahead of fraud with RunsteadServices. AI-driven fraud detection helps your business identify risks in real-time and protect your assets. Ready to strengthen your security? Let’s talk about how AI can safeguard your business. #RunsteadServices #FraudDetection #AIvideo


I just published my latest article on building a Three-Model Real-Time Fraud Detection System with @FastAPI. Read it on @Medium: medium.com/@nafisaidris41… Check out the code on @GitHub: github.com/nafisalawalidr… #FraudDetection #MachineLearning #DeepLearning #FinTech #FastAPI

FeenahNafeesah's tweet image. I just published my latest article on building a Three-Model Real-Time Fraud Detection System with @FastAPI.

Read it on @Medium: medium.com/@nafisaidris41…

Check out the code on @GitHub: github.com/nafisalawalidr…

#FraudDetection #MachineLearning #DeepLearning #FinTech #FastAPI

Banks must balance speed with trust & compliance. #AgenticAI with #HITL oversight enables scalable, automated ops from #frauddetection to #loanautomation, ensuring faster service, reduced risk, & stronger confidence. Learn more: splr.io/6018s4jHg

VirtusaCorp's tweet image. Banks must balance speed with trust & compliance. #AgenticAI with #HITL oversight enables scalable, automated ops from #frauddetection to #loanautomation, ensuring faster service, reduced risk, & stronger confidence. Learn more: splr.io/6018s4jHg

💰 Ghost employees? Not anymore. Discover how a global pharmaceutical retailer uncovered hidden payroll fraud and achieved a 1,000% ROI in just one year using KPI Pay Fraud Analytics. Read the case study here. 👇 #BI #Payroll #FraudDetection #DataAnalytics #KPIDataBridge

KPIPartners's tweet image. 💰 Ghost employees? Not anymore.

Discover how a global pharmaceutical retailer uncovered hidden payroll fraud and achieved a 1,000% ROI in just one year using KPI Pay Fraud Analytics. Read the case study here. 👇

#BI #Payroll #FraudDetection #DataAnalytics #KPIDataBridge

Scott Page Launches Life Settlement Litigation, #FraudDetection, and Expert Witness Services prunderground.com/?p=358296 #ScottPage

prunderground's tweet image. Scott Page Launches Life Settlement Litigation, #FraudDetection, and Expert Witness Services prunderground.com/?p=358296 #ScottPage

Metro Bank teamed up with @LexisNexisRisk to build a fraud detection model that learns from behaviour — not just transactions. Find out how the collaboration is protecting customers and safeguarding operations: stories.relx.com/metro-bank/ind… #MoneyMules #FraudDetection

RELXHQ's tweet image. Metro Bank teamed up with @LexisNexisRisk to build a fraud detection model that learns from behaviour — not just transactions. Find out how the collaboration is protecting customers and safeguarding operations: stories.relx.com/metro-bank/ind…

#MoneyMules #FraudDetection

Smarter than the scam: how optimized AI is reshaping #fraud detection - buff.ly/nfk5wW1 #frauddetection #finance #banking #financialservices

vallumsoftware's tweet image. Smarter than the scam: how optimized AI is reshaping #fraud detection - buff.ly/nfk5wW1 #frauddetection #finance #banking #financialservices

Fraud is evolving, and internal auditors must stay ahead. But with these advancements come challenges. How can #InternalAudit leaders leverage #AI while ensuring transparency, compliance, and control? 🔗 Read more: bit.ly/435BJjf #FraudDetection #RiskManagement

TeamMateAudit's tweet image. Fraud is evolving, and internal auditors must stay ahead. But with these advancements come challenges.

How can #InternalAudit leaders leverage #AI while ensuring transparency, compliance, and control?

🔗 Read more: bit.ly/435BJjf

 #FraudDetection #RiskManagement

Less than 24 hours until our entity intelligence discussion with Planet and Brains Capital! Don't miss how Planet transformed their fraud detection using our approach - from alert chaos to precision targeting. Register now: buff.ly/irsCtZR #frauddetection

Fraud_net's tweet image. Less than 24 hours until our entity intelligence discussion with Planet and Brains Capital!
Don't miss how Planet transformed their fraud detection using our approach - from alert chaos to precision targeting. Register now: buff.ly/irsCtZR

#frauddetection…

🚨 FRAUD ALERT 🚨 #Bifrost is locking users out and stealing crypto! Act fast if you’re a victim. 📩 Report to me for recovery solutions! #FraudDetection #Web3Security #SpaceAi #Lbank #SwfcNrho #Fisngloue #Nebumine #AssetRecovery #Blockchain #cetbit

JOE_BYNES_'s tweet image. 🚨 FRAUD ALERT 🚨 #Bifrost is locking users out and stealing crypto! Act fast if you’re a victim.

📩 Report to me for recovery solutions!

#FraudDetection #Web3Security #SpaceAi #Lbank #SwfcNrho #Fisngloue #Nebumine #AssetRecovery #Blockchain #cetbit

Insurance money is fueling the next wave of #AI innovation! Global insurers managing trillions in assets are now backing AI startups—from #GenerativeAI to #FraudDetection & #RiskModeling tech & insurance. 👉Full story: varindia.com/news/insurance… #Insurance #InsurTech #Varindia

varindiamag's tweet image. Insurance money is fueling the next wave of #AI innovation!

Global insurers managing trillions in assets are now backing AI startups—from #GenerativeAI to #FraudDetection & #RiskModeling tech & insurance.

👉Full story: varindia.com/news/insurance…

#Insurance #InsurTech #Varindia

🚨 Fraud alert! We detected a fake website (in the picture) pretending to be On Cloud but with no affiliation to the real Swiss brand @on_running. Our Switzerland-based service identifies scams like this worldwide — helping protect brands and customers. #FraudDetection

desenmascarame's tweet image. 🚨 Fraud alert! We detected a fake website (in the picture) pretending to be On Cloud but with no affiliation to the real Swiss brand @on_running.

Our Switzerland-based service identifies scams like this worldwide — helping protect brands and customers. 

 #FraudDetection

Smarter than the scam: how optimized AI is reshaping #fraud detection - buff.ly/nfk5wW1 #frauddetection #finance #banking #financialservices

Lance_Edelman's tweet image. Smarter than the scam: how optimized AI is reshaping #fraud detection - buff.ly/nfk5wW1 #frauddetection #finance #banking #financialservices

Fight fraud by comparing IP location with billing info. Our IP Location API helps you: - Detect mismatches - Flag suspicious orders - Prevent chargebacks Start securing your transactions today: IP Location API #FraudDetection #CyberSecurity #Ecommerce #FinTech #RiskManagement

ipgeolocationio's tweet image. Fight fraud by comparing IP location with billing info.
Our IP Location API helps you:
- Detect mismatches
- Flag suspicious orders
- Prevent chargebacks

Start securing your transactions today: IP Location API

#FraudDetection #CyberSecurity #Ecommerce #FinTech #RiskManagement

The number one #frauddetection method is formal whistleblowing report/hotline! This demonstrates the 𝗶𝗺𝗽𝗼𝗿𝘁𝗮𝗻𝗰𝗲 𝗼𝗳 𝗲𝗻𝗰𝗼𝘂𝗿𝗮𝗴𝗶𝗻𝗴 𝗮𝗻 𝗲𝘁𝗵𝗶𝗰𝗮𝗹, “𝘀𝗽𝗲𝗮𝗸-𝘂𝗽” 𝗰𝗼𝗿𝗽𝗼𝗿𝗮𝘁𝗲 𝗰𝘂𝗹𝘁𝘂𝗿𝗲, along with prompt and effective handling of the incoming…

KPMGIndia's tweet image. The number one #frauddetection method is formal whistleblowing report/hotline! This demonstrates the 𝗶𝗺𝗽𝗼𝗿𝘁𝗮𝗻𝗰𝗲 𝗼𝗳 𝗲𝗻𝗰𝗼𝘂𝗿𝗮𝗴𝗶𝗻𝗴 𝗮𝗻 𝗲𝘁𝗵𝗶𝗰𝗮𝗹, “𝘀𝗽𝗲𝗮𝗸-𝘂𝗽” 𝗰𝗼𝗿𝗽𝗼𝗿𝗮𝘁𝗲 𝗰𝘂𝗹𝘁𝘂𝗿𝗲, along with prompt and effective handling of the incoming…

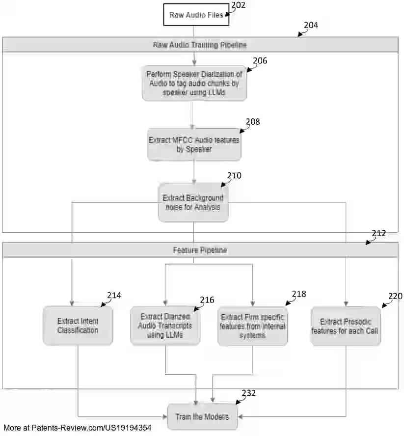
🔍 New patent application #US19194354A1 by #MorganStanley explores a system for #FraudDetection in contact centers. The method analyzes audio speech signals by splitting calls into foreground and background audio, using #MachineLearning models to detect anomalies, classify…

PatentPulse's tweet image. 🔍 New patent application #US19194354A1 by #MorganStanley explores a system for #FraudDetection in contact centers. 
  
The method analyzes audio speech signals by splitting calls into foreground and background audio, using #MachineLearning models to detect anomalies, classify…
PatentPulse's tweet image. 🔍 New patent application #US19194354A1 by #MorganStanley explores a system for #FraudDetection in contact centers. 
  
The method analyzes audio speech signals by splitting calls into foreground and background audio, using #MachineLearning models to detect anomalies, classify…
PatentPulse's tweet image. 🔍 New patent application #US19194354A1 by #MorganStanley explores a system for #FraudDetection in contact centers. 
  
The method analyzes audio speech signals by splitting calls into foreground and background audio, using #MachineLearning models to detect anomalies, classify…

Loading...

Something went wrong.


Something went wrong.


United States Trends