#multiattribute نتائج البحث

Those from #mkt310 should forever remember these things. #multiattribute

jsholden10's tweet image. Those from #mkt310 should forever remember these things. #multiattribute

➡Ayuno Nakahashi & Paul Cisek show that during value-based decisions, humans do not always use all reward-related information to make their choice, but instead can “jump the gun” using partial information. ow.ly/EwPy50Q2bwt #DecisionMaking #MultiAttribute #ResponseConflict

JNeurophysiol's tweet image. ➡Ayuno Nakahashi & Paul Cisek show that during value-based decisions, humans do not always use all reward-related information to make their choice, but instead can “jump the gun” using partial information.
ow.ly/EwPy50Q2bwt
#DecisionMaking #MultiAttribute #ResponseConflict

We extended our simulations to the #multiattribute #multialternative case where options are characterised with more than one dimension (e.g. price and quality). [9/n]

summerfieldlab's tweet image. We extended our simulations to the #multiattribute #multialternative case where options are characterised with more than one dimension (e.g. price and quality). [9/n]

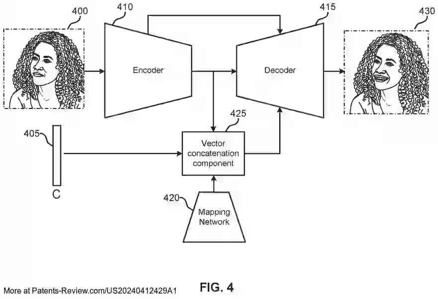
#Adobe's patent appl. #US20240412429A1 reveals a system for #MultiAttribute #FaceEditing using neural networks. It modifies facial attributes by encoding images, generating embeddings, and decoding them to achieve target values. #AI #ImageEditing $ADBE #PatentApplication

PatentPulse's tweet image. #Adobe's patent appl. #US20240412429A1 reveals a system for #MultiAttribute #FaceEditing using neural networks. It modifies facial attributes by encoding images, generating embeddings, and decoding them to achieve target values. #AI #ImageEditing $ADBE #PatentApplication
PatentPulse's tweet image. #Adobe's patent appl. #US20240412429A1 reveals a system for #MultiAttribute #FaceEditing using neural networks. It modifies facial attributes by encoding images, generating embeddings, and decoding them to achieve target values. #AI #ImageEditing $ADBE #PatentApplication
PatentPulse's tweet image. #Adobe's patent appl. #US20240412429A1 reveals a system for #MultiAttribute #FaceEditing using neural networks. It modifies facial attributes by encoding images, generating embeddings, and decoding them to achieve target values. #AI #ImageEditing $ADBE #PatentApplication

A #MultiAttribute model is a type of brand-based compensatory model. For example, you can offer discount codes for instant savings. You can also offer affiliate program where users receive points which they can exchange towards the cost of goods without spending extra money.


A Discrepancy-based Framework to Compare Robustness between #MultiAttribute Evaluations arxiv.org/pdf/1608.00840


Stop reinventing the wheel and become a game changer in the #electrification and #autonomous driving race. Discover how our #multiattribute solutions allow to #digitally explore and physically confirm #vehicleperformance. pbynd.co/6pyc4


#Adobe's patent appl. #US20240412429A1 reveals a system for #MultiAttribute #FaceEditing using neural networks. It modifies facial attributes by encoding images, generating embeddings, and decoding them to achieve target values. #AI #ImageEditing $ADBE #PatentApplication

PatentPulse's tweet image. #Adobe's patent appl. #US20240412429A1 reveals a system for #MultiAttribute #FaceEditing using neural networks. It modifies facial attributes by encoding images, generating embeddings, and decoding them to achieve target values. #AI #ImageEditing $ADBE #PatentApplication
PatentPulse's tweet image. #Adobe's patent appl. #US20240412429A1 reveals a system for #MultiAttribute #FaceEditing using neural networks. It modifies facial attributes by encoding images, generating embeddings, and decoding them to achieve target values. #AI #ImageEditing $ADBE #PatentApplication
PatentPulse's tweet image. #Adobe's patent appl. #US20240412429A1 reveals a system for #MultiAttribute #FaceEditing using neural networks. It modifies facial attributes by encoding images, generating embeddings, and decoding them to achieve target values. #AI #ImageEditing $ADBE #PatentApplication

➡Ayuno Nakahashi & Paul Cisek show that during value-based decisions, humans do not always use all reward-related information to make their choice, but instead can “jump the gun” using partial information. ow.ly/EwPy50Q2bwt #DecisionMaking #MultiAttribute #ResponseConflict

JNeurophysiol's tweet image. ➡Ayuno Nakahashi & Paul Cisek show that during value-based decisions, humans do not always use all reward-related information to make their choice, but instead can “jump the gun” using partial information.
ow.ly/EwPy50Q2bwt
#DecisionMaking #MultiAttribute #ResponseConflict

A #MultiAttribute model is a type of brand-based compensatory model. For example, you can offer discount codes for instant savings. You can also offer affiliate program where users receive points which they can exchange towards the cost of goods without spending extra money.


Stop reinventing the wheel and become a game changer in the #electrification and #autonomous driving race. Discover how our #multiattribute solutions allow to #digitally explore and physically confirm #vehicleperformance. pbynd.co/6pyc4


We extended our simulations to the #multiattribute #multialternative case where options are characterised with more than one dimension (e.g. price and quality). [9/n]

summerfieldlab's tweet image. We extended our simulations to the #multiattribute #multialternative case where options are characterised with more than one dimension (e.g. price and quality). [9/n]

Those from #mkt310 should forever remember these things. #multiattribute

jsholden10's tweet image. Those from #mkt310 should forever remember these things. #multiattribute

A Discrepancy-based Framework to Compare Robustness between #MultiAttribute Evaluations arxiv.org/pdf/1608.00840


Those from #mkt310 should forever remember these things. #multiattribute

jsholden10's tweet image. Those from #mkt310 should forever remember these things. #multiattribute

➡Ayuno Nakahashi & Paul Cisek show that during value-based decisions, humans do not always use all reward-related information to make their choice, but instead can “jump the gun” using partial information. ow.ly/EwPy50Q2bwt #DecisionMaking #MultiAttribute #ResponseConflict

JNeurophysiol's tweet image. ➡Ayuno Nakahashi & Paul Cisek show that during value-based decisions, humans do not always use all reward-related information to make their choice, but instead can “jump the gun” using partial information.
ow.ly/EwPy50Q2bwt
#DecisionMaking #MultiAttribute #ResponseConflict

#Adobe's patent appl. #US20240412429A1 reveals a system for #MultiAttribute #FaceEditing using neural networks. It modifies facial attributes by encoding images, generating embeddings, and decoding them to achieve target values. #AI #ImageEditing $ADBE #PatentApplication

PatentPulse's tweet image. #Adobe's patent appl. #US20240412429A1 reveals a system for #MultiAttribute #FaceEditing using neural networks. It modifies facial attributes by encoding images, generating embeddings, and decoding them to achieve target values. #AI #ImageEditing $ADBE #PatentApplication
PatentPulse's tweet image. #Adobe's patent appl. #US20240412429A1 reveals a system for #MultiAttribute #FaceEditing using neural networks. It modifies facial attributes by encoding images, generating embeddings, and decoding them to achieve target values. #AI #ImageEditing $ADBE #PatentApplication
PatentPulse's tweet image. #Adobe's patent appl. #US20240412429A1 reveals a system for #MultiAttribute #FaceEditing using neural networks. It modifies facial attributes by encoding images, generating embeddings, and decoding them to achieve target values. #AI #ImageEditing $ADBE #PatentApplication

We extended our simulations to the #multiattribute #multialternative case where options are characterised with more than one dimension (e.g. price and quality). [9/n]

summerfieldlab's tweet image. We extended our simulations to the #multiattribute #multialternative case where options are characterised with more than one dimension (e.g. price and quality). [9/n]

Loading...

Something went wrong.


Something went wrong.


United States Trends