appliedimageinc's profile picture. Providing world class precision imaged optical components and calibration standards for a wide array of applications since 1978. Located in Rochester, NY.

Applied Image Inc.

@appliedimageinc

Providing world class precision imaged optical components and calibration standards for a wide array of applications since 1978. Located in Rochester, NY.

How do you know where to start when you need precision-imaged optical components or calibration standards? Get these tips. zcu.io/4GCP #manufacturing #imagingtechnologies #photonics #metrology

appliedimageinc's tweet image. How do you know where to start when you need precision-imaged optical components or calibration standards? Get these tips. 
zcu.io/4GCP #manufacturing #imagingtechnologies #photonics #metrology

Resolution test charts test the ability of optical systems to produce images with fine detail. Our USAF-1951 Linear Direct Read Resolution Target (T-22) improves on a traditional: it's easier to scan and view, traditional bar/spacing; MIL-STD-150A. zcu.io/9B6n


AI-using pathology research platform confirmed a biomarker highly associated with the survival rate of liver cancer patients. #imaging #microscopy #wholeslideimagers #appliedimage #colorcalibrationslide 출처 : KBR(koreabiomed.com) zcu.io/Gdw9


We're honored to be a top pick on The Startup Pill's list of best engineering innovators. We collaborate with our customers on their #custom designs. Accuracy and dependability: CAD Design, Proprietary #Imaging, Coatings, and NIST Traceable #Calibration. zcu.io/CEcu


We're joining industry leaders at the Hannover Messe Expo to showcase technologies and ideas for factories, energy systems and supply chains of the future. Contact us directly if you're unable to attend. lnkd.in/eiJ5zHt #hannovermesse #photonics #imaging #calibration


Five small pieces of spacesuit material will be studied by SHERLOC, an instrument on Perseverance rover designed to break down and determine the composition of Mars soil samples. Applied Image onboard! #nasaperseverance #calibrationservices #photonics #marsrover

appliedimageinc's tweet image. Five small pieces of spacesuit material will be studied by SHERLOC, an instrument on Perseverance rover designed to break down and determine the composition of Mars soil samples. Applied Image onboard! 
#nasaperseverance #calibrationservices #photonics #marsrover

The #photonics industry is booming. The production of optics and photonics' core components employs more than one million people. We partner with colleges and high schools to offer #internships and co-ops in technical roles. #stem #newyorkphotonics #spie youtu.be/PphshKRbW-8

appliedimageinc's tweet card. Precision Imaging for the booming photonics industry

youtube.com

YouTube

Precision Imaging for the booming photonics industry


This photo was voted "Image of the Week" for Week 5 of the Perseverance rover Mars mission. The SHERLOC WATSON camera, located on the turret at the end of the rover's robotic arm captured the image. Applied Image targets onboard! zcu.io/7omh zcu.io/666Z

appliedimageinc's tweet image. This photo was voted  "Image of the Week" for Week 5 of the Perseverance rover Mars mission.
The SHERLOC WATSON camera, located on the turret at the end of the rover's robotic arm captured the image. Applied Image targets onboard! 
zcu.io/7omh zcu.io/666Z

We've developed high-quality products so engineers and image scientists can test image capture technology. Applications like camera and machine vision systems, confirmation of design specs or onboard system calibration. Contact us for custom designs. zcu.io/DUk4

appliedimageinc's tweet image. We've developed high-quality products so engineers and image scientists can test image capture technology. Applications like camera and machine vision systems, confirmation of design specs or onboard system calibration. Contact us for custom designs. zcu.io/DUk4

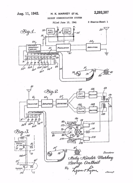
Hedy LaMarr, star of the silver screen, was granted a patent for frequency-hopping technology in 1941 that became a precursor to the secure wi-fi, GPS, and Bluetooth now used by billions of people around the world. #womenhistorymonth #engineers airandspace.si.edu/multimedia-gal….

appliedimageinc's tweet image. Hedy LaMarr, star of the silver screen, was granted a patent for frequency-hopping technology in 1941 that became a precursor to the secure wi-fi, GPS, and Bluetooth now used by billions of people around the world. #womenhistorymonth  #engineers 

airandspace.si.edu/multimedia-gal….

Applied Image is participating in SPIE Photonics West Digital Forum. Click the registration link and add us to your schedule for the event.zcu.io/6GSn For questions contact us at zcu.io/DgHK. Share this notice with anyone who may be interested.

appliedimageinc's tweet image. Applied Image is participating in SPIE Photonics West Digital Forum. Click the registration link and add us to your schedule for the event.zcu.io/6GSn   For questions contact us at zcu.io/DgHK.  Share this notice with anyone who may be interested.

Check out the work from these researchers who've developed the first compact 3D LiDAR imaging system that exceeds the performance and accuracy of most advanced, mechanical systems currently used. zcu.io/u28g #machinevision #imaging #measuringinstruments #photonics


#LiDAR technologies will go beyond our imagination as it unravels in the future. It's a technology behind the new-age of automation, from sensors to 3D printing, 3D scanning, modeling and smart cities, It's transforming the world. #machinevision #imaging #engineering #photonics


The Perseverance rover will be landing on Mars today. Tune in at 11:15 a.m. PST to watch live from mission control. zcu.io/IbNv #nasa #marsrover #mars2020

appliedimageinc's tweet image. The Perseverance rover will be landing on Mars today. Tune in at 11:15 a.m. PST to watch live from mission control.

zcu.io/IbNv #nasa #marsrover #mars2020

Just one more day! Nasa's Mars Rover Perseverance is scheduled to land on February 18, 2021 around 3:55 PM EST. Check out this video to see some of the incredible technology onboard. zcu.io/e8J3 #nasa #marsrover #perseverance #spaceexploration #mars2021

appliedimageinc's tweet image. Just one more day! Nasa's Mars Rover Perseverance is scheduled to land on February 18, 2021 around 3:55 PM EST. Check out this video to see some of the incredible technology onboard. 
zcu.io/e8J3 #nasa #marsrover #perseverance #spaceexploration #mars2021

Applied Image Inc is attending the SPIE Photonics West Digital Forum. Join us. Use the registration link here to schedule time with our technical sales team at this event to learn what's new and how we can support your success for 2021. #photonicswest zcu.io/1Xwj

appliedimageinc's tweet image. Applied Image Inc is attending the SPIE Photonics West Digital Forum. Join us. Use the registration link here to schedule time with our technical sales team at this event to learn what's new and how we can support your success for 2021. #photonicswest 
zcu.io/1Xwj

Mae C. Jemison, is the first African American female #astronaut. In 1992, she flew aboard the Endeavour. An engineer and physician, she was selected to serve for the mission, during which she orbited the Earth for eight days. zcu.io/FhtY #nasa #space #blackhistory

appliedimageinc's tweet image. Mae C. Jemison, is the first African American female #astronaut. In 1992, she flew aboard the Endeavour.  An engineer and physician, she was selected to serve for the mission, during which she orbited the Earth for eight days. zcu.io/FhtY #nasa #space  #blackhistory

Breakthroughs in #fluorescence imaging should excite everyone. #Imaging techniques "help surgeons visualize cancerous lesions in vivo, perform fluorescence-guided cancer surgery, in unprecedented ways, potentially lowering recurrence rates, "Avelas. zcu.io/YANr

appliedimageinc's tweet image. Breakthroughs in #fluorescence imaging should excite everyone. #Imaging techniques "help surgeons visualize cancerous lesions in vivo, perform fluorescence-guided cancer surgery, in unprecedented ways, potentially lowering recurrence rates, "Avelas. 
zcu.io/YANr

Mark your calendar. You don't want to miss the spacecraft hit the top of the Mars atmosphere at about three-and-a-half miles per second. Applied Image is excited to be along for the ride! zcu.io/pBFj


How are some of the latest innovations in imaging driving drug target identification and drug development forward? zcu.io/6f8x #microscopy #imagingtechnologies #medicalsciences #medicalresearch

appliedimageinc's tweet image. How are some of the latest innovations in imaging driving drug target identification and drug development forward?
zcu.io/6f8x  #microscopy #imagingtechnologies #medicalsciences #medicalresearch

Loading...

Something went wrong.


Something went wrong.