#graphicsprocessing ผลการค้นหา

The MediaTek 9300 is a high-performance chip designed for high-end smartphones and tablets. It utilizes an advanced process and architecture with excellent computational and graphics processing capabilities. #MediaTek9300 #Smartphones #GraphicsProcessing #Semiconductor #Software

UT56901751's tweet image. The MediaTek 9300 is a high-performance chip designed for high-end smartphones and tablets. It utilizes an advanced process and architecture with excellent computational and graphics processing capabilities.
#MediaTek9300 #Smartphones #GraphicsProcessing #Semiconductor #Software

#ARM's new patent application "GRAPHICS PROCESSING SYSTEMS" #US20240193720 enhances rendering by dividing output into tiles, using a tiling circuit & a primitive list prep circuit. This boosts efficiency in graphics processing. #GraphicsProcessing

PatentPulse's tweet image. #ARM's new patent application "GRAPHICS PROCESSING SYSTEMS" #US20240193720 enhances rendering by dividing output into tiles, using a tiling circuit & a primitive list prep circuit. This boosts efficiency in graphics processing. #GraphicsProcessing
PatentPulse's tweet image. #ARM's new patent application "GRAPHICS PROCESSING SYSTEMS" #US20240193720 enhances rendering by dividing output into tiles, using a tiling circuit & a primitive list prep circuit. This boosts efficiency in graphics processing. #GraphicsProcessing
PatentPulse's tweet image. #ARM's new patent application "GRAPHICS PROCESSING SYSTEMS" #US20240193720 enhances rendering by dividing output into tiles, using a tiling circuit & a primitive list prep circuit. This boosts efficiency in graphics processing. #GraphicsProcessing

the 8th International Conference on lmage and #GraphicsProcessing (lCIGP 2025) will be held during January 3-5, 2025 in Macau, China. The conference will bring together top researchers to discuss,exchange ideas and address issues in all aspects of #lmage and #GraphicsProcessing


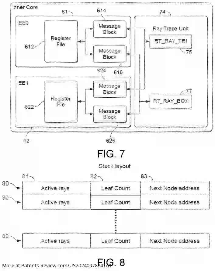
Revolutionizing ray tracing in graphics! #ARM's new patent application #US20240078741A1 optimizes node traversal in acceleration structures, enhancing efficiency. Say goodbye to random visits; it's all about strategic moves now. 🎮🖥️ #GraphicsProcessing #ARM #RayTracing

PatentPulse's tweet image. Revolutionizing ray tracing in graphics! #ARM's new patent application #US20240078741A1 optimizes node traversal in acceleration structures, enhancing efficiency. Say goodbye to random visits; it's all about strategic moves now. 🎮🖥️ #GraphicsProcessing #ARM #RayTracing
PatentPulse's tweet image. Revolutionizing ray tracing in graphics! #ARM's new patent application #US20240078741A1 optimizes node traversal in acceleration structures, enhancing efficiency. Say goodbye to random visits; it's all about strategic moves now. 🎮🖥️ #GraphicsProcessing #ARM #RayTracing
PatentPulse's tweet image. Revolutionizing ray tracing in graphics! #ARM's new patent application #US20240078741A1 optimizes node traversal in acceleration structures, enhancing efficiency. Say goodbye to random visits; it's all about strategic moves now. 🎮🖥️ #GraphicsProcessing #ARM #RayTracing

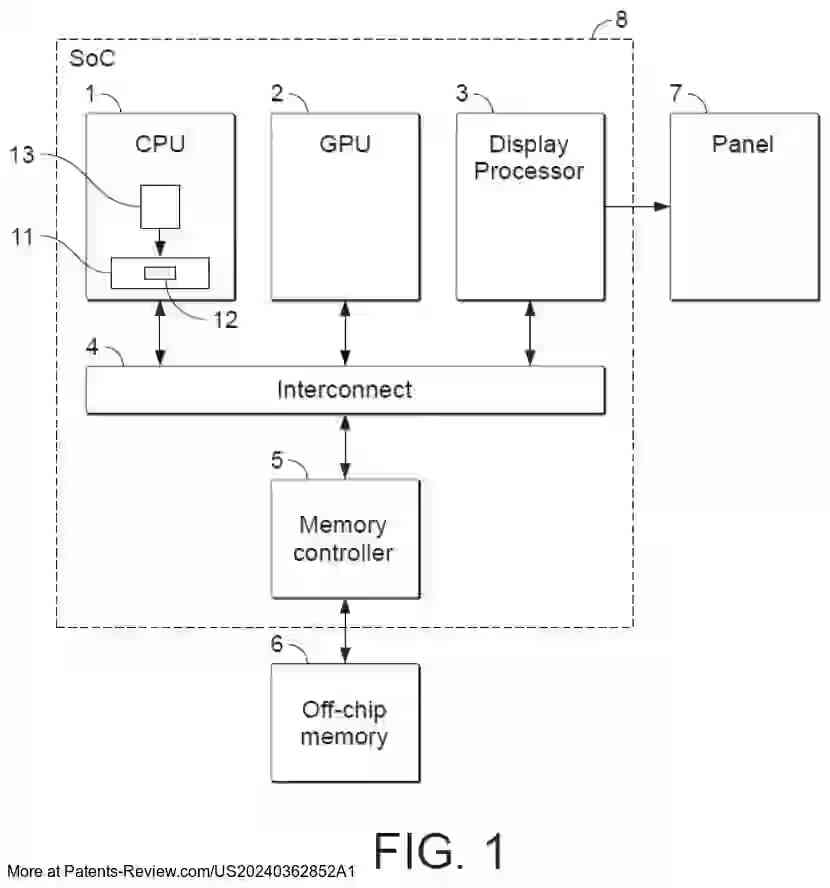
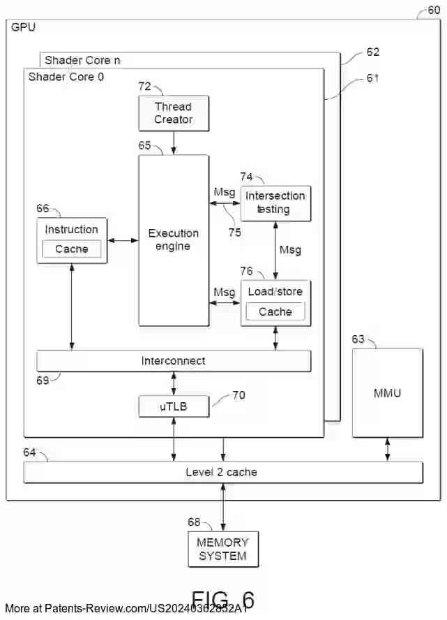
New patent appl. #US20240362852A1 by #ARMLimited explores #GraphicsProcessing with a focus on #raytracing acceleration. It details instructions for efficient traversal of data structures, enhancing intersection testing for rays. A promising step in #RayTracing tech!

PatentPulse's tweet image. New patent appl. #US20240362852A1 by #ARMLimited explores #GraphicsProcessing with a focus on #raytracing acceleration. It details instructions for efficient traversal of data structures, enhancing intersection testing for rays. A promising step in #RayTracing tech!
PatentPulse's tweet image. New patent appl. #US20240362852A1 by #ARMLimited explores #GraphicsProcessing with a focus on #raytracing acceleration. It details instructions for efficient traversal of data structures, enhancing intersection testing for rays. A promising step in #RayTracing tech!
PatentPulse's tweet image. New patent appl. #US20240362852A1 by #ARMLimited explores #GraphicsProcessing with a focus on #raytracing acceleration. It details instructions for efficient traversal of data structures, enhancing intersection testing for rays. A promising step in #RayTracing tech!
PatentPulse's tweet image. New patent appl. #US20240362852A1 by #ARMLimited explores #GraphicsProcessing with a focus on #raytracing acceleration. It details instructions for efficient traversal of data structures, enhancing intersection testing for rays. A promising step in #RayTracing tech!

Nvidia briefly overtakes Apple as world's most valuable company, driven by AI demand. Its GPUs are now dominant in AI computing. Big economic downturn would be a concern. #ArtificialIntelligence #GraphicsProcessing #TechMarket

MrTechKingNews's tweet image. Nvidia briefly overtakes Apple as world's most valuable company, driven by AI demand. Its GPUs are now dominant in AI computing. Big economic downturn would be a concern. #ArtificialIntelligence #GraphicsProcessing #TechMarket

#NVIDIA🌟 impressive product demonstration highlighted the superiority of GPUs  💻 over CPUs 🖥️ in #GraphicsProcessing #TechInnovation #AI #MachineLearning #DeepLearning #TechShowcase #TechnologyTrends $NVDA


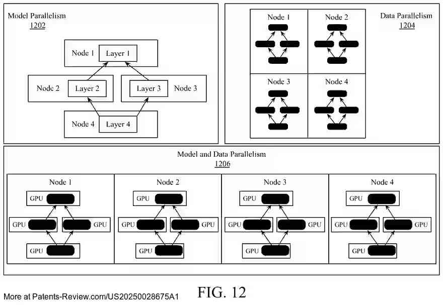
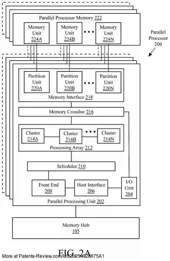
New patent application #US20250028675 by #Intel outlines innovative methods for deterministic scheduling across multiple GPUs. It features uniform latency, thermally aware workload scheduling, and efficient memory distribution. A game-changer for #GraphicsProcessing $INTC

PatentPulse's tweet image. New patent application #US20250028675 by #Intel  outlines innovative methods for deterministic scheduling across multiple GPUs. It features uniform latency, thermally aware workload scheduling, and efficient memory distribution. A game-changer for #GraphicsProcessing $INTC
PatentPulse's tweet image. New patent application #US20250028675 by #Intel  outlines innovative methods for deterministic scheduling across multiple GPUs. It features uniform latency, thermally aware workload scheduling, and efficient memory distribution. A game-changer for #GraphicsProcessing $INTC
PatentPulse's tweet image. New patent application #US20250028675 by #Intel  outlines innovative methods for deterministic scheduling across multiple GPUs. It features uniform latency, thermally aware workload scheduling, and efficient memory distribution. A game-changer for #GraphicsProcessing $INTC

#Intel's patent application #US20240394956A1 reveals an apparatus for efficient #GraphicsProcessing with #RayTracing. It includes execution hardware logic, a tiled resource manager, and a hash ID system to optimize resource allocation. #Intel $INTC

PatentPulse's tweet image. #Intel's patent application #US20240394956A1 reveals an apparatus for efficient #GraphicsProcessing with #RayTracing. It includes execution hardware logic, a tiled resource manager, and a hash ID system to optimize resource allocation. #Intel $INTC
PatentPulse's tweet image. #Intel's patent application #US20240394956A1 reveals an apparatus for efficient #GraphicsProcessing with #RayTracing. It includes execution hardware logic, a tiled resource manager, and a hash ID system to optimize resource allocation. #Intel $INTC
PatentPulse's tweet image. #Intel's patent application #US20240394956A1 reveals an apparatus for efficient #GraphicsProcessing with #RayTracing. It includes execution hardware logic, a tiled resource manager, and a hash ID system to optimize resource allocation. #Intel $INTC

Nvidia: I'm so impressed with Nvidia's cutting-edge GPUs! They make it possible to do amazing things with deep learning and AI. #Nvidia #graphicsprocessing #AI #deeplearning


The graphics processing unit market is anticipated to surpass USD 400 billion revenue by 2032, witnessing 25% CAGR. Find more insights @ bit.ly/3kF9pR1 #graphicsprocessingunit #graphicsprocessing #bigdatatechnology #electronicsandmedia #gmi

GMI_US's tweet image. The graphics processing unit market is anticipated to surpass USD 400 billion revenue by 2032, witnessing 25% CAGR. Find more insights @ bit.ly/3kF9pR1
#graphicsprocessingunit #graphicsprocessing #bigdatatechnology #electronicsandmedia #gmi

#WebGPU #GraphicsProcessing #GPU #OpenGL #DirectX #GPUProgramming Learn about WebGPU, an open web standard for accessing the power of GPUs in the browser for graphics processing. It provides a low surma.dev/things/webgpu/


ไม่พบผลลัพธ์สำหรับ "#graphicsprocessing"
ไม่พบผลลัพธ์สำหรับ "#graphicsprocessing"

This is what happens when @Peter_shirley's ray tracer series meets @j_bikker's BVH series. Super happy with how my CPU ray tracer journey turned out! #GraphicsProcessing #RayTracing More below: 1/3

TheSenPie's tweet image. This is what happens when @Peter_shirley's ray tracer series meets @j_bikker's BVH series. Super happy with how my CPU ray tracer journey turned out!
#GraphicsProcessing #RayTracing

More below: 1/3

Let's take a look at #GraphicsProcessing and see just how far it's come! 👉 mou.sr/3RRKJQs via @ElectronicDesgn

MouserElecEU's tweet image. Let's take a look at #GraphicsProcessing and see just how far it's come! 👉 mou.sr/3RRKJQs via @ElectronicDesgn

The MediaTek 9300 is a high-performance chip designed for high-end smartphones and tablets. It utilizes an advanced process and architecture with excellent computational and graphics processing capabilities. #MediaTek9300 #Smartphones #GraphicsProcessing #Semiconductor #Software

UT56901751's tweet image. The MediaTek 9300 is a high-performance chip designed for high-end smartphones and tablets. It utilizes an advanced process and architecture with excellent computational and graphics processing capabilities.
#MediaTek9300 #Smartphones #GraphicsProcessing #Semiconductor #Software

#ARM's new patent application "GRAPHICS PROCESSING SYSTEMS" #US20240193720 enhances rendering by dividing output into tiles, using a tiling circuit & a primitive list prep circuit. This boosts efficiency in graphics processing. #GraphicsProcessing

PatentPulse's tweet image. #ARM's new patent application "GRAPHICS PROCESSING SYSTEMS" #US20240193720 enhances rendering by dividing output into tiles, using a tiling circuit & a primitive list prep circuit. This boosts efficiency in graphics processing. #GraphicsProcessing
PatentPulse's tweet image. #ARM's new patent application "GRAPHICS PROCESSING SYSTEMS" #US20240193720 enhances rendering by dividing output into tiles, using a tiling circuit & a primitive list prep circuit. This boosts efficiency in graphics processing. #GraphicsProcessing
PatentPulse's tweet image. #ARM's new patent application "GRAPHICS PROCESSING SYSTEMS" #US20240193720 enhances rendering by dividing output into tiles, using a tiling circuit & a primitive list prep circuit. This boosts efficiency in graphics processing. #GraphicsProcessing

The graphics processing unit market is anticipated to surpass USD 400 billion revenue by 2032, witnessing 25% CAGR. Find more insights @ bit.ly/3kF9pR1 #graphicsprocessingunit #graphicsprocessing #bigdatatechnology #electronicsandmedia #gmi

GMI_US's tweet image. The graphics processing unit market is anticipated to surpass USD 400 billion revenue by 2032, witnessing 25% CAGR. Find more insights @ bit.ly/3kF9pR1
#graphicsprocessingunit #graphicsprocessing #bigdatatechnology #electronicsandmedia #gmi

Revolutionizing ray tracing in graphics! #ARM's new patent application #US20240078741A1 optimizes node traversal in acceleration structures, enhancing efficiency. Say goodbye to random visits; it's all about strategic moves now. 🎮🖥️ #GraphicsProcessing #ARM #RayTracing

PatentPulse's tweet image. Revolutionizing ray tracing in graphics! #ARM's new patent application #US20240078741A1 optimizes node traversal in acceleration structures, enhancing efficiency. Say goodbye to random visits; it's all about strategic moves now. 🎮🖥️ #GraphicsProcessing #ARM #RayTracing
PatentPulse's tweet image. Revolutionizing ray tracing in graphics! #ARM's new patent application #US20240078741A1 optimizes node traversal in acceleration structures, enhancing efficiency. Say goodbye to random visits; it's all about strategic moves now. 🎮🖥️ #GraphicsProcessing #ARM #RayTracing
PatentPulse's tweet image. Revolutionizing ray tracing in graphics! #ARM's new patent application #US20240078741A1 optimizes node traversal in acceleration structures, enhancing efficiency. Say goodbye to random visits; it's all about strategic moves now. 🎮🖥️ #GraphicsProcessing #ARM #RayTracing

New patent appl. #US20240362852A1 by #ARMLimited explores #GraphicsProcessing with a focus on #raytracing acceleration. It details instructions for efficient traversal of data structures, enhancing intersection testing for rays. A promising step in #RayTracing tech!

PatentPulse's tweet image. New patent appl. #US20240362852A1 by #ARMLimited explores #GraphicsProcessing with a focus on #raytracing acceleration. It details instructions for efficient traversal of data structures, enhancing intersection testing for rays. A promising step in #RayTracing tech!
PatentPulse's tweet image. New patent appl. #US20240362852A1 by #ARMLimited explores #GraphicsProcessing with a focus on #raytracing acceleration. It details instructions for efficient traversal of data structures, enhancing intersection testing for rays. A promising step in #RayTracing tech!
PatentPulse's tweet image. New patent appl. #US20240362852A1 by #ARMLimited explores #GraphicsProcessing with a focus on #raytracing acceleration. It details instructions for efficient traversal of data structures, enhancing intersection testing for rays. A promising step in #RayTracing tech!
PatentPulse's tweet image. New patent appl. #US20240362852A1 by #ARMLimited explores #GraphicsProcessing with a focus on #raytracing acceleration. It details instructions for efficient traversal of data structures, enhancing intersection testing for rays. A promising step in #RayTracing tech!

#Intel's patent application #US20240394956A1 reveals an apparatus for efficient #GraphicsProcessing with #RayTracing. It includes execution hardware logic, a tiled resource manager, and a hash ID system to optimize resource allocation. #Intel $INTC

PatentPulse's tweet image. #Intel's patent application #US20240394956A1 reveals an apparatus for efficient #GraphicsProcessing with #RayTracing. It includes execution hardware logic, a tiled resource manager, and a hash ID system to optimize resource allocation. #Intel $INTC
PatentPulse's tweet image. #Intel's patent application #US20240394956A1 reveals an apparatus for efficient #GraphicsProcessing with #RayTracing. It includes execution hardware logic, a tiled resource manager, and a hash ID system to optimize resource allocation. #Intel $INTC
PatentPulse's tweet image. #Intel's patent application #US20240394956A1 reveals an apparatus for efficient #GraphicsProcessing with #RayTracing. It includes execution hardware logic, a tiled resource manager, and a hash ID system to optimize resource allocation. #Intel $INTC

New patent application #US20250028675 by #Intel outlines innovative methods for deterministic scheduling across multiple GPUs. It features uniform latency, thermally aware workload scheduling, and efficient memory distribution. A game-changer for #GraphicsProcessing $INTC

PatentPulse's tweet image. New patent application #US20250028675 by #Intel  outlines innovative methods for deterministic scheduling across multiple GPUs. It features uniform latency, thermally aware workload scheduling, and efficient memory distribution. A game-changer for #GraphicsProcessing $INTC
PatentPulse's tweet image. New patent application #US20250028675 by #Intel  outlines innovative methods for deterministic scheduling across multiple GPUs. It features uniform latency, thermally aware workload scheduling, and efficient memory distribution. A game-changer for #GraphicsProcessing $INTC
PatentPulse's tweet image. New patent application #US20250028675 by #Intel  outlines innovative methods for deterministic scheduling across multiple GPUs. It features uniform latency, thermally aware workload scheduling, and efficient memory distribution. A game-changer for #GraphicsProcessing $INTC

Nvidia briefly overtakes Apple as world's most valuable company, driven by AI demand. Its GPUs are now dominant in AI computing. Big economic downturn would be a concern. #ArtificialIntelligence #GraphicsProcessing #TechMarket

MrTechKingNews's tweet image. Nvidia briefly overtakes Apple as world's most valuable company, driven by AI demand. Its GPUs are now dominant in AI computing. Big economic downturn would be a concern. #ArtificialIntelligence #GraphicsProcessing #TechMarket

Access the latest GPU innovations on premises for #graphicsprocessing, audio & video rendering, and running #media applications w/ real-time streaming applications that require #lowlatency by running those applications at the edge. #hybridcloud #5G yip.sh/30e85f81

ecloudms's tweet image. Access the latest GPU innovations on premises for #graphicsprocessing, audio & video rendering, and running #media applications w/ real-time streaming applications that require #lowlatency by running those applications at the edge. #hybridcloud #5G  yip.sh/30e85f81

Loading...

Something went wrong.


Something went wrong.


United States Trends